Котел Roda BS-08 - инструкция пользователя по применению, эксплуатации и установке на русском языке. Мы надеемся, она поможет вам решить возникшие у вас вопросы при эксплуатации техники.
Если остались вопросы, задайте их в комментариях после инструкции.
"Загружаем инструкцию", означает, что нужно подождать пока файл загрузится и можно будет его читать онлайн. Некоторые инструкции очень большие и время их появления зависит от вашей скорости интернета.

13
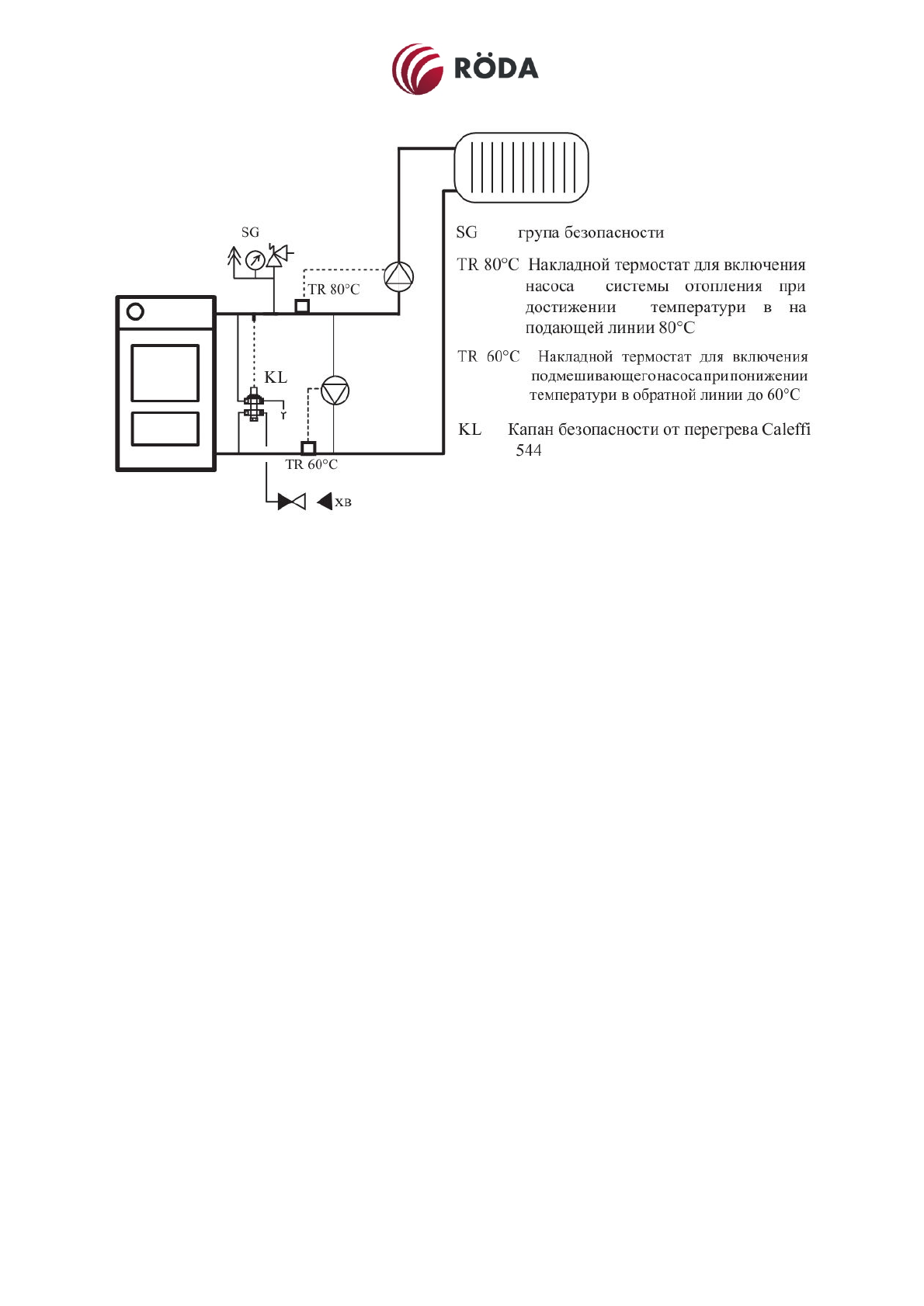
Рисунок 8 – Схематическое изображение системы с принудительной циркуляцией.
Размещение котла
Котёл RODA Brenner SUN разрешается устанавливать как в нежилых (например, котельная, подвал,
коридор, ...), так и в жилых помещениях. В помещение, в котором установлен котёл, нужно
обеспечить постоянный приток воздуха, необходимого для процесса горения. Этот воздух не
должен содержать галогеноуглеводородов и паров агрессивных веществ, а также иметь высокую
влажность и запылённость. Кроме того, помещение должно быть защищено от мороза, воздух в
нём должен иметь температуру от +5°C до +35°C и относительную влажность до 80 %. Учитывая
требования к пожарной безопасности, котёл нужно устанавливать: на пол из негорючего материала
на негорючую подкладку, превышающую горизонтальную проекцию котла по сторонам на 20 мм и
только на глубину корпуса котла - если котёл устанавливается в подвале, рекомендуется
устанавливать его на цоколь, высотой не менее 50 мм до середины подставки Перед котлом, исходя
из условий удобства монтажа и обслуживания, необходимо оставить свободное пространство не
менее 600 мм. Минимальное расстояние между задней частью котла и стеной также составляет
600 мм, кроме того, хотя бы с одной боковой стороны котла необходимо оставить свободное
пространство для доступа к его задней части не менее 600 мм. Не допускается хранение топлива
непосредственно за котлом или рядом с ним на расстоянии менее 800 мм. Нельзя хранить топливо и
между двумя котлами в котельной. Рекомендуется выдерживать расстояние между котлом и
топливом не менее 800 мм (рис. 9) или хранить топливо в другом помещении.
Планировка котельной
На рисунке 10 указаны минимальные расстояния, которые необходимо выдерживать в целях
безопасной эксплуатации котельной и при манипуляции с котлом, например, при его чистке или при
заполнении топливом. Расстояние между передней стороной котла и стеной должно равняться, по
крайней мере, длине котла L плюс 500 мм. Минимальное расстояние между боковой или задней













