Котел Roda BC-10 - инструкция пользователя по применению, эксплуатации и установке на русском языке. Мы надеемся, она поможет вам решить возникшие у вас вопросы при эксплуатации техники.
Если остались вопросы, задайте их в комментариях после инструкции.
"Загружаем инструкцию", означает, что нужно подождать пока файл загрузится и можно будет его читать онлайн. Некоторые инструкции очень большие и время их появления зависит от вашей скорости интернета.

13
у ок –
е т е кое о
е е
те
п
уд тел о
кул
е .
еще е котл
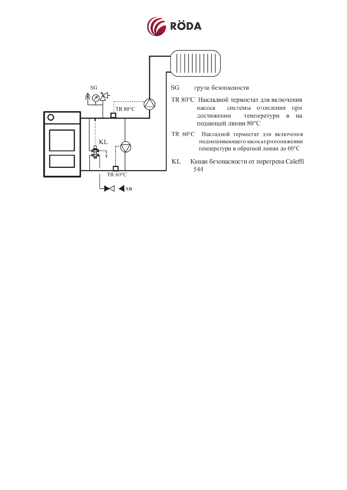
Котёл RODA Brenner Classic
е ет у т
л
т к к е л
п
е ,
котел
,
под л, ко до т.д. , т к л по е е
. по е е е, кото о у т о ле котёл,
у о о е пе т по то
п ток о ду , ео од о о дл п о е
о е
. Этот о ду е
дол е оде
т ло е оу ле одо одо п о
е
е е т , т к е ет
оку
л
о т п лё о т . К о е то о, по е е е дол о т
е о от о о , о ду
ё дол е ет те пе ту у от + °C до + °C от о тел у л
о т до %.
т
т е о
к по
о е оп
о т , котёл у о у т
л
т : пол е о
е о те
л
е о
у подкл дку, п е
у о
о т л у п оек
котл по то о
тол ко лу
у ко пу котл
-
е л котёл у т
л
ет под ле, еко е дует
у т
л
т е о окол ,
ото е е ее
до е ед
под т к
.
е ед
котло ,
од
у ло
удо т о т
о лу
, ео од о о т
т о од ое п о т
т о е
е ее
.
л ое
то
е е ду д е
т котл те о т к е о т л ет
, к о е то о, от од о око о то о
котл ео од о о т
т о од ое
п о т
т о дл до туп к е о д е
т е е ее
. е допу к ет
е е топл
епо ед т е о котло л до
то
е ее
. ел
т топл о
е ду д у котл
котел о . еко е дует де
т
то
е е ду котло
топл о е е ее
. л
т топл о д у о по е е
.
л
о к котел о
у ке ук
л
е
то
, кото е ео од о де
т ел
е оп
о к плу т
котел о п
пул
котло , п
е , п е о
тке л п
пол е
топл о .
то
е е ду пе ед е то о о котл те о дол о
т
, по
к
е е е, дл е котл э пл
.
л ое
то
е е ду око о л д е