Котел Protherm GEPARD 11 MTV - инструкция пользователя по применению, эксплуатации и установке на русском языке. Мы надеемся, она поможет вам решить возникшие у вас вопросы при эксплуатации техники.
Если остались вопросы, задайте их в комментариях после инструкции.
"Загружаем инструкцию", означает, что нужно подождать пока файл загрузится и можно будет его читать онлайн. Некоторые инструкции очень большие и время их появления зависит от вашей скорости интернета.

0020125346_00 02/11
- 12 -
ПРАВИЛА
ПОЛЬЗОВАНИЯ
ОБОРУДОВАНИЕМ
Предупреждение
:
Подключение
комнатного
регулятора
и
датчика
наружной
температуры
может
проводить
только
аттестованный
фирмой
Protherm
специалист
специализированной
организации
.
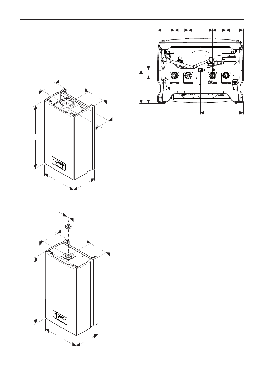
Присоединительные
размеры
котла
8.5
311
410
742
179
205
Ø125
311
410
Ø39
742
184
205
82
65
116
65
82
205
26
160
134
Присоединие
котла
к
системам
8.6
отопления
,
ГВС
и
газоснабжения
Присоединительные
патрубки
котла
не
должны
подвергаться
нагрузке
со
стороны
труб
системы
отопления
,
системы
горячего
водоснабжения
или
газоснабжения
.
Данное
условие
предполагает
точное
соблюдение
размеров
окончаний
всех
подсоединяемых
труб
,
как
по
высоте
,
так
и
по
расстоянию
от
стены
и
взаимному
расположению
отдельных
вводов
и
выводов
по
отношению
друг
к
другу
.
Подключение
котла
к
системе
отопления
рекомендуется
выполнять
таким
образом
,
чтобы
в
случае
необходимости
ремонта
котла
теплоноситель
можно
было
слить
только
из
него
.
Для
облегчения
присоединения
котла
к
системе
отопления
в
труднодоступных
местах
возможно
использовать
гибкие
присоединительные
трубы
,
специально
предназначенных
для
подобных
целей
.
Гибкие
присоединительные
трубы
должны
иметь
минимальную
длину
и
защищены
от
механической
нагрузки
.
В
случае
износа
их
необходимо
заменить
на
новые
.
Примечание
:
Изготовитель
рекомендует
установить
на
входе
в
котел
дополнительный
фильтр
хозяйственной
воды
.
