Котел WERTRUS ECO 24FF - инструкция пользователя по применению, эксплуатации и установке на русском языке. Мы надеемся, она поможет вам решить возникшие у вас вопросы при эксплуатации техники.
Если остались вопросы, задайте их в комментариях после инструкции.
"Загружаем инструкцию", означает, что нужно подождать пока файл загрузится и можно будет его читать онлайн. Некоторые инструкции очень большие и время их появления зависит от вашей скорости интернета.

18
Гидравлическая схема котла
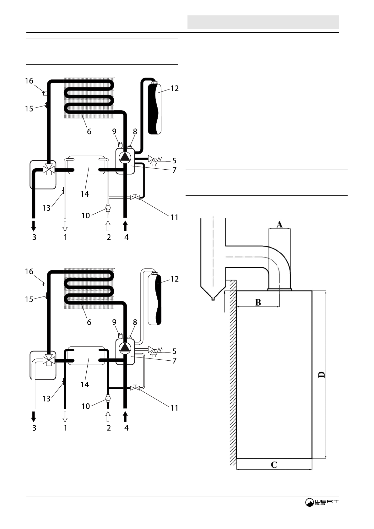
8 Гидравлическая схема котла
Рис. 22. Гидравлическая схема отопи-тельной системы (контур
циркуляции отопительной воды).
Рис. 23. Гидравлическая схема отопи-тельной системы (контур
циркуляции горячего водоснабжения).
1. Выход горячей воды (ГВС)
2. Подача холодной воды (ХВС)
3. Выход ОВ (подача)
4. Вход ОВ (обратка)
5. Клапан предохранительный (сбросной)
6. Теплообменник ОВ
7. Насос циркуляционный
8. Воздухоотводчик
9. Датчик давления ОВ
10. Датчик протока
11. Кран подпитки
12. Расширительный бак
13. Датчик температуры воды в системе ГВС
14. Теплообменник ГВС
15. Датчик температуры ОВ
16. Предохранительный термостат (датчик по перегреву ОВ)
9 Габаритные и присоединительные размеры
Характеристики
Остались вопросы?Не нашли свой ответ в руководстве или возникли другие проблемы? Задайте свой вопрос в форме ниже с подробным описанием вашей ситуации, чтобы другие люди и специалисты смогли дать на него ответ. Если вы знаете как решить проблему другого человека, пожалуйста, подскажите ему :)














Ручка регулировки температуры отопления в любом положении, котёл греет на максимум, даже в положении о, отключено. Лампочка также горит, показывая что отопление работает