Котел ИНТОИС Комфорт Н 7.5 кВт 204 - инструкция пользователя по применению, эксплуатации и установке на русском языке. Мы надеемся, она поможет вам решить возникшие у вас вопросы при эксплуатации техники.
Если остались вопросы, задайте их в комментариях после инструкции.
"Загружаем инструкцию", означает, что нужно подождать пока файл загрузится и можно будет его читать онлайн. Некоторые инструкции очень большие и время их появления зависит от вашей скорости интернета.

- 13 -
Руководство пользователя
АЭК «INTOIS COMFORT», «INTOIS COMFORT H»
ТРЕБОВАНИЯ К МОНТАЖУ
И ПУСКОНАЛАДОЧНЫМ РАБОТАМ
Подготовка оборудования
!!! ВНИМАНИЕ !!!
Перед началом монтажа АЭК в отопительную систему необходимо произвести протяжку ТЭН и
проверить надежность крепления кабелей в АЭК
Установка и порядок подключения АЭК
АЭК крепится к стене через отверстия которые находятся на задней крышке, выходным патрубком вверх. Не допускается
установка группы безопасности над АЭК (во избежание попадания аварийного сброса теплоносителя на АЭК).
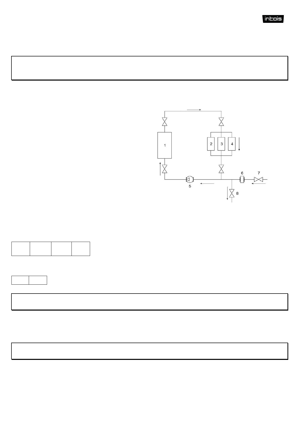
Рекомендуемая схема подключения АЭК к системе теплообеспечения приведена ниже. (рис. 3)
1.
АЭК
2.
3.4. Теплообменники (радиаторы)
5.
Циркуляционный насос
6.
Фильтр очистки воды
7.
Кран заполнения системы
8.
Сливной кран
9.
Расширительный бак
10.
Группа безопасности
Подключение АЭК к электросети производится с помощью кабеля, сечением соответствующим в таблице технические параметры
п.7,8,9 настоящего руководства. К колодке поз.8 (рис.2.1 и рис.2.2).
Кабель рабочей (фазной) проводки закрепить к выводам A, B, C для трехфазной сети.
Нулевой кабель к выводу N.
N A B C
Кабель рабочей (фазной) проводки закрепить к выводу А для однофазной сети
N
A
N A
!!! ВНИМАНИЕ !!!
Наличие Дифавтомата с стационарной проводке обязательно.
Заземляющий кабель подсоединить к болту поз.9 (рис.2.1и рис.2.2), предварительно закрепив на нем специальный наконечник из
комплекта поставки. Для заземления следует применять кабель того же сечения, что и фазный.
Датчик температуры помещения крепится на стене, в защищённом от солнечного света, сквозняков, источников тепла месте, на
высоте около двух метров от пола.
Для подключения датчика помещения используется провод, входящий в комплект поставки. Подводящие провода датчиков
температуры подключаются в соответствующие клеммы платы контроллера поз.13 (рис.2.1 и рис. 2.2).
!!! ВНИМАНИЕ !!!
Применение других проводов, а также их удлинение не допускается.
N
A
B
C
Содержание
- 2 СОДЕРЖАНИЕ; Внимание; Перед пуском Автоматического Электрического Котла; Данная процедура необходима для устранения люфта ТЭН, могущего
- 3 Талон на Установку .........................................................20
- 4 Интоис Комфорт; Адрес изготовителя:
- 5 «Интоис
- 6 «Интоис Комфорт» мощностью 21-54кВт и
- 7 ТРЕБОВАНИЯ БЕЗОПАСНОСТИ; Требования по установке и эксплуатации; специальных сред – по ГОСТ 24682.; Без заземления АЭК НЕ ВКЛЮЧАТЬ!; Требования к системе отопления; Автономная система отопления должна содержать:
- 11 «Интоис Комфорт»
- 12 «Интоис Комфорт Н» с циркуляционным насосом
- 13 ТРЕБОВАНИЯ К МОНТАЖУ; Установка и порядок подключения АЭК; N A B C; Наличие Дифавтомата с стационарной проводке обязательно.; высоте около двух метров от пола.; Применение других проводов, а также их удлинение не допускается.
- 14 в соответствии с ПУЭ.; Требования к теплоносителю; насоса закрыть переднюю крышку и закрепить её винтами.
- 15 ПОРЯДОК ВКЛЮЧЕНИЯ; Регуляторы задания температуры котла, помещения и ГВС; Включение и выключение электрокотла Интоис Комфорт
- 16 ПРАВИЛА ЭКСПЛУАТАЦИИ И ТЕХНИЧЕСКОЕ ОБСЛУЖИВАНИЕ
- 17 ГАРАНТИЙНЫЕ ОБЯЗАТЕЛЬСТВА
- 18 ГАРАНТИЙНЫЙ ТАЛОН; Автоматический электронагревательный котел Интоис Комфорт; ПЕЧАТЬ
- 19 ПАМЯТКА ПОКУПАТЕЛЮ; АЭК не подлежит бесплатному ремонту в следующих случаях:
- 20 Талон на установку; М.П.
- 21 Техническое обслуживание
- 22 Выполненные работы; ООО «Интоис Оптима»; Выполненные работы; ООО «Интоис Оптима»; Выполненные работы; ООО «Интоис Оптима»; Выполненные работы













