Котел Эван С1 — 30 - инструкция пользователя по применению, эксплуатации и установке на русском языке. Мы надеемся, она поможет вам решить возникшие у вас вопросы при эксплуатации техники.
Если остались вопросы, задайте их в комментариях после инструкции.
"Загружаем инструкцию", означает, что нужно подождать пока файл загрузится и можно будет его читать онлайн. Некоторые инструкции очень большие и время их появления зависит от вашей скорости интернета.

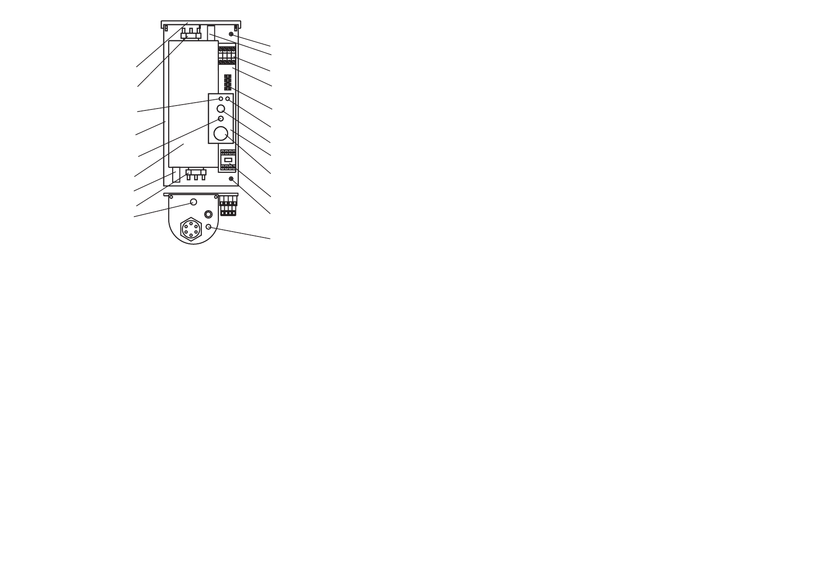
- ñèãíàëüíîé ëàìïû “ÍÀÃÐÅ” (14);
-
ð ó ÷ ê è
ò å ð ì î ð å ã ó ë ÿ ò î ð à
“ Ò Å Ì Ï Å ÐÀÒ Ó ÐÀ ”
( 1 2 ) ,
îáåñïå÷èâàþùåé ïëàâíóþ ðåãóëèðîâêó íàãðåâà;
- ïðåäîõðàíèòåëÿ öåïè óïðàâëåíèÿ (15);
- ïðåäîõðàíèòåëÿ öèðêóëÿöèîííîãî íàñîñà (16)
4.2. Ïðèáîðû ÝÂÀÍ-Ñ1 -4; -5; -6; -7,5 -9; -12; -15 èìåþò îäèí
áëîê (19) òðóá÷àòûõ ýëåêòðîíàãðåâàòåëåé (ÒÝÍ), à ÝÂÀÍ-Ñ1 -18;
-24; -30 - äâà.
4 . 3 .
Ï ð è á î ð û
ì î í ò è ð ó þ ò ñ ÿ
í à
ï ð å ä â à ð è ò å ë ü í î
óñòàíàâëèâàåìóþ çàêëàäíóþ (17) èç êîìïëåêòà ïîñòàâêè.
4.4. Äëÿ óïëîòíåíèÿ ââîäà ïèòàþùåãî êàáåëÿ ïðèáîð èìååò
ãåðìîââîä (óïëîòíèòåëüíóþ ìàíæåòó).
4.5. Ïðèíöèï äåéñòâèÿ ïðèáîðîâ îñíîâàí íà
ïðåîáðàçîâàíèè ýëåêòðîýíåðãèè â òåïëîâóþ ÒÝÍàìè. Ïðè ýòîì
âîäà, ïðîòåêàþùàÿ ÷åðåç ïðèáîð, îìûâàåò ÒÝÍû è
íàãðåâàåòñÿ.
4.6. Ðåæèì ðàáîòû âîäîíàãðåâàòåëÿ - ïðîäîëæèòåëüíûé.
- 4 -
- 17 -
11.7. Ïîñòàâùèê: “Òîðãîâûé Äîì ÝÂÀÍ”, 603024, ã. Í.Íîâãîðîä, ïë.
Ñåííàÿ, 7 òåë. (8312) 19-57-06, 19-57-08.
11.8. Àäðåñà ãàðàíòèéíûõ ìàñòåðñêèõ:
1. 603057, ã. Íèæíèé Íîâãîðîä, ïð-êò Ãàãàðèíà, 50, ÎÎÎ
“ÝÂÀÍ-ñåðâèñ” òåë. (8312) 64-97-29.
2. ã. Ìîñêâà, óë. Íîâîçàâîäñêàÿ, 21, (ñò. ìåòðî “Ôèëè”), ôèðìà
“Àñòàð-Ñåðâèñ”, òåë. (095) 101-22-87.
3. ã. Ìîñêâà, Ïðîëåòàðñêèé ïðîñïåêò, 23, (ñò. ìåòðî “Êàíòå-
ìèðîâñêàÿ”), ôèðìà “Ìèð è ñåðâèñ”, òåë. (095) 325-11-15, 324-30-39.
4. ã. Áåëãîðîä, óë. Ñóìñêàÿ, 90, ×Ï Òàùååâ, òåë. (0722) 51-22-27.
5. ã. Âîëãîãðàä, óë. Ìèðà, 13 “Ãîëüôñòðèì”, òåë. (8442) 90-22-44, 90-22-68.
6. ã. Âîðîíåæ, ïð. Ðåâîëþöèè, 7, ÎÎÎ “Îáùåñòâî Áóòåéêî”, òåë. (0732) 55-
46-55.
7. ã. Åêàòåðèíáóðã, óë. Òóðáèííàÿ, 7, 3-é ýòàæ, (ñò. ìåòðî
“Ìàøèíîñòðîèòåëåé”), ÓÝÑÊ “Êîðàë”, òåë. (3432) 34-53-64.
8. ã. Åêàòåðèíáóðã, óë.Äàíèëû Çâåðåâà, 23 “ÑÒÊÑ”, òåë. (3432) 49-14-59.
9. ã. Èæåâñê, óë.Ñâîáîäû, 19, “Òåïëî-Ëþêñ”, òåë. (3412) 50-58-73, 51-39-30.
10. ã. Èæåâñê, óë. 10 ëåò Îêòÿáðÿ, 53, “ÓðàëÏðîìÊîìïëåêò”,
òåë.
(3412) 22-16-10, 56-09-42.
11. ã. Èðêóòñê, óë. Ìóõèíîé, 2à, “Ýñòåë”, òåë. (3952) 42-73-92, 42-66-59.
12. ã. Êèðîâ, 1-ûé Êèðïè÷íûé ïåðåóëîê, 15, “ÂÒÊ-ÝÍÅÐÃΔ,
òåë.(8332) 35-16-00 äîï. 140, 25-24-29.
13. ã. Êðàñíîÿðñê, óë. Òåëåâèçèîííàÿ, 4, “Ïðîìêîíñàëòèíã”,
òåë. (3912) 56-04-05.
14. ã. Êðàñíîÿðñê, óë. Òîòìèíà, 4ã, “Ïîëèìåò”, òåë. (3912) 47-76-83.
15. ã. Êðàñíîäàð, óë. Ñåâåðíàÿ, 255, “Îðãïèùåïðîì”, òåë. (8612) 55-54-82.
16. ã. Êóðãàí, óë. Ìÿãîòèíà, 97, “Åâðîêëàññ”, òåë. (3522) 41-21-26.
17. ã. Ìàãíèòîãîðñê, óë. Ëåíèíñêàÿ, 8, “Âåðòèêàëü”, òåë. (3519) 22-23-01.
18. ã. Íîâîñèáèðñê, óë. Ñåìüè Øàìøèíûõ, 37à, “Êåé Ñè Ãðóïï”,
òåë. (3832) 22-20-82, 17-39-54.
19. ã. Íèæíåâàðòîâñê, óë. Èíäóñòðèàëüíàÿ, 1, “Äèàë -Ýëåêòðî”,
òåë. (3466) 62-53-93.
20. ã. Îðåíáóðã, óë. Ñàõàëèíñêàÿ 13, ïðåäïðèÿòèå ÑÂÑ,
òåë. (3532) 52-49-64.
21. ã. Ïåðìü, óë. Ñèáèðñêàÿ, 35ä, ïðåäïðèÿòèå Â-1336, òåë. (3422) 12-45-70.
22. Ðåñïóáëèêà Òàòàðñòàí, ã. Êàçàíü,
Ãîðüêîâñêîå øîññå, 30, ÎÎÎ
“Òàòãàçñåëüêîìïëåêò”, òåë. (8432) 55-40-00, 42-39-40.
23. ã. Ðîñòîâ-íà-Äîíó, óë.Ñîêîëîâà, 80, “Àðñåíàëêîìïëåêò”,
òåë. (8632) 38-72-32, 90-45-23.
24.
ã. Ðîñòîâ-íà-Äîíó, óë. Êîñìîíàâòîâ, 2,
“Ýíåðãîñåðâèñ”,
òåë. (8632) 35-30-22, 35-31-00.
25. ã. Ñàìàðà, óë. Ëóöêàÿ, 28, ÀÎ “Âîëãà-ïðîìêîìïëåêò”,
òåë. (8462) 70-73-06.
26. ã. Ñàíêò - Ïåòåðáóðã, Êîëîìÿæñêèé ïð-ò 4, “Áàëòèéñêàÿ ãàçîâàÿ
êîìïàíèÿ”, òåë. (812) 380-40-80.
27. ã. Ñàíêò - Ïåòåðáóðã, óë. Áîëüøàÿ Ïîäüÿ÷åíñêàÿ, 24, “Òåïëîñåðâèñ”,
òåë. (812) 346-74-88, 346-74-89.
1-êîòåë; 2-ïàíåëü; 3-âõîäíîé ïàòðóáîê; 4-âûõîäíîé ïàòðóáîê; 5-äàò÷èê
òåðìîâûêëþ÷àòåëÿ; 6-äàò÷èê òåðìîðåãóëÿòîðà; 7-çàæèì êëåììíûé; 8-
êðîíøòåéí; 9-áëîê êëåììíûé; 10-ïóñêàòåëü; 11-ïàíåëü óïðàâëåíèÿ; 12-ðó÷êà
òåðìîðåãóëÿòîðà “ÒÅÌÏÅÐÀÒÓÐÀ”; 13-âûêëþ÷àòåëü “ÑÅÒÜ”; 14-ñèãíàëüíàÿ
ëàìïà “ÍÀÃÐÅ” ; 15-ïðåäîõðàíèòåëü öåïè óïðàâëåíèÿ; 16-ïðåäîõðàíèòåëü
öèðêóëÿöèîííîãî íàñîñà; 17-çàêëàäíàÿ; 18-çàæèì çàçåìëåíèÿ; 19-áëîê ÒÝÍ;
1
5
3
14
6
2
19
18
18
19
8
16
11
7
12
10
13
15
4
17
9
Ðèñóíîê 1 (êîæóõ íå ïîêàçàí):













