Котел De Dietrich MS 24 MI - инструкция пользователя по применению, эксплуатации и установке на русском языке. Мы надеемся, она поможет вам решить возникшие у вас вопросы при эксплуатации техники.
Если остались вопросы, задайте их в комментариях после инструкции.
"Загружаем инструкцию", означает, что нужно подождать пока файл загрузится и можно будет его читать онлайн. Некоторые инструкции очень большие и время их появления зависит от вашей скорости интернета.

294
РУКОВОДСТВО ДЛЯ ТЕХНИЧЕСКОГО ПЕРСОНАЛА
71.03982.03 - RU
24
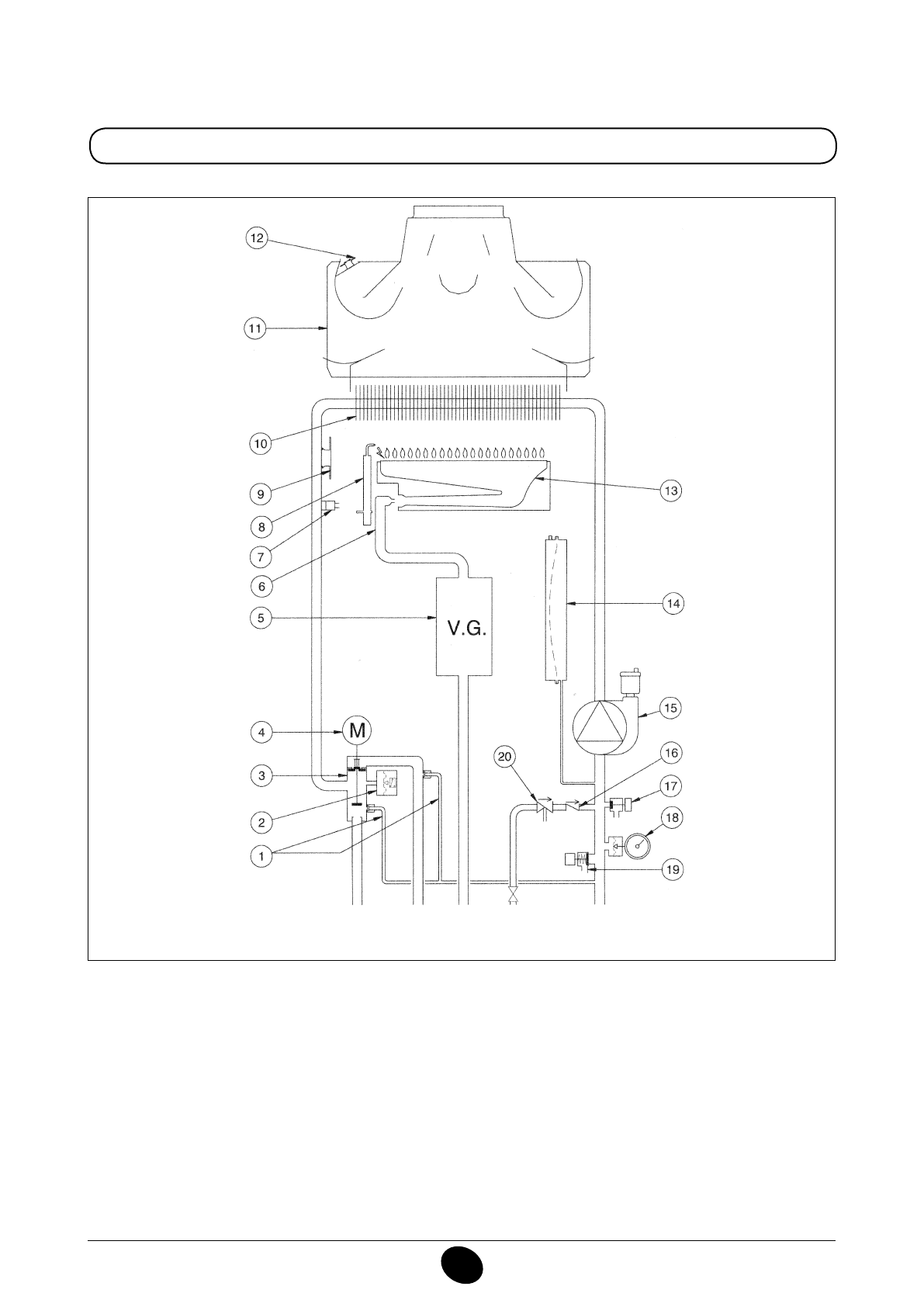
Рис. 20
CG_2268 / 1006_2103
П
о
дача
отопления
Подача
бойлера
Газ
Вход
горячей
воды
Возврат
отопления
Система обозначений:
1
Автоматический байпас со стопорным клапаном
2
Гидравлическое реле давления
3
Трехходовой клапан
4
Двигатель трехходового клапана
5
Газовый клапан с газовой мембраной
6
Газовая рампа с форсунками
7
Датчик NTC температуры отопления
8
Электрод зажигания / детектор пламени
9
Предохранительный термостат
10
Теплообменник вода-дым
11
Канал направления дымов
12
Термостат дымов
13
Горелка
14
Расширительный бак
15
Насос с воздухоотводчиком
16
Обратный клапан
17
Кран слива котла
18
Манометр
19
Предохранительный клапан
20
Разъединитель
Содержание
- 267 Уважае
- 268 ПОДГОТОВКА К УСТАНОВКЕ
- 271 ВЫКЛЮЧЕНИЕ КОТЛА; ЗАПОЛНЕНИЕ СИСТЕМЫ
- 272 СИСТЕМА БЕЗОПАСНОСТИ: ИНДИКАТОРЫ И СРАБАТЫВАНИЕ; ВЫКЛЮЧЕНИЕ НА ДЛИТЕЛЬНЫЙ ПЕРИОД. ЗАЩИТА ОТ ЗАМЕРЗАНИЯ; Неисправность
- 273 ПРОВЕРКИ ПЕРЕД УСТАНОВКОЙ КОТЛА
- 274 ПРИМЕЧАНИЕ ПО РАСШИРИТЕЛЬНОМУ БАКУ
- 276 УСТАНОВКА ДЫМОХОДА И ВОЗДУХОВОДА
- 277 ВАРИАНТЫ ГОРИЗОНТАЛЬНОЙ УСТАНОВКИ НАКОНЕЧНИКА ДЫМОХОДА
- 278 Модель котла
- 280 ПОДКЛЮЧЕНИЕ К ЭЛЕКТРОПИТАНИЮ; Внимание
- 281 ПОДСОЕДИНЕНИЕ КОМНАТНОГО ТЕРМОСТАТА
- 282 ПОРЯДОК ЗАМЕНЫ ГАЗА; газовый клапан
- 283 ФУНКЦИЯ КАЛИБРОВКИ ГАЗОВОГО КЛАПАНА; Примечание
- 284 ВЫВОД ИНФОРМАЦИИ НА ДИСПЛЕЙ КОТЛА
- 287 КОНТРОЛЬ ОТХОДЯЩИХ ГАЗОВ; ап
- 288 ПРИСОЕДИНЕНИЕ ДАТЧИКА УЛИЧНОЙ ТЕМПЕРАТУРЫ; СОЕДИНЕНИЕ НАРУЖНОГО БЛОКА БОЙЛЕРА
- 289 ЕЖЕГОДНОЕ ТЕХНИЧЕСКОЕ ОБСЛУЖИВАНИЕ
- 290 ОЧИСТКА ОТ ИЗВЕСТКОВОГО НАЛЕТА В СИСТЕМЕ ГВС
- 292 ФУНКЦИОНАЛЬНАЯ СХЕМА КОНТУРОВ
- 296 СХЕМЫ ЭЛЕКТРИЧЕСКИХ СОЕДИНЕНИЙ; Цвет проводов; олубой
- 300 ТЕХНИЧЕСКИЕ ДАННЫЕ













