Котел BAXI WSB43140347 - инструкция пользователя по применению, эксплуатации и установке на русском языке. Мы надеемся, она поможет вам решить возникшие у вас вопросы при эксплуатации техники.
Если остались вопросы, задайте их в комментариях после инструкции.
"Загружаем инструкцию", означает, что нужно подождать пока файл загрузится и можно будет его читать онлайн. Некоторые инструкции очень большие и время их появления зависит от вашей скорости интернета.

SLIM i – iN
руководство
для
технического
персонала
14
газовые
напольные
котлы
5.1
ДОСТУП
К
КЛЕММНОЙ
КОЛОДКЕ
ЭЛЕКТРОПИТАНИЯ
•
Обесточить
котел
при
помощи
двухполюсного
выключателя
.
•
Снять
крышку
,
потянув
ее
вверх
.
•
Открыть
переднюю
дверцу
,
потянув
ее
за
верхние
углы
.
•
Отвинтить
два
крепежных
винта
панели
управления
.
•
Наклонить
панель
управления
вперед
.
•
Отвинтить
винты
и
получить
доступ
к
клеммной
электрической
колодке
.
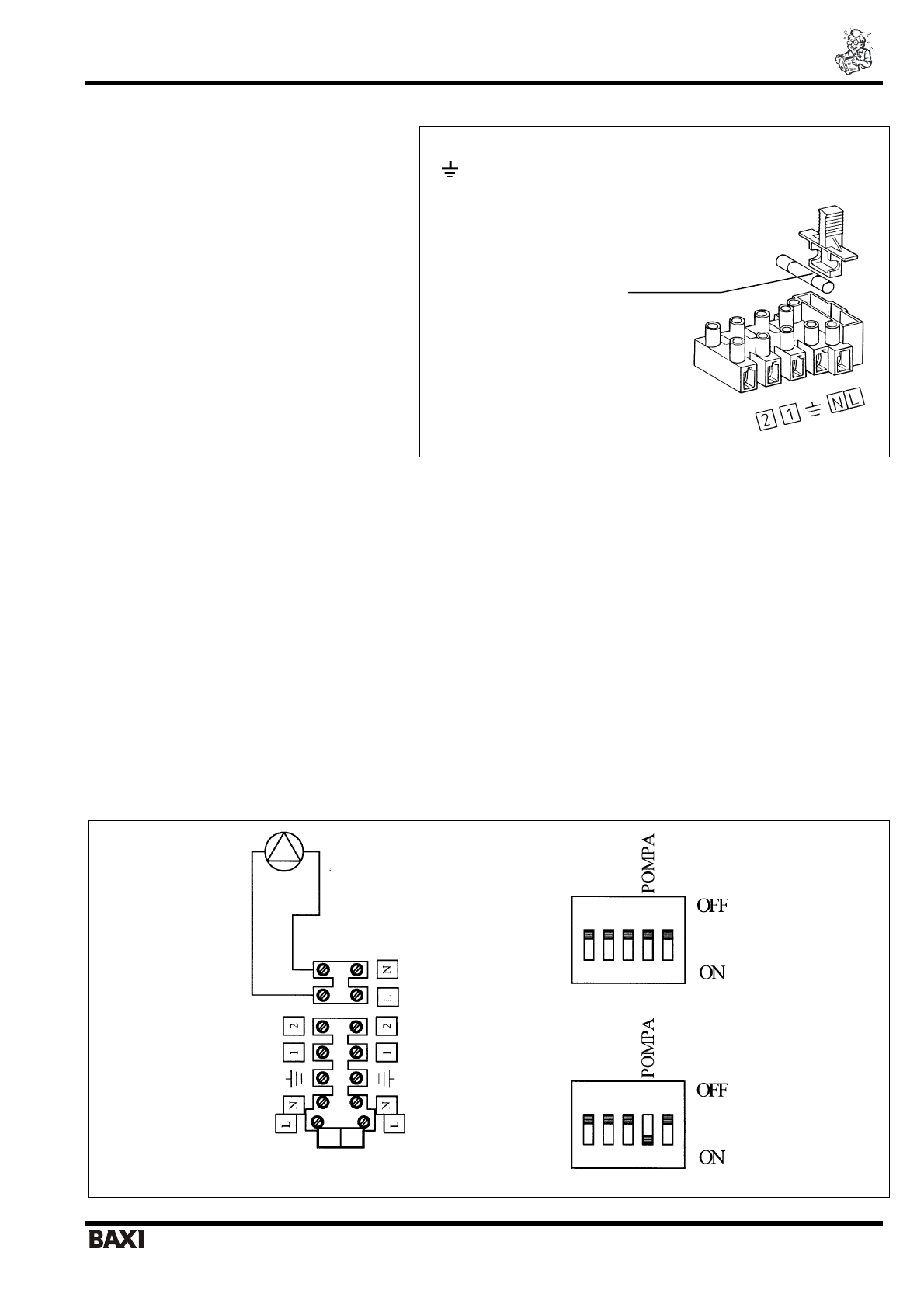
•
В
клеммной
колодке
имеется
также
плавкий
предохранитель
быстрого
срабатывания
на
2
А
(
рис
. 7).
(L) =
фаза
,
коричневый
(
Т
) =
нейтраль
,
голубой
=
земля
,
желто
-
зеленый
(1) (2) =
контакты
для
присоединения
комнатного
термостата
Рис
. 7:
Клеммная
колодка
электропитания
5.2.
ПРИСОЕДИНЕНИЕ
ДАТЧИКА
ТЯГИ
(
для
моделей
1.400 iN, 1.490 iN, 1.620 iN)
Для
нормальной
работы
данных
моделей
необходимо
выполнить
электрическое
присоединение
датчика
тяги
,
установленного
на
устройстве
противотяги
.
Установите
переключатель
датчика
тяги
и
зафиксируйте
его
в
соответствии
с
прилагаемыми
инструкциями
при
помощи
соответствующих
пружины
и
зажима
,
поставляемых
в
комплекте
.
5.3.
ПРИСОЕДИНЕНИЕ
ЦИРКУЛЯЦИОННОГО
НАСОСА
(
только
для
моделей
iN)
Модели
iN
поставляются
без
циркуляционного
насоса
.
Для
включения
насоса
напрямую
от
котла
необходимо
выполнить
следующие
операции
по
присоединению
насоса
:
•
Отключить
котел
от
электросети
при
помощи
двухполюсного
выключателя
.
•
Открыть
и
снять
переднюю
дверцу
и
верхнюю
панель
котла
.
•
Провести
кабель
электропитания
насоса
через
кабеледержатели
(
необходимо
использовать
кабель
с
медными
жилами
3x1
мм
2
с
максимальным
внешним
диаметром
8
мм
или
кабель
с
аналогичными
характеристиками
).
Получить
доступ
к
клеммной
колодке
электропитания
в
соответствии
с
разделом
«
Электрическое
присоединение
котла
.
Доступ
к
клеммной
колодке
электропитания
».
•
Выполнить
электрическое
присоединение
в
соответствии
с
электрической
схемой
§ 6.
Рис
. 8:
Присоединение
насоса
плавкий
предохранитель
Постциркуляция
насоса
–
3
мин
(
при
выключении
по
сигналу
комнатного
термостата
)
Постциркуляция
насоса
–
4
часа
(
при
выключении
по
сигналу
комнатного
термостата
)
Содержание
Характеристики
Остались вопросы?Не нашли свой ответ в руководстве или возникли другие проблемы? Задайте свой вопрос в форме ниже с подробным описанием вашей ситуации, чтобы другие люди и специалисты смогли дать на него ответ. Если вы знаете как решить проблему другого человека, пожалуйста, подскажите ему :)