Котел Baxi SLIM 1.620 iN - инструкция пользователя по применению, эксплуатации и установке на русском языке. Мы надеемся, она поможет вам решить возникшие у вас вопросы при эксплуатации техники.
Если остались вопросы, задайте их в комментариях после инструкции.
"Загружаем инструкцию", означает, что нужно подождать пока файл загрузится и можно будет его читать онлайн. Некоторые инструкции очень большие и время их появления зависит от вашей скорости интернета.

SLIM i – iN
руководство
для
технического
персонала
14
газовые
напольные
котлы
5.1
ДОСТУП
К
КЛЕММНОЙ
КОЛОДКЕ
ЭЛЕКТРОПИТАНИЯ
•
Обесточить
котел
при
помощи
двухполюсного выключателя.
•
Снять крышку, потянув ее вверх.
•
Открыть переднюю дверцу, потянув ее за
верхние углы.
•
Отвинтить два крепежных винта панели
управления.
•
Наклонить панель управления вперед.
•
Отвинтить винты и получить доступ к
клеммной электрической колодке.
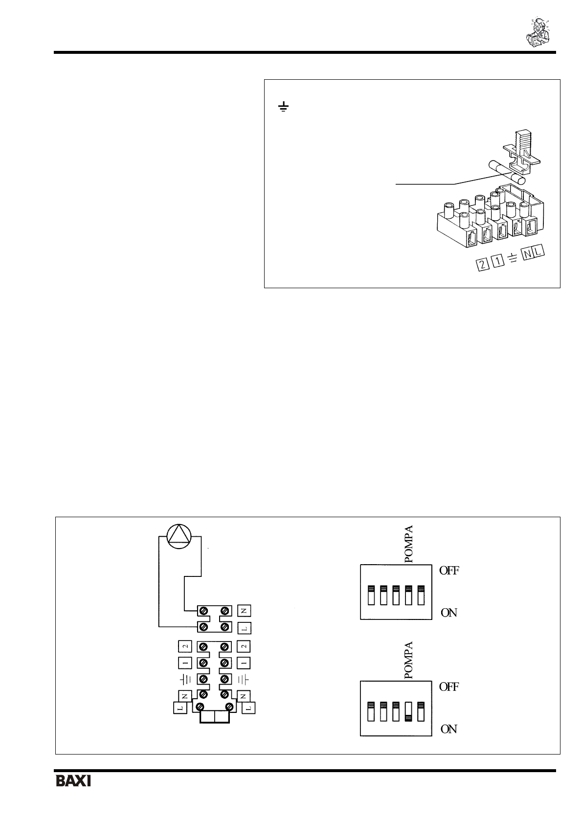
•
В клеммной колодке имеется также плавкий
предохранитель быстрого срабатывания на
2А (рис. 7).
(L) =
фаза
,
коричневый
(
Т
) =
нейтраль
,
голубой
=
земля
,
желто
-
зеленый
(1) (2) =
контакты
для
присоединения
комнатного
термостата
Рис
. 7:
Клеммная
колодка
электропитания
5.2.
ПРИСОЕДИНЕНИЕ
ДАТЧИКА
ТЯГИ
(
для
моделей
1.400 iN, 1.490 iN, 1.620 iN)
Для нормальной работы данных моделей необходимо выполнить электрическое присоединение датчика тяги,
установленного на устройстве противотяги.
Установите переключатель датчика тяги и зафиксируйте его в соответствии с прилагаемыми инструкциями при помощи
соответствующих пружины и зажима, поставляемых в комплекте.
5.3.
ПРИСОЕДИНЕНИЕ
ЦИРКУЛЯЦИОННОГО
НАСОСА
(
только
для
моделей
iN)
Модели iN поставляются без циркуляционного насоса. Для включения насоса напрямую от котла необходимо
выполнить следующие операции по присоединению насоса:
•
Отключить котел от электросети при помощи двухполюсного выключателя.
•
Открыть и снять переднюю дверцу и верхнюю панель котла.
•
Провести кабель электропитания насоса через кабеледержатели (необходимо использовать кабель с медными
жилами 3x1 мм
2
с максимальным внешним диаметром 8 мм или кабель с аналогичными характеристиками).
Получить доступ к клеммной колодке электропитания в соответствии с разделом «Электрическое присоединение
котла. Доступ к клеммной колодке электропитания».
•
Выполнить электрическое присоединение в соответствии с электрической схемой § 6.
Рис
. 8:
Присоединение
насоса
плавкий
предохранитель
Постциркуляция
насоса –
3
мин
(при выключении
по сигналу
комнатного
термостата)
Постциркуляция
насоса –
4
часа
(при выключении
по сигналу
комнатного
термостата)
Характеристики
Остались вопросы?Не нашли свой ответ в руководстве или возникли другие проблемы? Задайте свой вопрос в форме ниже с подробным описанием вашей ситуации, чтобы другие люди и специалисты смогли дать на него ответ. Если вы знаете как решить проблему другого человека, пожалуйста, подскажите ему :)













