Котел Baxi LUNA HT 1.450 / 1.550 / 1.650 - инструкция пользователя по применению, эксплуатации и установке на русском языке. Мы надеемся, она поможет вам решить возникшие у вас вопросы при эксплуатации техники.
Если остались вопросы, задайте их в комментариях после инструкции.
"Загружаем инструкцию", означает, что нужно подождать пока файл загрузится и можно будет его читать онлайн. Некоторые инструкции очень большие и время их появления зависит от вашей скорости интернета.

Luna HT 1.450-1.550-1.650
руководство
для
технического
персонала
газовые
настенные
котлы
34
21.
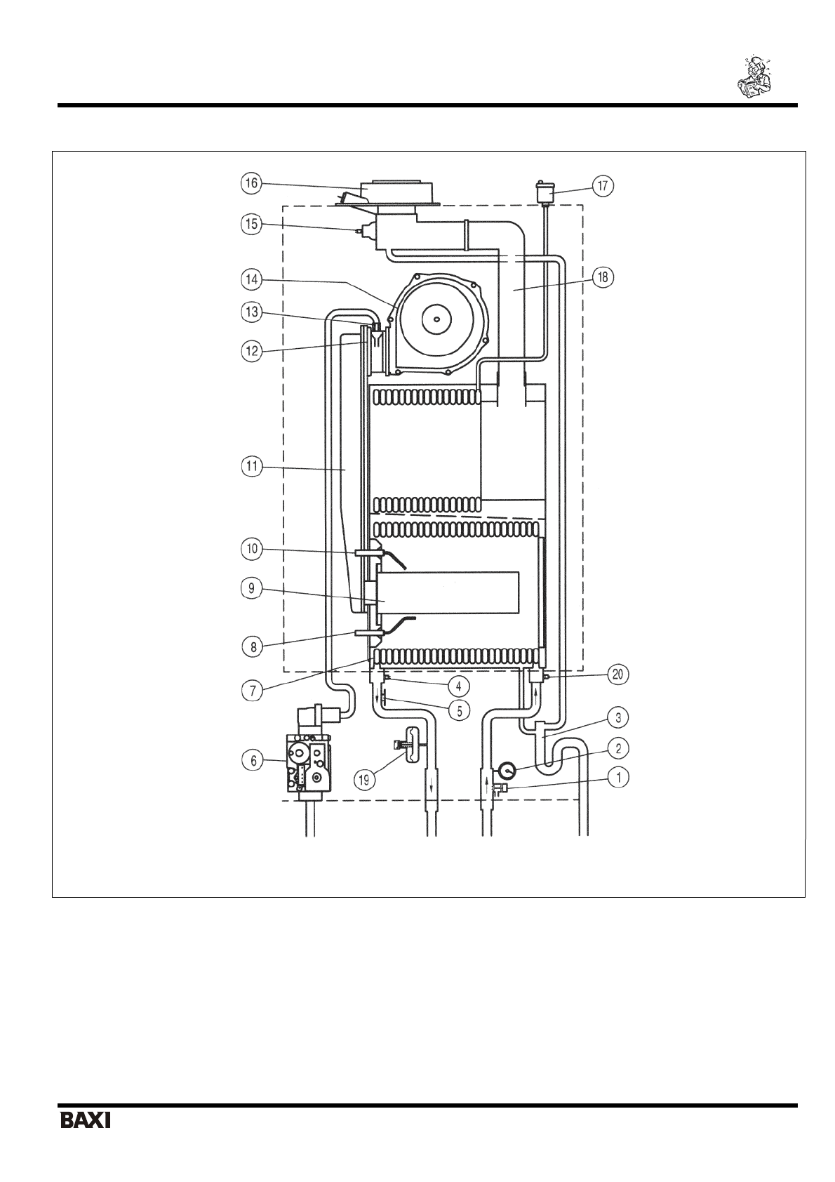
Функциональная
схема
Рис
. 18
газ
подача
в
систему
отопления
возврат
из
системы
отопления
Слив
конденсата
Обозначения
:
1
сбросной
предохранительный
клапан
11
коллектор
подачи
газо
-
воздушной
смеси
2
манометр
12
смеситель
с
устройством
Вентури
3
сифон
13
газовая
диафрагма
4
датчик
температуры
(NTC)
на
подаче
контура
отопления
14
вентилятор
5
термостат
защиты
от
перегрева
(105°
С
) 15
термостат
-
датчик
тяги
6
газовый
клапан
16
концентрическая
муфта
7
теплообменник
17
автоматический
воздухоотводчик
8
электрод
контроля
пламени
18
переходник
дымоотводного
устройства
9
горелка
19
прессостат
минимального
давления
воды
10
электрод
зажигания
20
датчик
температуры
(NTC)
на
возврате
контура
отопления
камера
сгорания