Baxi ECO 3 Compact 1.140 Fi (i) / 1.240 Fi (i) - Инструкция по эксплуатации - Страница 17

Котел Baxi ECO 3 Compact 1.140 Fi (i) / 1.240 Fi (i) - инструкция пользователя по применению, эксплуатации и установке на русском языке. Мы надеемся, она поможет вам решить возникшие у вас вопросы при эксплуатации техники.

Если остались вопросы, задайте их в комментариях после инструкции.

"Загружаем инструкцию", означает, что нужно подождать пока файл загрузится и можно будет его читать онлайн. Некоторые инструкции очень большие и время их появления зависит от вашей скорости интернета.
Страница:
/ 37
Загружаем инструкцию
background image

ECO  3 Compact                                                                          

 

 

 

   

 

 

                                                                                17                              

 

 

 

 

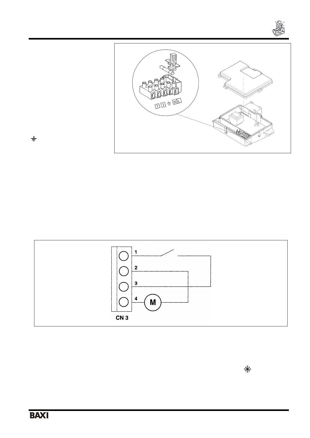
6.1 

   

 

 

  

 

 

 

 

 

   

  

 

 

 

 

   

 

 

 

 

 

   

 

 

 (

.10) 

 

 

 

 

 

 

  2   (

 

 

 

 

 

 

 

 

). 

 

:  

(L) = 

 

  

(N) = 

 

  

(

) = 

-

 

(1) 

 (2) = 

 

 

 

 

 

 

.10  

 
7. 

 

 

 

 

 

 

   

 

 

 (

.10), 

 

 

 

 

 

 

 

 

 (1)   (2) 

 

 

 

 

 

 

 

   

 

   

 (1)   (2). 

 

 

8. 

 

 

 

 

 

 

 (

)   

 (

 CN3, 

 2   4). 

 

 

 

 

   

 (

 CN3, 

 1   3)   

 

 

 

 

   

 

 

 

 

   

 2   4. 

 
 

 

 

.11

 

 
9. 

 

 

 

 

 

 

   

 

 

 

9.1. 

 

 

 

 

 

 

 

 

 

 2 (

. 12)   

   

 2 

 

 

 

   

 

 

  (

.2)   

  «

» 

   

 

 

 

 

 

 

 

 

  (

 2, 

.12). 

 

: 20 

 

 

 

, 30 

 

 

, 37 

 

 

 

 

   

 

 

 

 

   

 

 

 

 2 

 

 

Полезные видео

Характеристики

Оцените статью
tehnopanorama.ru
Остались вопросы?

Не нашли свой ответ в руководстве или возникли другие проблемы? Задайте свой вопрос в форме ниже с подробным описанием вашей ситуации, чтобы другие люди и специалисты смогли дать на него ответ. Если вы знаете как решить проблему другого человека, пожалуйста, подскажите ему :)

Задать вопрос

Часто задаваемые вопросы
Как посмотреть инструкцию к Baxi ECO 3 Compact 1.140 Fi (i) / 1.240 Fi (i)?
Необходимо подождать полной загрузки инструкции в сером окне на данной странице
Руководство на русском языке?
Все наши руководства представлены на русском языке или схематично, поэтому вы без труда сможете разобраться с вашей моделью
Как скопировать текст из PDF?
Чтобы скопировать текст со страницы инструкции воспользуйтесь вкладкой "HTML"