Котел BAXI 7104050 - инструкция пользователя по применению, эксплуатации и установке на русском языке. Мы надеемся, она поможет вам решить возникшие у вас вопросы при эксплуатации техники.
Если остались вопросы, задайте их в комментариях после инструкции.
"Загружаем инструкцию", означает, что нужно подождать пока файл загрузится и можно будет его читать онлайн. Некоторые инструкции очень большие и время их появления зависит от вашей скорости интернета.
Загружаем инструкцию

7225066.01 (1-08/15)
22
SECTION A
20
Содержание
- 3 ОПИСАНИЕ СИМВОЛОВ; использовать Ваше изделие.; МЕРЫ БЕЗОПАСНОСТИ; БАКСИ
- 4 ОБЩИЕ ПРЕДУПРЕЖДЕНИЯ; Контур отопления; РЕКОМЕНДАЦИИ ПО ЭКОНОМИИ ЭНЕРГИИ; Управление системой отопления
- 5 здел ПО; ВВОД КОТЛА В ЭКСПЛУАТАЦИЮ; РЕГУЛИРОВКА ТЕМПЕРАТУРЫ ПОДАЧИ ОТОПЛЕНИЯ И ГОРЯЧЕЙ ВОДЫ
- 6 ВЫКЛЮЧЕНИЕ НА ДЛИТЕЛЬНЫЙ ПЕРИОД. ЗАЩИТА ОТ ЗАМЕРЗАНИЯ; ПЕРЕВОД КОТЛА НА ДРУГОЙ ТИП ГАЗА; Описание неисправности
- 7 МЕНЮ ИНФОРМАЦИИ О КОТЛЕ; Описание; НАПОЛНЕНИЕ СИСТЕМЫ; ИНСТРУКЦИИ ПО ПЛАНОВОМУ ТЕХОБСЛУЖИВАНИЮ
- 8 здел УС; ПРЕДУПРЕЖДЕНИЯ ПЕРЕД МОНТАЖОМ; “SECTION” E; “SECTION”
- 9 МОНТАЖ ДЫМОХОДА И ВОЗДУХОВОДА; ПРЕДУПРЕЖДЕНИЯ; ТАБЛИЦА 1A; КОАКСИАЛЬНЫЕ ДЫМОХОДЫ; 0° отвод сокращает возможную полную длину трубы на 1 метр.; РАЗДЕЛЬНЫЕ ДЫМОХОДЫ; 0° отвод сокращает возможную полную длину трубы на 0,5 метра.
- 10 КАСКАДНЫЙ ТИП СОЕДИНЕНИЯ ДЫМОХОДОВ; ТАБЛИЦА 1B; ЭЛЕКТРИЧЕСКИЕ СОЕДИНЕНИЯ; “SECTION” B; КЛЕММНАЯ КОЛОДКА M1; Фаза; КЛЕММНИК M2
- 11 КЛЕММНАЯ КОЛОДКА M3; ПОДКЛЮЧЕНИЕ КОМНАТНОГО ТЕРМОСТАТА
- 13 ВНЕШНИЕ МОДУЛИ УПРАВЛЕНИЯ СИСТЕМОЙ
- 14 ФУНКЦИЯ УДАЛЕНИЯ ВОЗДУХА ИЗ СИСТЕМЫ ОТОПЛЕНИЯ; ФУНКЦИЯ КАЛИБРОВКИ ГАЗОВОГО КЛАПАНА; On; ФУНКЦ ОЧИСТКИ ДЫМОХОДА; НЕИСПРАВНОСТИ, КОТОРЫЕ НЕ МОГУТ БЫТЬ УСТРАНЕНЫ; НЕИСПРАВНОСТИ; НАСТРОЙКА ПАРАМЕТРОВ; On
- 16 КАЛИБРОВКА ГАЗОВОГО КЛАПАНА; ) Настройка МАКСИМАЛЬНОЙ мощности; ) Настройка МИНИМАЛЬНОЙ мощности
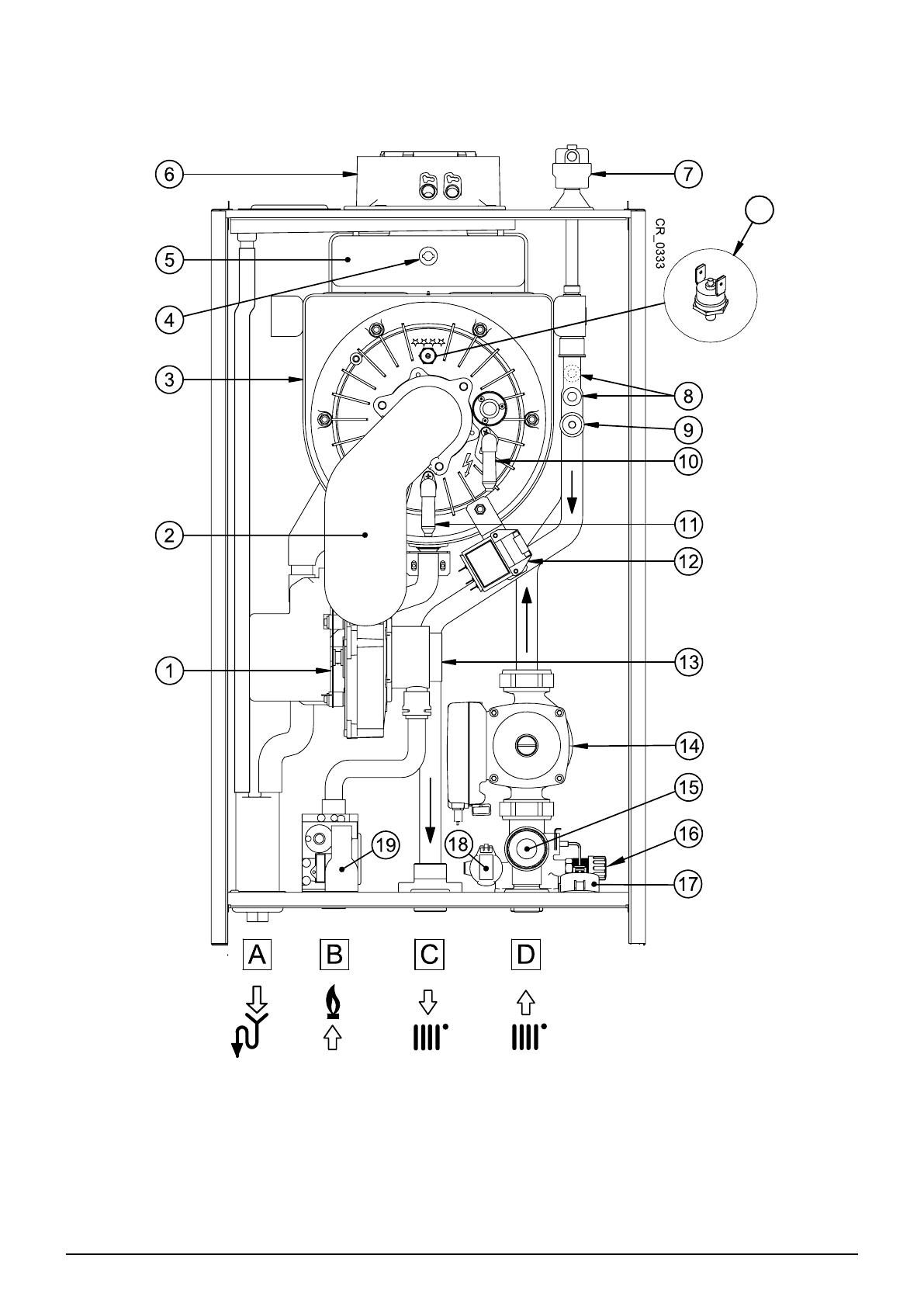
- 17 ТАБЛИЦА 2; УСТРОЙСТВА ДЛЯ РЕГУЛИРОВАНИЯ И БЕЗОПАСНОСТИ
- 18 Устройство защиты от замерзания; ЕЖЕГОДНОЕ ТЕХНИЧЕСКОЕ ОБСЛУЖИВАНИЕ
- 19 ЧИСТКА СИФОНА СЛИВА КОНДЕНСАТА; ЧИСТКА ТЕПЛООБМЕННИКА СО СТОРОНЫ ОТХОДЯЩИХ ГАЗОВ
- 20 ПРОВЕРКА ГОРЕЛКИ; РАСПОЛОЖЕНИЕ ЭЛЕКТРОДОВ; ПАРАМЕТРЫ ПРОДУКТОВ СГОРАНИЯ
- 21 ТЕХНИЧЕСКИЕ ХАРАКТЕРИСТИКИ; II
- 32 ИЗМЕНЕННЫЕ ПАРАМЕТРЫ; ЗНАЧЕНИЕ
Характеристики
Остались вопросы?Не нашли свой ответ в руководстве или возникли другие проблемы? Задайте свой вопрос в форме ниже с подробным описанием вашей ситуации, чтобы другие люди и специалисты смогли дать на него ответ. Если вы знаете как решить проблему другого человека, пожалуйста, подскажите ему :)
Часто задаваемые вопросы
Как посмотреть инструкцию к BAXI 7104050?
Необходимо подождать полной загрузки инструкции в сером окне на данной странице
Руководство на русском языке?
Все наши руководства представлены на русском языке или схематично, поэтому вы без труда сможете разобраться с вашей моделью
Как скопировать текст из PDF?
Чтобы скопировать текст со страницы инструкции воспользуйтесь вкладкой "HTML"













