Котел ATON АОГВМНД-16Е - инструкция пользователя по применению, эксплуатации и установке на русском языке. Мы надеемся, она поможет вам решить возникшие у вас вопросы при эксплуатации техники.
Если остались вопросы, задайте их в комментариях после инструкции.
"Загружаем инструкцию", означает, что нужно подождать пока файл загрузится и можно будет его читать онлайн. Некоторые инструкции очень большие и время их появления зависит от вашей скорости интернета.
Загружаем инструкцию

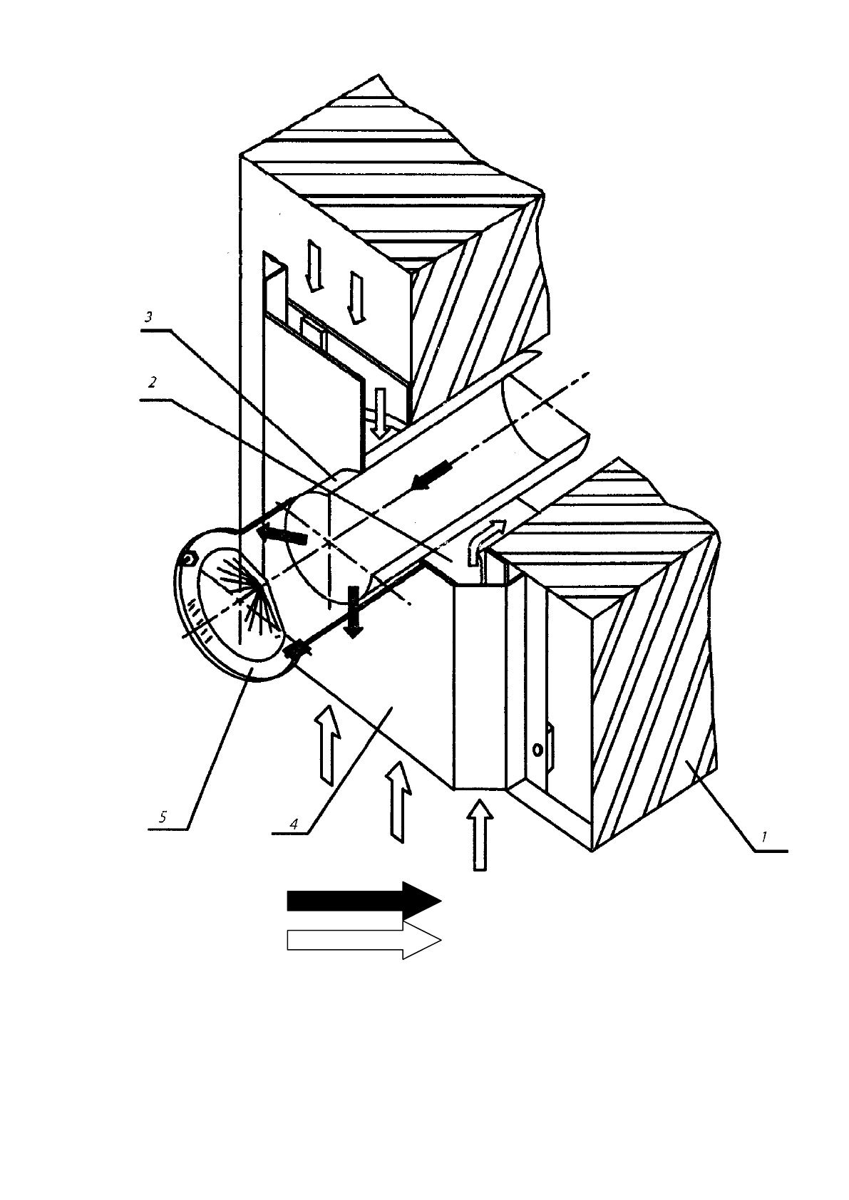
Продукты сгорания –
Воздух –
1 –
наружная стена помещения;
2 –
секция воздуховода;
3 –
патрубок дымохода;
4 –
защита дымохода;
5 –
отражатель.
Рисунок 3 - Схема монтажа дымохода
.
21
Содержание
- 3 ОБЩИЕ УКАЗАНИЯ; ВНИМАНИЕ. При покупке котла для отопления, отопления и горячего
- 4 НАЗНАЧЕНИЕ
- 6 ТЕХНИЧЕСКИЕ ХАРАКТЕРИСТИКИ
- 8 КОМПЛЕКТ ПОСТАВКИ
- 10 ПОРЯДОК УСТАНОВКИ
- 18 СВИДЕТЕЛЬСТВО О ПРИЕМКЕ; Газовый клапан
- 21 наружная стена помещения
- 25 Приложение А
- 26 Приложение Б; установлен КОТЕЛ; при первом пуске котла
- 29 Дата
- 30 В случае выявления заводских дефектов изделия, или отклонений от













