Котел ATON АОГВ-16ЕМ - инструкция пользователя по применению, эксплуатации и установке на русском языке. Мы надеемся, она поможет вам решить возникшие у вас вопросы при эксплуатации техники.
Если остались вопросы, задайте их в комментариях после инструкции.
"Загружаем инструкцию", означает, что нужно подождать пока файл загрузится и можно будет его читать онлайн. Некоторые инструкции очень большие и время их появления зависит от вашей скорости интернета.

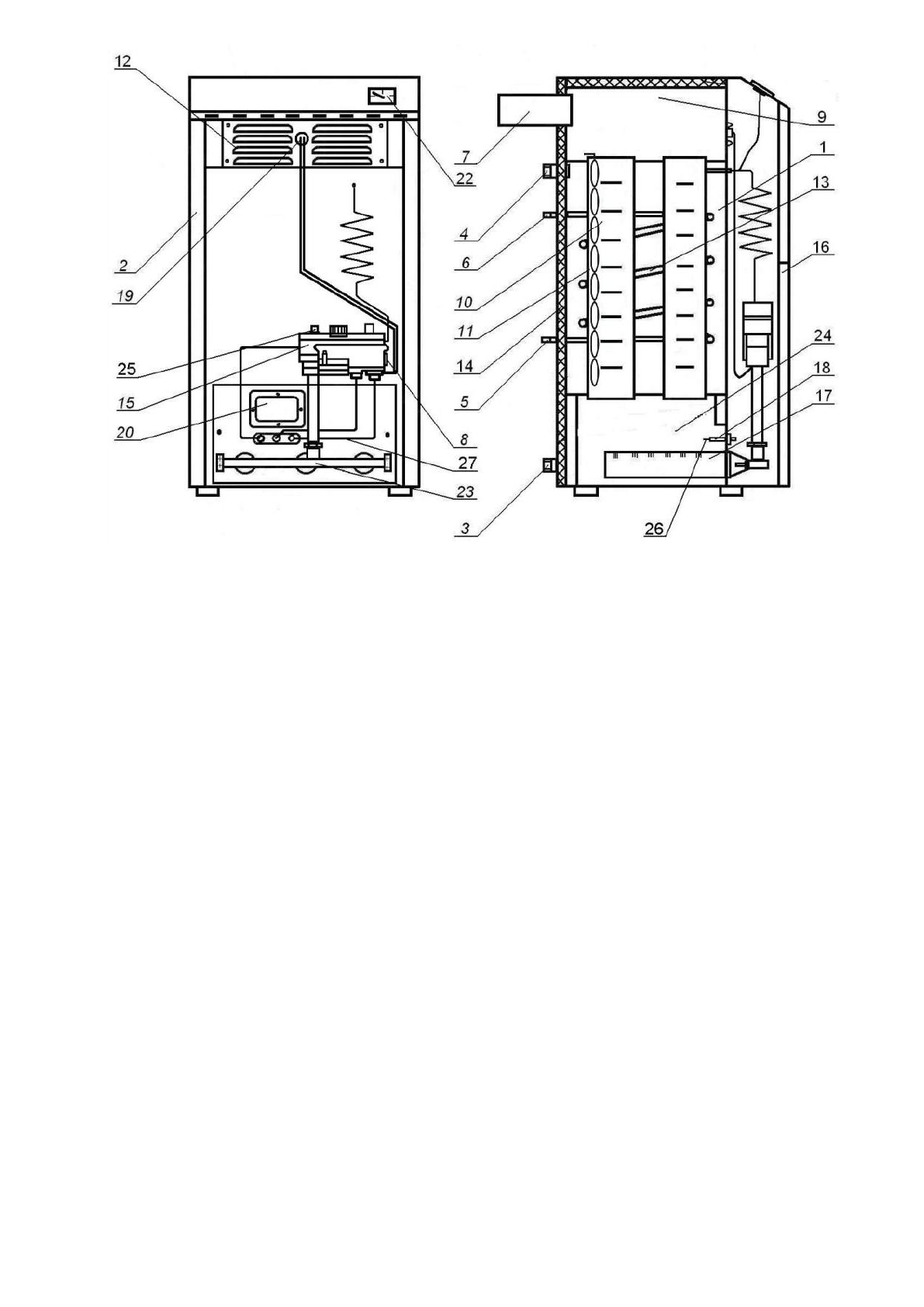
1-
теплообменник;
2-
кожух с декоративным
покрытием;
3-
водоподводящий
патрубок;
4-
водоотводящий
патрубок;
5-
подводящий патрубок
горячего
водоснабжения;
6-
отводящий патрубок
горячего
водоснабжения;
7-
дымоотводящий
патрубок;
8-
патрубок для подвода
газа;
9-
коллектор продуктов
сгорания;
10-
каналы
теплообменника;
11-
турбулизаторы;
12-
жалюзи
стабилизатора тяги;
13-
змеевик;
14-
теплоизоляция;
15-
газовий клапан
автоматики;
16-
дверка;
17-
основная горелка;
18-
пилотная горелка;
19-
датчик тяги;
20-
смотровое окно;
22-
покажчик
температуры;
23-
коллектор с
форсунками;
24-
камера сгорания;
25-
пъезокнопка;
26-
искровой электрод;
27-
термопара
Рисунок 2 - Схема котла АОГВД-30 ЕВ.
20
Содержание
- 7 ТЕХНИЧЕСКИЕ ХАРАКТЕРИСТИКИ
- 8 КОМПЛЕКТ ПОСТАВКИ
- 9 УКАЗАНИЯ МЕР БЕЗОПАСНОСТИ
- 10 КОНСТРУКЦИЯ И РАБОТА КОТЛА
- 11 ПОРЯДОК УСТАНОВКИ
- 12 ПОДГОТОВКА К РАБОТЕ
- 14 ВОЗМОЖНЫЕ НЕИСПРАВНОСТИ И МЕТОДЫ ИХ УСТРАНЕНИЯ
- 19 СВИДЕТЕЛЬСТВО О ПРИЕМКЕ; Дата изготовления
- 30 Приложение А
- 31 Приложение Б
- 34 Приложение В; История оборудования в течение всего срока эксплуатации.; Этот лист заполняется инженером Сервисного центра. Он является; Дата
- 35 Республика Беларусь













