Котел Arderia D16 - инструкция пользователя по применению, эксплуатации и установке на русском языке. Мы надеемся, она поможет вам решить возникшие у вас вопросы при эксплуатации техники.
Если остались вопросы, задайте их в комментариях после инструкции.
"Загружаем инструкцию", означает, что нужно подождать пока файл загрузится и можно будет его читать онлайн. Некоторые инструкции очень большие и время их появления зависит от вашей скорости интернета.

47
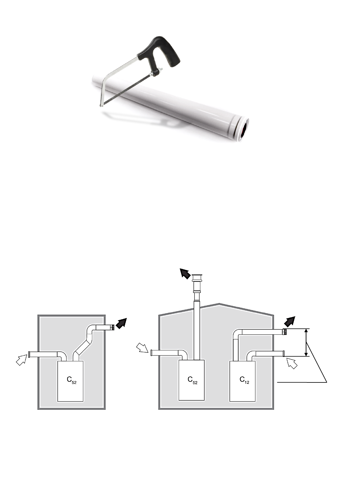
Рис. 31 Коаксиальная (соосоная) труба удлинения Ø 60/100 мм.
10.2.3 Раздельная система дымоудаления Ø 80х80 мм.
При необходимости замены коаксиального (соосного) дымохода Ø 60/100 мм на раздельную
систему дымоудаления Ø 80х80 мм. необходимо установить специальные
присоединительные элементы подключения – патрубки присоединительные для раздельной
системы дымоудаления Ø 80/80 мм.
Рис. 32
Раздельные системы дымоудаления.
Черная стрелка – отвод отработанных дымовых газов. Белая стрелка – подача воздуха.
Макс. 50 см.