Котел Arderia B10 - инструкция пользователя по применению, эксплуатации и установке на русском языке. Мы надеемся, она поможет вам решить возникшие у вас вопросы при эксплуатации техники.
Если остались вопросы, задайте их в комментариях после инструкции.
"Загружаем инструкцию", означает, что нужно подождать пока файл загрузится и можно будет его читать онлайн. Некоторые инструкции очень большие и время их появления зависит от вашей скорости интернета.

13
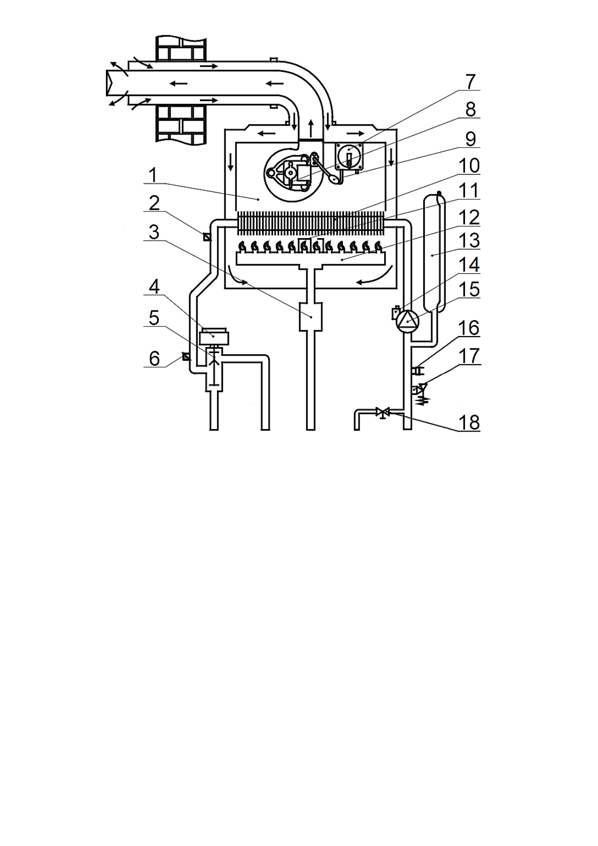
Рис. 3 Функциональная схема котла серии Arderia SB
ВНИМАНИЕ!
котѐл Arderia S поставляется без встроенного трѐхходового крана
1.
Камера сгорания (закрытого типа)
10.
Теплообменник ОВ
2.
Датчик по перегреву ОВ
(предохранительный термостат)
11.
Электроды розжига и ионизации
3.
Газовая арматура (газовые клапана)
12.
Горелка
4.
Сервопривод (мотор) трѐхходового
крана
13.
Расширительный бак (экспанзомат)
5.
Трѐхходовой кран
14.
Автоматический воздухоотводчик
6.
Датчик температуры ОВ
15.
Циркуляционный насос
7.
Датчик давления воздуха (маностат)
16.
Датчик давления СО
8.
Вентилятор (дымосос)
17.
Автоматический предохранительный
клапан сброса давления ОВ (3 бара)
Выход ОВ
(подача)
Газ
Выход ОВ
(бойлер)
Вход
ХВС
Вход ОВ
(обратка)
Содержание
- 3 Уважаемый покупатель!
- 4 Содержание
- 5 Введение; собственной разработки и собственного производства
- 7 Меры безопасности
- 9 устройство и основные элементы; Назначение и принцип работы котла; «Turbo»; котла с битермическим теплообменником (ТО)
- 10 Котѐл с раздельными теплообменниками (ТО); Одноконтурный котѐл; Настенные газовые котлы Arderia работают с приоритетом по ГВС.
- 11 Устройство и основные элементы котла.
- 15 . Технические характеристики котлов Arderia; Модель «Turbo»
- 16 Модель «Atmo»
- 21 Комплект поставки
- 22 . Серийный номер котла; Дата изготовления Серия котла Мощность Номер
- 23 Руководство по эксплуатации котла; Общие рекомендации; должно; необходимо; должен; Панель управления котлом
- 26 Включение и эксплуатация котла; Включение котла; Перед включением котла; MOD; Режимы работы котла; Режим «; Режим «; ЗИМА; Режим «; ЛЕТО
- 27 ОЖИДАНИЕ; Функция «Таймер». Установка временных интервалов
- 28 Включение подсветки ЖК-дисплея
- 29 Защита от замерзания; Длительный простой котла
- 30 Коды ошибок и описание неисправностей котла
- 31 . Правила хранения и транспортировки
- 32 Срок службы, демонтаж и утилизация котла
- 33 Гарантийный талон; ГАРАНТИЙНЫЙ ТАЛОН; Условия предоставления и сохранения гарантии
- 34 Гарантийные обязательства
- 36 Отказ от гарантийных обязательств
- 37 Заполняется торгующей организации при продаже; Отметки о прохождении сервисного тех. обслуживания
- 38 Для заметок
- 39 Уважаемый пользователь!; или на сайте












