Кондиционеры Zanussi ZACS/I-09 - инструкция пользователя по применению, эксплуатации и установке на русском языке. Мы надеемся, она поможет вам решить возникшие у вас вопросы при эксплуатации техники.
Если остались вопросы, задайте их в комментариях после инструкции.
"Загружаем инструкцию", означает, что нужно подождать пока файл загрузится и можно будет его читать онлайн. Некоторые инструкции очень большие и время их появления зависит от вашей скорости интернета.

4
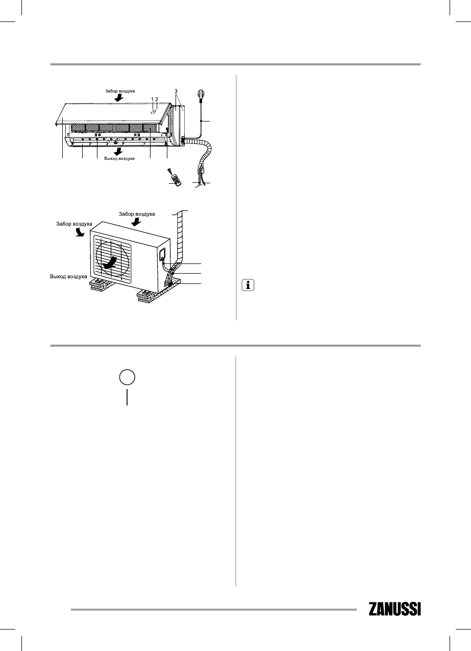
Устройство кондиционера
1 Дисплей
2 Фотоприёмник
3 Корпус
4 Крышка корпуса
5 Горизонтальные жалюзи
6 Вертикальные жалюзи
7 Воздушный фильтр
8 Кнопка ручного запуска кондиционера
9 Пульт дистанционного управления
10 Трубы для хладагента*
11 Дренажный шланг*
12 Кабель питания
13 Межблочный кабель*
14 Трубы для хладагента*
15 Сервисные вентили
*не входят в комплект.
Примечание:
Рисунок приведен в качестве справочной
информации и может иметь внешние отличия
от реального прибора.
Панель индикации
Внутренний блок
9
4
5
6
7
8
10
11
12
Наружный блок
13
14
15
Па нель ин ди ка ции*
1. Индикатор текущей температуры
*Может отличаться от представленной.
1
23.
5
Содержание
- 4 Па нель ин ди ка ции*; Индикатор текущей температуры
- 5 Модель
- 6 Кнопка включения/выключения кондиционе-; COOL; SWING; DRY; HEAT
- 7 ECO; зится на дисплее прибора ДУ.; Кнопка режима максимальной мощности
- 8 5 Кнопка управления дисплеем кондиционера
- 9 Индикация пульта дистанционного управления
- 10 Работа с пультом дистанционного управления
- 12 Регулировние направления потока отработанного воздуха; • Регулирование направления потока возду-; Техническое обслуживание кондиционера; няйте сухой мягкой тканью.
- 13 Монтаж кондиционера
- 14 Утилизация
- 15 • крепления для монтажа на стену (только для; Комплектация; Сделано в Китае
- 30 Га ран тий ный та лон; в будние дни с 8
Характеристики
Остались вопросы?Не нашли свой ответ в руководстве или возникли другие проблемы? Задайте свой вопрос в форме ниже с подробным описанием вашей ситуации, чтобы другие люди и специалисты смогли дать на него ответ. Если вы знаете как решить проблему другого человека, пожалуйста, подскажите ему :)