Кондиционеры Samsung AR24TQHQAURNER - инструкция пользователя по применению, эксплуатации и установке на русском языке. Мы надеемся, она поможет вам решить возникшие у вас вопросы при эксплуатации техники.
Если остались вопросы, задайте их в комментариях после инструкции.
"Загружаем инструкцию", означает, что нужно подождать пока файл загрузится и можно будет его читать онлайн. Некоторые инструкции очень большие и время их появления зависит от вашей скорости интернета.

47
Руководство
дистанционного
управления
«TIMER OFF» (таймер выключения) (Автоматическое
отключение операции)
Функция «TIMER OFF» (таймер выключения) полезна,
если вы хотите, чтобы устройство автоматически
выключалось после того, как вы ложитесь спать.
Кондиционер автоматически остановится в
установленное время.
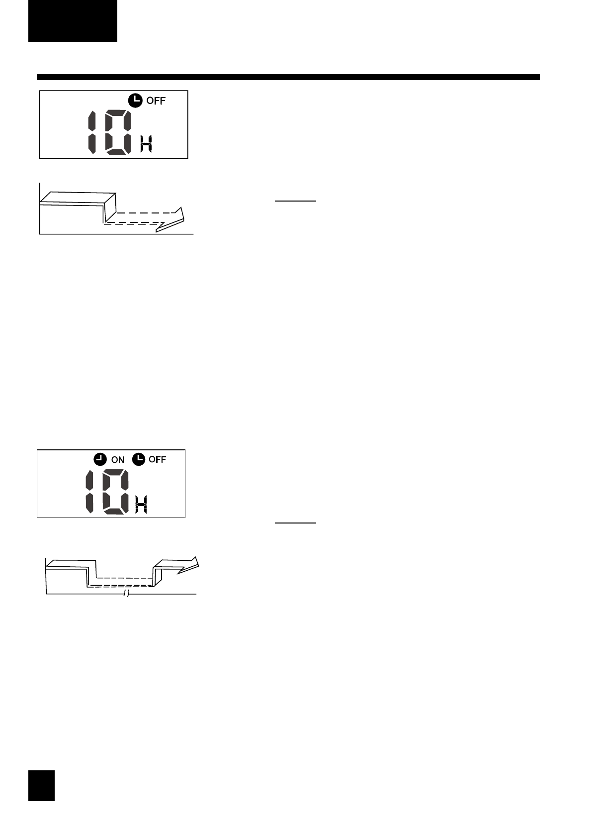
Пример:
Чтобы остановить кондиционер через 10 часов.
1. Отожмите кнопку «TIMER OFF» (таймер
выключения), на дисплее отобразится последняя
настройка времени остановки работы и сигнал «H».
2. Нажмите кнопку «TIMER OFF» (включение таймера),
чтобы отобразить «10 H» на «TIMER OFF» (включен)
дисплее пульта дистанционного управления.
3. Подождите 3 секунды, и на цифровом дисплее
снова отобразится температура. Индикатор «TIMER
OFF» (включения таймера) остается включенным, и
эта функция активируется.
КОМБИНИРОВАННЫЙ ТАЙМЕР
(Одновременная установка таймеров ВКЛЮЧЕНИЯ и
ВЫКЛЮЧЕНИЯ)
«TIMER OFF» (таймер выключения) → «TIMER ON»
(таймер включения)
(Включение → Остановка → Начало работы)
Эта функция полезна, когда вы хотите остановить
работу кондиционера после того, как вы ложитесь спать,
и запустить его заново утром, когда вы проснулись или
вернулись домой.
Пример:
Остановить кондиционер через 2 часа после установки
и запустить его снова через 10 часов после установки.
1. Нажмите кнопку «TIMER OFF» (включения таймера).
2. Нажмите кнопку «TIMER OFF» (таймер выключения)
еще раз, чтобы отобразить 2.0 H на дисплее «TIMER
OFF» (таймер выключения).
3. Нажмите кнопку «TIMER ON» (включения таймера).
4. Нажмите кнопку «TIMER ON» (таймер выключения)
еще раз, чтобы отобразить 10 H на дисплее «TIMER
ON» (таймер выключения).
5. Подождите 3 секунды, и на цифровом дисплее
снова отобразится температура. Индикатор «TIMER
ON OFF» (таймер выключения и выключения)
остается включенным, и эта функция активируется.
Остановка
Запуск
Остановка
Включение
Включение
Установка
Установка
10 часов спустя
Через 2
часа после
установки
Через 10
часа после
установки
Характеристики
Остались вопросы?Не нашли свой ответ в руководстве или возникли другие проблемы? Задайте свой вопрос в форме ниже с подробным описанием вашей ситуации, чтобы другие люди и специалисты смогли дать на него ответ. Если вы знаете как решить проблему другого человека, пожалуйста, подскажите ему :)