Кондиционеры Royal Clima RCI-TG38HN - инструкция пользователя по применению, эксплуатации и установке на русском языке. Мы надеемся, она поможет вам решить возникшие у вас вопросы при эксплуатации техники.
Если остались вопросы, задайте их в комментариях после инструкции.
"Загружаем инструкцию", означает, что нужно подождать пока файл загрузится и можно будет его читать онлайн. Некоторые инструкции очень большие и время их появления зависит от вашей скорости интернета.

9
УПРАВЛЕНИЕ КОНДИЦИОНЕРОМ
1
Cool
2
1
Dry
2
3
1
Fan
3
3
4
2
Режим осушения
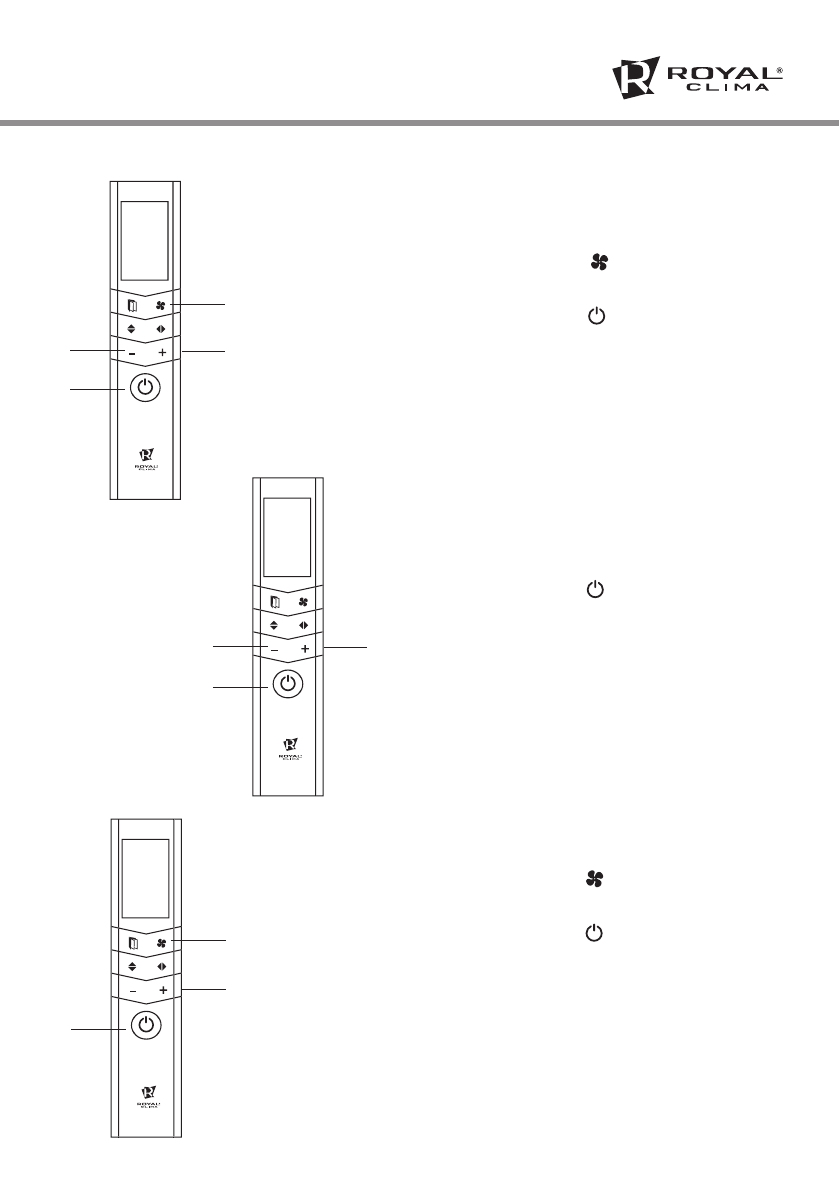
1. Нажмите кнопку
«
Pежим
»
для выбора ре-
жима осушения
2. Установите желаемую температуру с помо-
щью кнопок регулирования температуры
3. Нажмите кнопку для запуска прибора
Примечание:
В режиме осушения нельзя
изменить скорость вращения вентилятора
Режим вентилятор
1. Нажмите кнопку
«
Pежим
»
для выбора ре-
жима вентилятора
2. Нажмите кнопку для выбора скорости
вращения вентилятора: AUTO, низкая,
средняя, высокая
3. Нажмите кнопку для запуска прибора
Примечание:
В режиме вентилятор нельзя
установить температуру. На ЖК-дисплее не
будет отображаться температура
Режим охлаждения
1. Нажмите кнопку
«
Pежим
»
для выбора ре-
жима охлаждения
2. Установите желаемую температуру с помо-
щью кнопок регулирования температуры
3. Нажмите кнопку для выбора скорости
вращения вентилятора: AUTO, низкая, сред-
няя, высокая
4. Нажмите кнопку для запуска прибора