Кондиционеры Pioneer KFR35MW/KOR35MW - инструкция пользователя по применению, эксплуатации и установке на русском языке. Мы надеемся, она поможет вам решить возникшие у вас вопросы при эксплуатации техники.
Если остались вопросы, задайте их в комментариях после инструкции.
"Загружаем инструкцию", означает, что нужно подождать пока файл загрузится и можно будет его читать онлайн. Некоторые инструкции очень большие и время их появления зависит от вашей скорости интернета.

15
1.
После п
одачи
электро
питания нажмите кнопку «ON / OFF» на пульте дистанционного управления, чтобы
включить кондиционер.
2.
Нажмите кнопку «MODE», чтобы выбрать нужный режим:
АВТО, ОХЛАЖДЕНИЕ, ОСУШКА, ВЕНТИЛЯТОР, ОБОГРЕВ.
3.
Нажмите кнопку « » или « », чтобы з
адать
требуемую температуру. (Температура не может быть
отрегулирована в автоматическом режиме).
4.
Нажмите кнопку «FAN», чтобы установить необходимую скорость вентилятора: авто, низкую, среднюю
и высокую скорость.
5.
Нажмите кнопку «SWING», чтобы выбрать угол
наклона жалюзи
, з
адающих направление
в
ыхода воздуха
из внутреннего блока
.
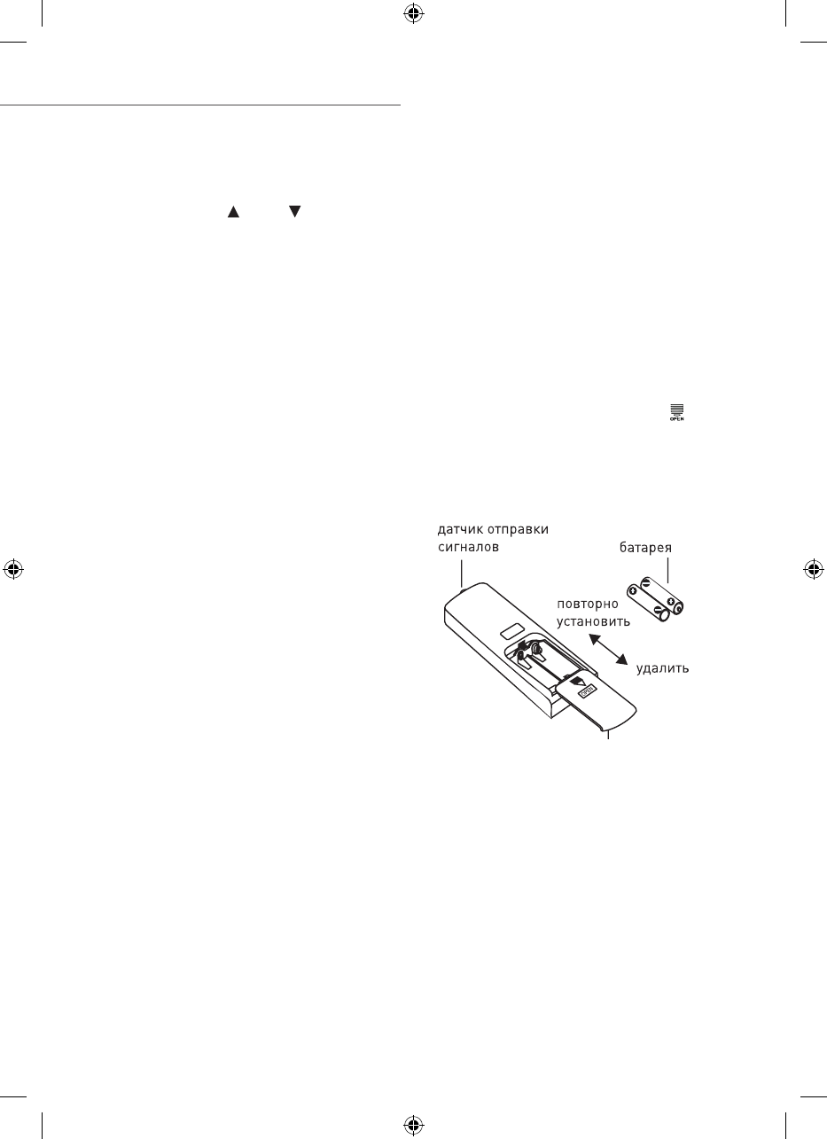
1. Нажмите заднюю сторону пульта дистанционного управления, отмеченную символом OPEN « », как
показано на рисунке, и снимите крышку батарейного отсека в направлении, указанном стрелкой.
2. Извлеките старые батарейки. Вставьте дв
а элемента питания
размера
AAA 1.5V, соблюдая
полярность.
3. Установите на место крышку батарейного отсека.
РУКОВОДСТВО ПО ЭКСПЛУАТАЦИИ
ЗАМЕНА БАТАРЕЙ В ПУЛЬТЕ ДИСТАНЦИОННОГО УПРАВЛЕНИЯ
• Во время работы направляйте датчик отправки сигналов пульта дистанционного управления н
а
приемник
ИК сигналов на внутреннем блоке.
• Расстояние между датчиком отправки сигналов и приемником ИК сигналов должно быть не более 8 м,
и между ними не должно быть препятствий.
• В помещении, где есть люминесцентны
е
лампы или беспроводной телефон, могут в
озникать
помехи
прохождению
ИК
сигнала; пульт дистанционного управления во время п
одачи команд в этом случае
должен
находиться рядом
с внутренним блоком.
• При замене батареек не используйте батарейки различных типов.
• Если вы не используете пульт дистанционного управления в течение длительного времени, выньте бата
-
рейки.
• Если дисплей на пульте дистанционного управления нечеткий или на дисплее не отображаются символы,
замените батарейки.
ПРИМЕЧАНИЕ:
крышка батарейного отсека
Характеристики
Остались вопросы?Не нашли свой ответ в руководстве или возникли другие проблемы? Задайте свой вопрос в форме ниже с подробным описанием вашей ситуации, чтобы другие люди и специалисты смогли дать на него ответ. Если вы знаете как решить проблему другого человека, пожалуйста, подскажите ему :)