Òåïëîìàø ÊÝÂ-4Ô85ÊÑ2 234030 - Инструкция по эксплуатации - Страница 9

Кондиционеры Òåïëîìàø ÊÝÂ-4Ô85ÊÑ2 234030 - инструкция пользователя по применению, эксплуатации и установке на русском языке. Мы надеемся, она поможет вам решить возникшие у вас вопросы при эксплуатации техники.

Если остались вопросы, задайте их в комментариях после инструкции.

"Загружаем инструкцию", означает, что нужно подождать пока файл загрузится и можно будет его читать онлайн. Некоторые инструкции очень большие и время их появления зависит от вашей скорости интернета.
Страница:
/ 16
Загружаем инструкцию
background image

9

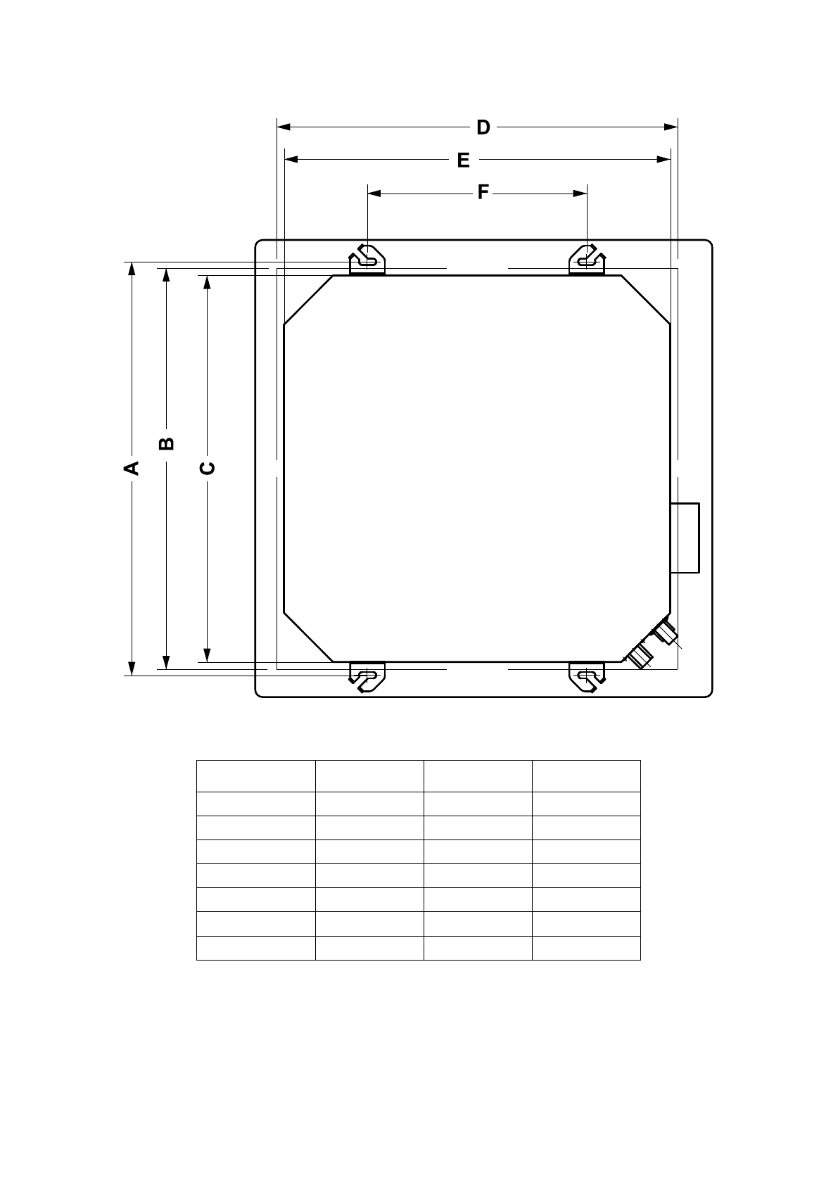
Модель

Ф65КС2

Ф85КС2

Ф105КС2

A

616

776

976

B

610

770

970

С

570

730

930

D

610

770

970

E

570

730

930

F

280

440

640

Размер панели

650X650

850X850

1050X1050

Полезные видео

Характеристики

Оцените статью
tehnopanorama.ru
Остались вопросы?

Не нашли свой ответ в руководстве или возникли другие проблемы? Задайте свой вопрос в форме ниже с подробным описанием вашей ситуации, чтобы другие люди и специалисты смогли дать на него ответ. Если вы знаете как решить проблему другого человека, пожалуйста, подскажите ему :)

Задать вопрос

Часто задаваемые вопросы
Как посмотреть инструкцию к Òåïëîìàø ÊÝÂ-4Ô85ÊÑ2 234030?
Необходимо подождать полной загрузки инструкции в сером окне на данной странице
Руководство на русском языке?
Все наши руководства представлены на русском языке или схематично, поэтому вы без труда сможете разобраться с вашей моделью
Как скопировать текст из PDF?
Чтобы скопировать текст со страницы инструкции воспользуйтесь вкладкой "HTML"