Кондиционеры NeoClima NS/NU-12T - инструкция пользователя по применению, эксплуатации и установке на русском языке. Мы надеемся, она поможет вам решить возникшие у вас вопросы при эксплуатации техники.
Если остались вопросы, задайте их в комментариях после инструкции.
"Загружаем инструкцию", означает, что нужно подождать пока файл загрузится и можно будет его читать онлайн. Некоторые инструкции очень большие и время их появления зависит от вашей скорости интернета.

24
Схема электрического подключения постоянного тока
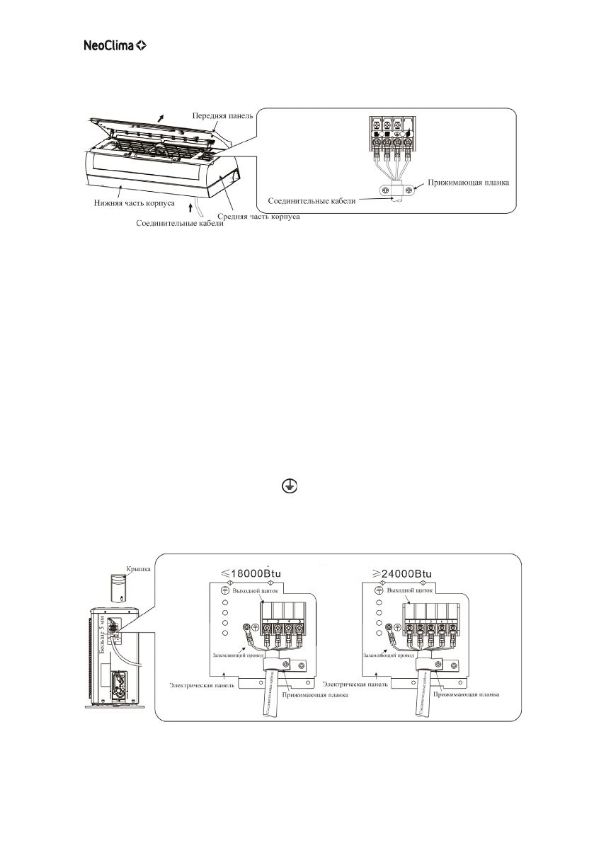
Откройте переднюю панель, если во внутреннем блоке есть сигнальный провод,
пожалуйста, отсоедините среднюю часть корпуса и пропустите провод через нижнюю
часть корпуса, а затем соедините сигнальные провода внутреннего и наружного
блоков.
Подключение наружного блока
•
Отвинтите винт и снимите крышку выходного щитка
•
Подключите соединительные провода к выходному щитку наружного блока
также, как они подключены во внутреннем блоке
•
Подключение заземляющего провода:
1.
Ослабьте заземляющий винт электрической панели.
2.
Соедините провод заземления с заземляющим винтом, а затем закрутите
его туда, где он был ранее («
»).
•
Зафиксируйте провод с помощью крепежной планки
•
Установите обратно крышку щитка
Схема электрического подключения постоянного тока
Содержание
- 3 сохраните его для использования в будущем.
- 4 СОДЕРЖАНИЕ
- 8 Не устанавливайте кондиционер под прямыми солнечными лучами.
- 9 У ТИЛИЗАЦИЯ ИЗДЕЛИЯ
- 11 использовать ПДУ, или в нем сели батарейки.
- 12 Проверка перед эксплуатацией; Убедитесь, что чистый фильтр правильно закреплен.; Меры предосторожности
- 13 УХОД И ТЕХНИЧЕСКОЕ ОБС ЛУЖИВАНИЕ; Выключите кондиционер и выньте вилку из розетки.; Очистка воздушного фильтра; Передняя панель
- 14 Техническое обслуживание; Выключите кондиционер и отключите питание.; ВОЗМОЖНЫЕ НЕИСПРАВНОС ТИ И ИХ УС ТРАНЕНИЕ
- 15 Руководство для покупателя; Монтаж должен осуществляться специалистами.; Примечания; Кондиционер должен быть установлен на хорошую прочную опору.
- 16 После установки вилка должна легко доставать до розетки.; ВЫБОР МЕС ТА ДЛЯ УС ТАНОВКИ; Необходимо принять меры, чтобы уменьшить шумы.; Наружный блок
- 17 УС ТАНОВКА ВНУ ТРЕННЕГО БЛОКА
- 19 Проверка слива воды
- 20 Подтягивайте гайку до тех пор, пока не услышите щелчок.; УС ТАНОВКА НАРУЖНОГО БЛОКА
- 21 Внешний вид трубы
- 22 Вытеснение воздуха из труб и внутреннего блока; Повторите третий и пятый шаги.
- 23 ЭЛЕК ТРИЧЕСКОЕ ПОДК ЛЮЧЕНИЕ
- 24 Отвинтите винт и снимите крышку выходного щитка; Схема электрического подключения постоянного тока
- 25 Схема электрического подключения переменного тока; Не меняйте полярность.; Это руководство, как правило, включает в себя информацию обо всех
- 26 ГАРАНТИЯ





