Кондиционеры LG UT60 - инструкция пользователя по применению, эксплуатации и установке на русском языке. Мы надеемся, она поможет вам решить возникшие у вас вопросы при эксплуатации техники.
Если остались вопросы, задайте их в комментариях после инструкции.
"Загружаем инструкцию", означает, что нужно подождать пока файл загрузится и можно будет его читать онлайн. Некоторые инструкции очень большие и время их появления зависит от вашей скорости интернета.

ZONE
Operation unit
Program set
Room Temp
MED
LO
AUTO
JET
Heater
Defrost
Filter
Preheat
Humidify
Out door
Time
Timer
On
Set no. Time
Off
01
03
05
07
09
11
13
15
17
19
21
23
1 2 3 4
AUTO SWING
OPERATION
FAN SPEED
SUB FUNCTION
SET TEMP
HI
HI
ZONE
Operation unit
Program set
Room Temp
MED
AUTO
JET
Heater
Defrost
Filter
Preheat
Humidify
Out door
Time
Timer
On
Set no. Time
Off
01
03
05
07
09
11
13
15
17
19
21
23
1 2 3 4
AUTO SWING
OPERATION
FAN SPEED
SUB FUNCTION
SET TEMP
LO
ZONE
Operation unit
Program set
Room Temp
MED
LO
AUTO
JET
Heater
Defrost
Filter
Preheat
Humidify
Out door
Time
Timer
On
Set no. Time
Off
01
03
05
07
09
11
13
15
17
19
21
23
1 2 3 4
AUTO SWING
OPERATION
FAN SPEED
SUB FUNCTION
SET TEMP
HI
ZONE
Operation unit
Program set
Room Temp
MED
LO
AUTO
JET
Heater
Defrost
Filter
Preheat
Humidify
Out door
Time
Timer
On
Set no. Time
Off
01
03
05
07
09
11
13
15
17
19
21
23
1 2 3 4
AUTO SWING
OPERATION
FAN SPEED
SUB FUNCTION
SET TEMP
HI
êÂÊËÏ Óı·ʉÂÌËfl êÂÊËÏ ÔÓÌËÊÂÌËfl
‚·ÊÌÓÒÚË
êÂÊËÏ Ó·Ó„Â‚‡
Ä‚ÚÓχÚ˘ÂÒÍËÈ
ÂÊËÏ
ꇷӘËÈ ‰ËÒÔÎÂÈ
ZONE
Operation unit
Program set
Room Temp
MED
LO
AUTO
JET
Heater
Defrost
Filter
Preheat
Humidify
Out door
Time
Timer
On
Set no. Time
Off
01
03
05
07
09
11
13
15
17
19
21
23
1 2 3 4
AUTO SWING
OPERATION
FAN SPEED
SUB FUNCTION
SET TEMP
HI
HI
ZONE
Operation unit
Program set
Room Temp
MED
AUTO
JET
Heater
Defrost
Filter
Preheat
Humidify
Out door
Time
Timer
On
Set no. Time
Off
01
03
05
07
09
11
13
15
17
19
21
23
1 2 3 4
AUTO SWING
OPERATION
FAN SPEED
SUB FUNCTION
SET TEMP
LO
HI
ZONE
Operation unit
Program set
Room Temp
LO
AUTO
JET
Heater
Defrost
Filter
Preheat
Humidify
Out door
Time
Timer
On
Set no. Time
Off
01
03
05
07
09
11
13
15
17
19
21
23
1 2 3 4
AUTO SWING
OPERATION
FAN SPEED
SUB FUNCTION
SET TEMP
MED
ZONE
Operation unit
Program set
Room Temp
MED
LO
AUTO
JET
Heater
Defrost
Filter
Humidify
Out door
Time
Timer
On
Set no. Time
Off
01
03
05
07
09
11
13
15
17
19
21
23
1 2 3 4
AUTO SWING
OPERATION
FAN SPEED
SUB FUNCTION
SET TEMP
HI
Preheat
ZONE
Operation unit
Program set
Room Temp
MED
LO
AUTO
JET
Heater
Defrost
Filter
Preheat
Humidify
Out door
Time
Timer
On
Set no. Time
Off
01
03
05
07
09
11
13
15
17
19
21
23
1 2 3 4
AUTO SWING
OPERATION
FAN SPEED
SUB FUNCTION
SET TEMP
HI
Preheat
ZONE
Operation unit
Program set
Room Temp
MED
LO
AUTO
JET
Heater
Filter
Humidify
Out door
Time
Timer
On
Set no. Time
Off
01
03
05
07
09
11
13
15
17
19
21
23
1 2 3 4
AUTO SWING
OPERATION
FAN SPEED
SUB FUNCTION
SET TEMP
HI
Defrost
12
íÂıÌË͇ ·ÂÁÓÔ‡ÒÌÓÒÚË
àÌÒÚÛ͈Ëfl ÔÓ ˝ÍÒÔÎÛ‡Ú‡ˆËË
ëÓ‰ÂʇÌËÂ Ë ÛıÓ‰
ìÒÚ‡ÌÂÌË ÌÂÔÓ·‰ÓÍ
ì‚Â΢ËÚ¸ ÚÂÏÔ‡ÚÛÛ
ìÏÂ̸¯ËÚ¸ ÚÂÏÔ‡ÚÛÛ
êÂÊËÏ Ó·Ó„Â‚‡ (ÚÓθÍÓ ‰Îfl ÏÓ‰ÂÎË Ò ÚÂÔÎÓ‚˚Ï Ì‡ÒÓÒÓÏ)
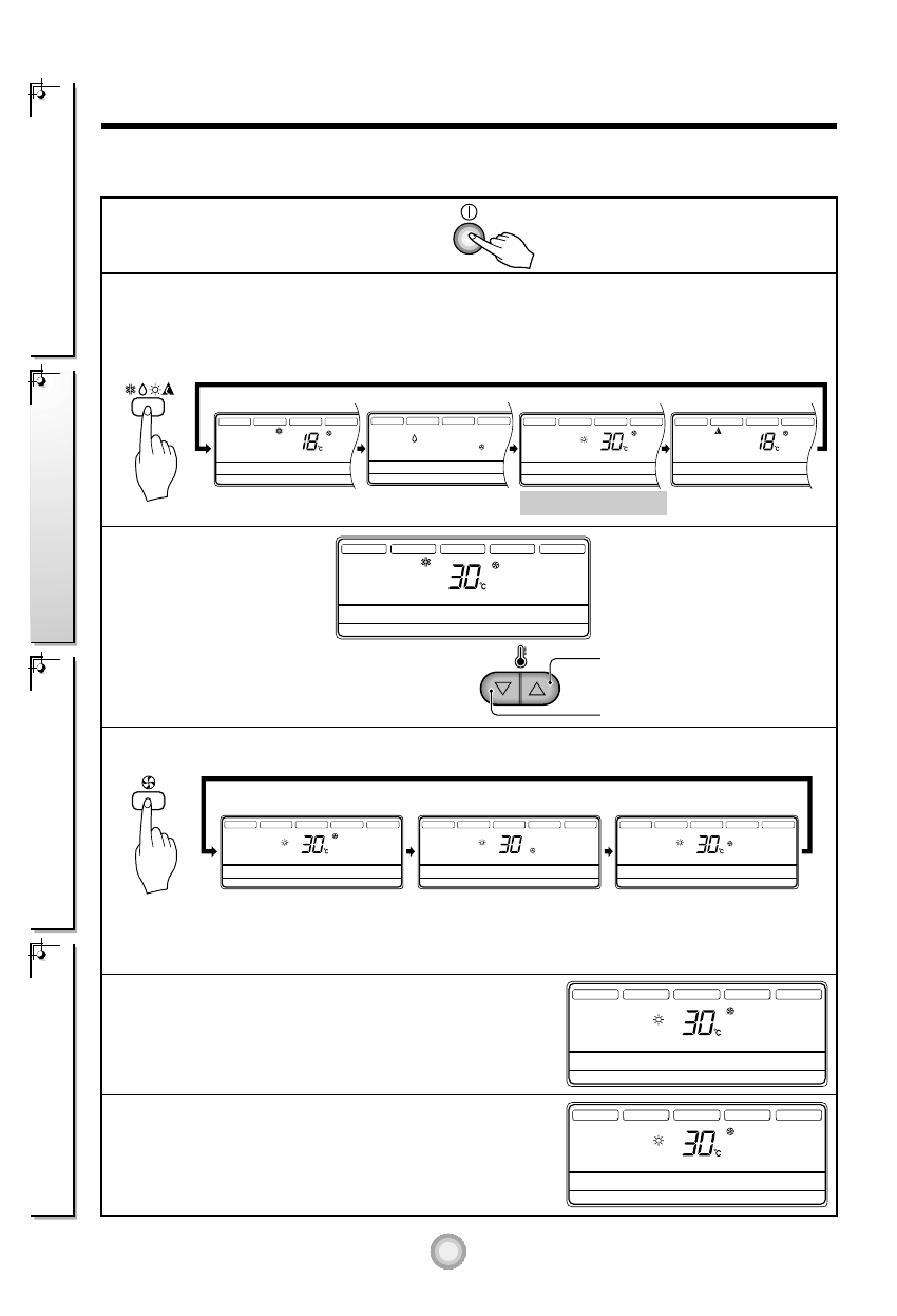
2
Ç˚·ÂËÚ ÂÊËÏ Ó·Ó„Â‚‡.
ç‡ÊÏËÚ ÍÌÓÔÍÛ ‚˚·Ó‡ ÂÊËχ ‡·ÓÚ˚.
èË Í‡Ê‰ÓÏ Ì‡Ê‡ÚËË ˝ÚÓÈ ÍÌÓÔÍË ÂÊËÏ ‡·ÓÚ˚ ËÁÏÂÌflÂÚÒfl ‚ ̇ԇ‚ÎÂÌËË ÒÚÂÎÍË.
3
ìÒÚ‡ÌÓ‚ËÚ Ê·ÂÏÛ˛
ÚÂÏÔ‡ÚÛÛ.
4
ìÒÚ‡ÌÓ‚ËÚ ÒÍÓÓÒÚ¸ ‚ÂÌÚËÎflÚÓ‡.
5
Ç ÍÓ̉ˈËÓÌ ԉÛÒÏÓÚÂ̇ ÒËÒÚÂχ ÍÓÌÚÓÎfl,
˜ÚÓ·˚ Ì ÔÓÔÛÒ͇ڸ ıÓÎÓ‰Ì˚È ‚ÓÁ‰Ûı ÔË ‡·ÓÚ ‚
ÂÊËÏ ӷӄ‚‡. èË ˝ÚÓÏ ÔÛÎ¸Ú ‰ËÒڇ̈ËÓÌÌÓ„Ó
ÛÔ‡‚ÎÂÌËfl ÔÓ͇Á˚‚‡ÂÚ ÂÊËÏ “PREHEAT”.
6
ÖÒÎË ÚÂÏÔ‡ÚÛ‡ ̇ ÛÎˈ ÒÎ˯ÍÓÏ ÌËÁ͇fl,
ÍÓ̉ˈËÓÌ ‡‚ÚÓχÚ˘ÂÒÍË ÔÂÂıÓ‰ËÚ ‚ ÂÊËÏ
ËÌÚÂÌÒË‚ÌÓ„Ó Ó·Ó„Â‚‡, ÔË ˝ÚÓÏ ÔÛθÚ
‰ËÒڇ̈ËÓÌÌÓ„Ó ÛÔ‡‚ÎÂÌËfl ÔÓ͇Á˚‚‡ÂÚ ÂÊËÏ
“DEFROST”.
1
ç‡ÊÏËÚ ÍÌÓÔÍÛ ‚Íβ˜ÂÌËfl.
• åÓÊÌÓ ÛÒÚ‡ÌÓ‚ËÚ¸
ÚÂÏÔ‡ÚÛÛ ‚ ‰Ë‡Ô‡ÁÓÌ ÓÚ
16°ë ‰Ó ~30°ë Ò ¯‡„ÓÏ ‚ 1°ë.
• åÓÊÌÓ ‚˚·‡Ú¸ ÚË ÒÍÓÓÒÚË ‚‡˘ÂÌËfl ‚ÂÌÚËÎflÚÓ‡: ‚˚ÒÓÍÛ˛ (HI), ÌËÁÍÛ˛ (LO) Ë
ÒÂ‰Ì˛˛ (MED).
• ç‡ ‰ËÒÔΠÔÓ͇Á‡Ì‡ ‚˚ÒÓ͇fl ÒÍÓÓÒÚ¸ ‚‡˘ÂÌËfl ‚ÂÌÚËÎflÚÓ‡.
• èË Í‡Ê‰ÓÏ Ì‡Ê‡ÚËË ÍÌÓÔÍË ÒÍÓÓÒÚ¸ ‚‡˘ÂÌËfl ‚ÂÌÚËÎflÚÓ‡ ËÁÏÂÌflÂÚÒfl.













