Кондиционеры LG UT18 - инструкция пользователя по применению, эксплуатации и установке на русском языке. Мы надеемся, она поможет вам решить возникшие у вас вопросы при эксплуатации техники.
Если остались вопросы, задайте их в комментариях после инструкции.
"Загружаем инструкцию", означает, что нужно подождать пока файл загрузится и можно будет его читать онлайн. Некоторые инструкции очень большие и время их появления зависит от вашей скорости интернета.

24
äÓÏ̇ÚÌ˚È ÍÓ̉ˈËÓÌÂ
ìÒÚ‡Ìӂ͇
åÂÚÓ‰ Ò Ï˚θÌÓÈ ‚Ó‰ÓÈ
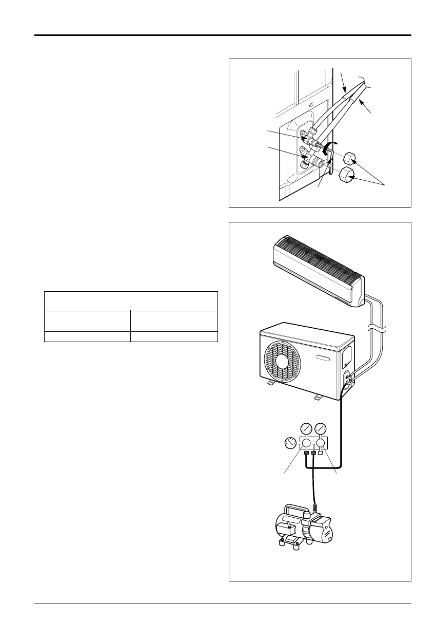
1. ëÌËÏËÚ Í˚¯ÍË Ò ‰‚ÛııÓ‰Ó‚Ó„Ó Ë ÚÂııÓ‰Ó‚Ó„Ó Í·ԇÌÓ‚.
2. ëÌËÏËÚ Í˚¯ÍÛ ‡·Ó˜Â„Ó ÓÚ‚ÂÒÚËfl Ò ÚÂııÓ‰Ó‚Ó„Ó Í·ԇ̇.
3. éÚÍÓÈÚ ‰‚ÛııÓ‰Ó‚ÓÈ Í·ԇÌ, ÔÓ‚ÂÌÛ‚ ¯ÚÓÍ Í·ԇ̇ ÔÓÚË‚
˜‡ÒÓ‚ÓÈ ÒÚÂÎÍË ÔË·ÎËÁËÚÂθÌÓ Ì‡ 90°, ÔÓ‰ÓʉËÚ 2~3 ÒÂÍ Ë
Á‡ÍÓÈÚ Í·ԇÌ.
4. ë ÔÓÏÓ˘¸˛ Ïfl„ÍÓÈ ÍËÒÚÓ˜ÍË Ì‡ÌÂÒËÚ Ï˚θÌÛ˛ ‚Ó‰Û ËÎË
ÌÂÈڇθÌ˚È ÊˉÍÓÒÚÌÓÈ ‡ÒÚ‚ÓËÚÂθ ̇ ÒÓ‰ËÌÂÌËfl
ÍÓÏ̇ÚÌÓ„Ó ÛÒÚÓÈÒÚ‚‡ Ë Ì‡ÛÊÌÓ„Ó ÛÒÚÓÈÒÚ‚‡ ‰Îfl ÔÓ‚ÂÍË
ÛÚ˜ÍË ˜ÂÂÁ ÒÚ˚ÍË ÚÛ·ÓÔÓ‚Ó‰‡.
5. ÖÒÎË ÔÓfl‚Îfl˛ÚÒfl ÔÛÁ˚¸ÍË, ˝ÚÓ Á̇˜ËÚ, ˜ÚÓ ‚ ÚÛ·ÓÔÓ‚Ó‰‡ı
ÂÒÚ¸ ÛÚ˜͇.
éÚ͇˜Í‡
1. èÓ‰ÒÓ‰ËÌËÚ ÍÓ̈ ‚ÔÛÒÍÌÓ„Ó ¯Î‡Ì„‡, Û͇Á‡ÌÌ˚ı ̇
Ô‰˚‰Û˘Ëı ÒÚ‡‰Ëflı, Í ‚‡ÍÛÛÏÌÓÏÛ Ì‡ÒÓÒÛ ‰Îfl ÓÚ͇˜ÍË
ÚÛ·ÓÔÓ‚Ó‰‡ Ë ÍÓÏ̇ÚÌÓ„Ó ÛÒÚÓÈÒÚ‚‡. ì·Â‰ËÚÂÒ¸ ‚ ÚÓÏ, ˜ÚÓ
͇ۘ "Lo" ‡ÒÔ‰ÂÎËÚÂθÌÓ„Ó Í·ԇ̇ ̇ıÓ‰ËÚÒfl ‚
ÓÚÍ˚ÚÓÏ ÔÓÎÓÊÂÌËË. èÓÒΠ˝ÚÓ„Ó Á‡ÔÛÒÚËÚ ‚‡ÍÛÛÏÌ˚È
̇ÒÓÒ. ÇÂÏfl ÓÚ͇˜ÍË Á‡‚ËÒËÚ ÓÚ ‰ÎËÌ˚ ÚÛ·ÓÔÓ‚Ó‰‡ Ë
ÔÓËÁ‚Ó‰ËÚÂθÌÓÒÚË Ì‡ÒÓÒ‡. Ç Û͇Á‡ÌÌÓÈ ÌËÊ ڇ·ÎˈÂ
Û͇Á‡ÌÓ ‚ÂÏfl, ÌÂÓ·ıÓ‰ËÏÓ ‰Îfl ÓÚ͇˜ÍË.
2. èË ‰ÓÒÚËÊÂÌËË ÌÂÓ·ıÓ‰ËÏÓ„Ó ‚‡ÍÛÛχ Ô‚‰ËÚ ۘÍÛ
"Lo" ‡ÒÔ‰ÂÎËÚÂθÌÓ„Ó Í·ԇ̇ ‚ Á‡Í˚ÚÓ ÔÓÎÓÊÂÌË Ë
ÓÒÚ‡ÌÓ‚ËÚ ‚‡ÍÛÛÏÌ˚È Ì‡ÒÓÒ.
ᇂ¯ÂÌË ‡·ÓÚ˚
1. ë ÔÓÏÓ˘¸˛ „‡Â˜ÌÓ„Ó Íβ˜‡ ‡·Ó˜Â„Ó Í·ԇ̇ ÔÓ‚ÂÌËÚ ¯ÚÓÍ
Í·ԇ̇ ÊˉÍÓÒÚÌÓ„Ó Í·ԇ̇ ÔÓÚË‚ ˜‡ÒÓ‚ÓÈ ÒÚÂÎÍË ‰Îfl
ÔÓÎÌÓ„Ó ÓÚÍ˚ÚËfl Í·ԇ̇.
2. èÓ‚ÂÌËÚ ¯ÚÓÍ „‡ÁÓ‚Ó„Ó Í·ԇ̇ ÔÓÚË‚ ˜‡ÒÓ‚ÓÈ ÒÚÂÎÍË
‰Îfl ÔÓÎÌÓ„Ó ÓÚÍ˚ÚËfl Í·ԇ̇.
3. çÂÏÌÓ„Ó ÓÚ‚ËÌÚËÚ ‚ÔÛÒÍÌÓÈ ¯Î‡Ì„, ÔÓ‰ÒÓ‰ËÌÂÌÌ˚È Í
‡·Ó˜ÂÏÛ „‡ÁÓ‚ÓÏÛ ÓÚ‚ÂÒÚ˲, ‰Îfl Ò·ÓÒ‡ ‰‡‚ÎÂÌËfl, ÔÓÒÎÂ
˜Â„Ó ÒÌËÏËÚ ¯Î‡Ì„.
4. á‡ÌÓ‚Ó ÛÒÚ‡ÌÓ‚ËÚ ̇ÍˉÌÛ˛ „‡ÈÍÛ Ë Â ÙËÍÒ‡ÚÓ Ì‡ ‡·Ó˜ÂÏ
ÓÚ‚ÂÒÚËË Ò „‡ÁÓ‚ÓÈ ÒÚÓÓÌ˚, ÔÓÒΠ˜Â„Ó ÓÒÚÓÓÊÌÓ Á‡ÚflÌËÚÂ
̇ÍˉÌÛ˛ „‡ÈÍÛ Ò ÔÓÏÓ˘¸˛ „ÛÎËÛÂÏÓ„Ó „‡Â˜ÌÓ„Ó Íβ˜‡.
чÌÌ˚È ÔÓˆÂÒÒ ËÏÂÂÚ Ó˜Â̸ ·Óθ¯Ó Á̇˜ÂÌË ‰Îfl
Ô‰ÓÚ‚‡˘ÂÌËfl ÛÚ˜ÍË ËÁ ÒËÒÚÂÏ˚.
5. á‡ÌÓ‚Ó ÛÒÚ‡ÌÓ‚ËÚ Í˚¯ÍË Í·ԇÌÓ‚ Ò „‡ÁÓ‚ÓÈ Ë ÊˉÍÓÒÚÌÓÈ
ÒÚÓÓÌ, ÔÓÒΠÁ‡ÍÂÔËÚ Ëı. ùÚË ‰ÂÈÒÚ‚ËÂÏ Á‡Í‡Ì˜Ë‚‡ÂÚÒfl
ÔӉۂ͇ ‚ÓÁ‰ÛıÓÏ Ò ÔÓÏÓ˘¸˛ ‚‡ÍÛÛÏÌÓ„Ó Ì‡ÒÓÒ‡. íÂÔ¸
ÍÓ̉ˈËÓÌ „ÓÚÓ‚ Í ‚˚ÔÓÎÌÂÌ˲ ÔÓ‚ÂÍË.
ɇÁ
ÜˉÍÓÒÚ¸
äÓÎÔ‡Í
òÂÒÚË„‡ÌÌ˚È
„‡Â˜Ì˚È Íβ˜
Ñ‚ÛııÓ‰Ó‚ÓÈ
Í·ԇÌ
(ÓÚÍ˚Ú)
íÂııÓ‰Ó‚ÓÈ
Í·ԇÌ
(Á‡Í˚Ú)
ÇÂÏfl, ÌÂÓ·ıÓ‰ËÏÓ ‰Îfl ÓÚ͇˜ÍË ÔË ËÒÔÓθÁÓ‚‡ÌËË
‚‡ÍÛÛÏÌÓ„Ó Ì‡ÒÓÒ‡ ÔÓËÁ‚Ó‰ËÚÂθÌÓÒÚ¸˛ 30 „‡Î/˜‡Ò
ÖÒÎË ‰ÎË̇ ÚÛ·ÓÔÓ‚Ó‰‡
ÏÂ̸¯Â 10 Ï (33 ÙÛÚÓ‚)
ÖÒÎË ‰ÎË̇ ÚÛ·ÓÔÓ‚Ó‰‡
·Óθ¯Â 10 Ï (33 ÙÛÚÓ‚)
äÓÏ̇ÚÌÓ ÛÒÚÓÈÒÚ‚Ó
ç‡ÛÊÌÓ ÛÒÚÓÈÒÚ‚Ó
Lo
Hi
ê‡ÒÔ‰ÂÎËÚÂθÌ˚È Í·ԇÌ
LJÍÛÛÏÌ˚È Ì‡ÒÓÒ
å‡ÌÓÏÂÚ
éÚÍ˚Ú
á‡Í˚Ú
10 ÏËÌ. ËÎË ·Óθ¯Â
15 ÏËÌ. ËÎË ·Óθ¯Â