Кондиционеры LG T28LH SB1 - инструкция пользователя по применению, эксплуатации и установке на русском языке. Мы надеемся, она поможет вам решить возникшие у вас вопросы при эксплуатации техники.
Если остались вопросы, задайте их в комментариях после инструкции.
"Загружаем инструкцию", означает, что нужно подождать пока файл загрузится и можно будет его читать онлайн. Некоторые инструкции очень большие и время их появления зависит от вашей скорости интернета.

8
Program set
Time
HI
ZONE
Operation unit
Room Temp
MED
LO
AUTO
JET
Heater
Defrost
Filter
Preheat
Humidify
Out door
Timer
On
Set no.
Off
1 2 3 4
AUTO SWING
OPERATION
FAN SPEED
SUB FUNCTION
SET TEMP
01
03
05
07
09
11
13
15
17
19
21
23
Time
íÂıÌË͇ ·ÂÁÓÔ‡ÒÌÓÒÚË
àÌÒÚÛ͈Ëfl ÔÓ ˝ÍÒÔÎÛ‡Ú‡ˆËË
ëÓ‰ÂʇÌËÂ Ë ÛıÓ‰
ìÒÚ‡ÌÂÌË ÌÂÔÓ·‰ÓÍ
ìÒÚ‡Ìӂ͇ ‚˚ıÓ‰ÌÓ„Ó ‰Ìfl
ìÒÚ‡Ìӂ͇ Ú‡Èχ
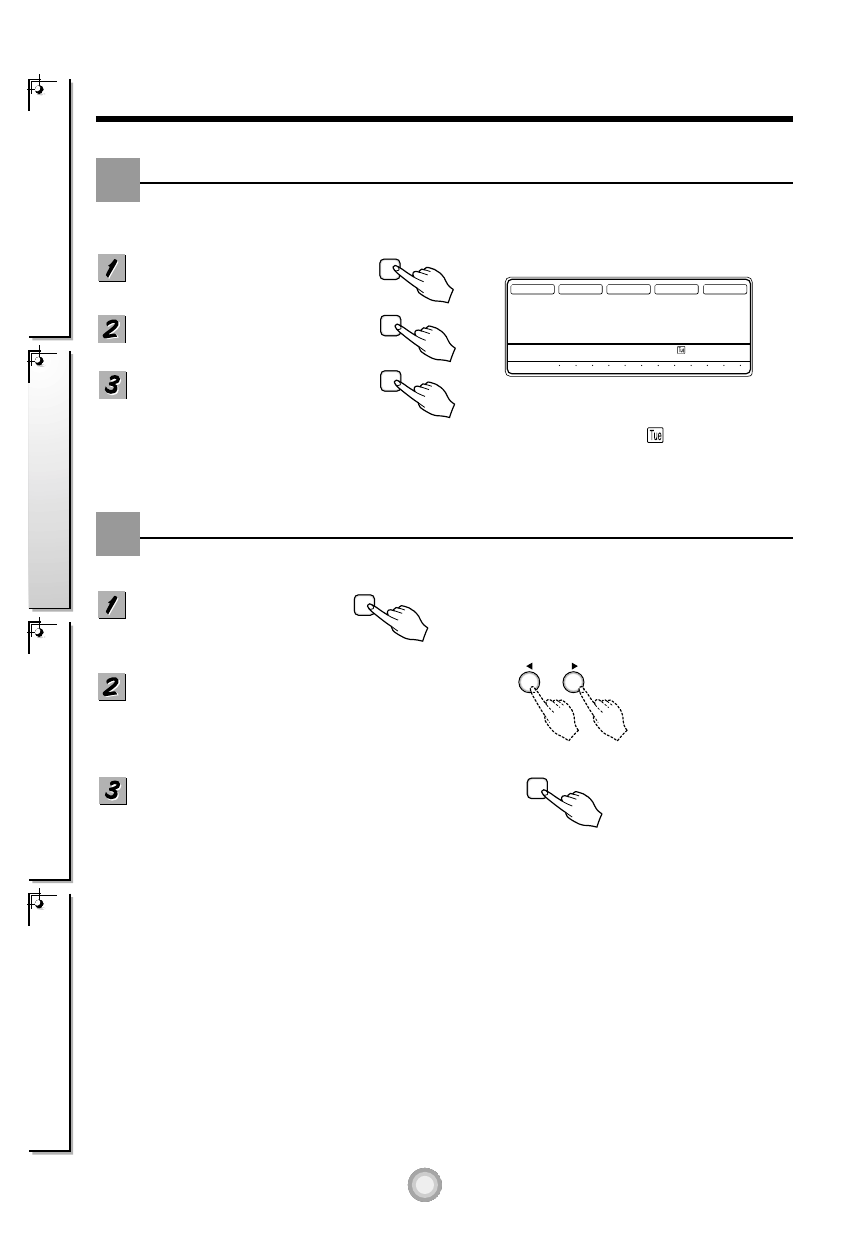
ÖÒÎË Ì‡ ‰‡ÌÌÓÈ Ì‰ÂΠÂÒÚ¸ ‚˚ıÓ‰ÌÓÈ ‰Â̸, ‚˚ ÏÓÊÂÚ ̇Á̇˜ËÚ¸ „Ó.
ç‡ÊÏËÚ ÍÌÓÔÍÛ ÔÓ„‡ÏÏ˚.
ç‡ÊÏËÚ ÍÌÓÔÍÛ Ì‰ÂÎË.
ç‡ÊÏËÚ ÍÌÓÔÍÛ ‚˚ıÓ‰ÌÓ„Ó ‰Ìfl.
á‡ÚÂÏ Ì‡ ‰ËÒÔÎÂÈ ÔÛθڇ ‰ËÒڇ̈ËÓÌÌÓ„Ó ÛÔ‡‚ÎÂÌËfl ·Û‰ÂÚ ‚˚‚‰ÂÌÓ ' '.
ÇÒÂ, ˜ÚÓ Ì‡ıÓ‰ËÚÒfl Á‡ ԉ·ÏË ÔflÏÓÛ„ÓθÌË͇, ÓÁ̇˜‡ÂÚ ‚˚ıÓ‰ÌÓÈ ‰Â̸.
Program
ç‡ÊÏËÚ ÍÌÓÔÍÛ Ú‡Èχ.
Timer
àÁÏÂÌËÚ ÛÒÚ‡ÌÓ‚ÍÛ Ú‡Èχ Ú‡Í, ˜ÚÓ·˚ ÔÓÎÛ˜ËÚ¸
Ú·ÛÂÏÓ ‚ÂÏfl.
Min
Hour
ÖÒÎË ‚˚ Ê·ÂÚ ‚˚Íβ˜ËÚ¸ Ú‡ÈÏÂ, ‚ÓÒÔÓθÁÛÈÚÂÒ¸
ÍÌÓÔÍÓÈ ‚˚Íβ˜ÂÌËfl Ú‡Èχ.
Cancel
Week
Holiday












