Кондиционеры JAX ACI-18HE - инструкция пользователя по применению, эксплуатации и установке на русском языке. Мы надеемся, она поможет вам решить возникшие у вас вопросы при эксплуатации техники.
Если остались вопросы, задайте их в комментариях после инструкции.
"Загружаем инструкцию", означает, что нужно подождать пока файл загрузится и можно будет его читать онлайн. Некоторые инструкции очень большие и время их появления зависит от вашей скорости интернета.

6
Световые
индикаторы
на
(
экранной
)
панели
Экранная
панель
на
блоке
,
который
находится
внутри
помещения
,
будет
иметь
один
из
следующих
видов
:
Для
моделей
кондиционеров
,
которые
только
охлаждают
, (
≥
21000
Британских
тепловых
единиц
/
ч
)
световой
индикатор
отражает
режим
«FAN
ONLY/
ТОЛЬКО
ВЕНТИЛИРОВАНИЕ
».
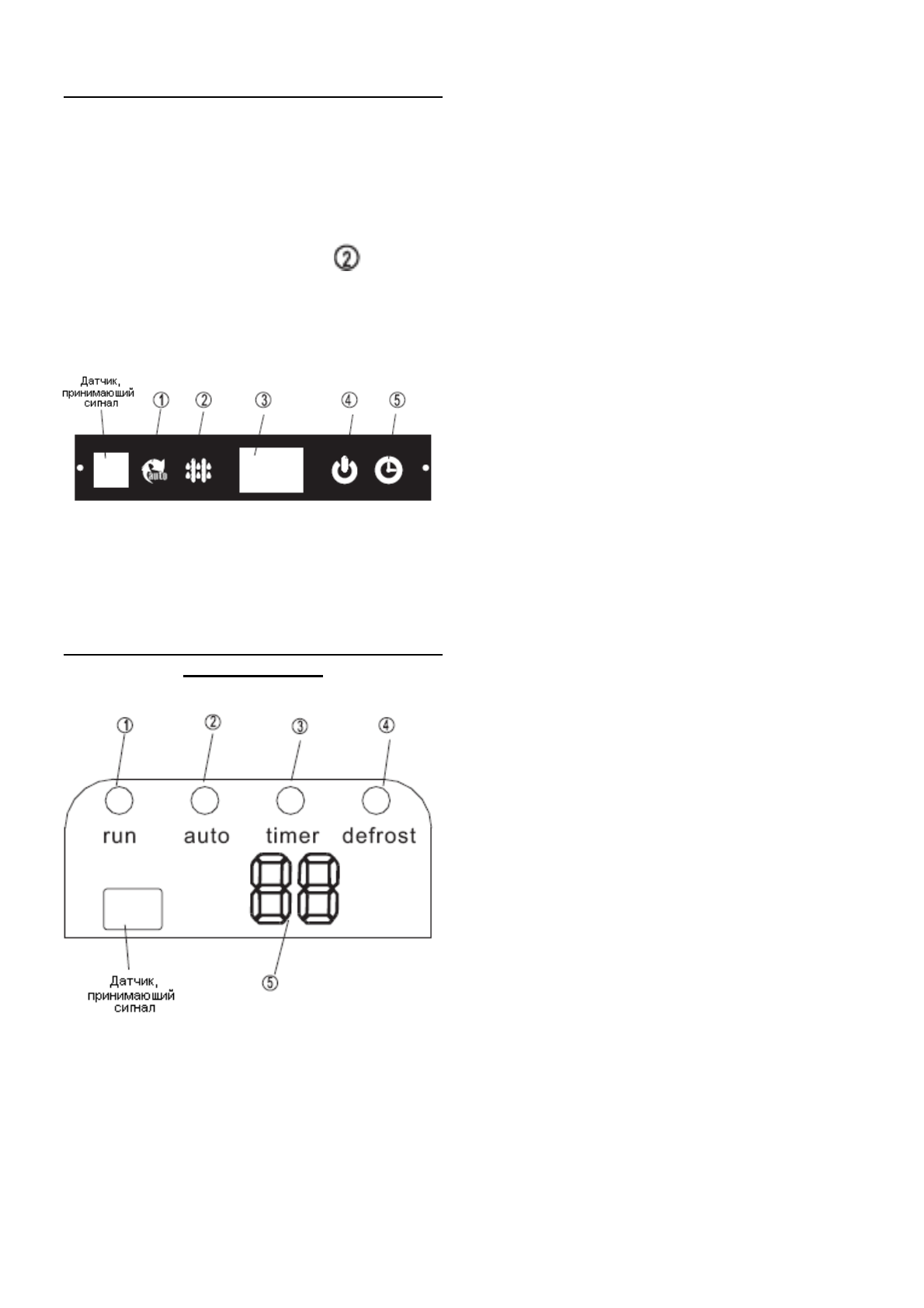
1.
Индикатор
«AUTO/
АВТОМАТИЧЕСКИЙ
РЕЖИМ
»:
Данный
индикатор
светится
,
когда
кондиционер
воздуха
работает
в
автоматическом
режиме
.
2.
Индикатор
«DEFROST/
РАЗМОРАЖИВАНИЕ
»:
(
Только
для
моделей
кондиционеров
,
которые
охлаждают
и
нагревают
)
Этот
индикатор
светится
,
когда
кондиционер
воздуха
начинает
размораживание
автоматически
,
или
когда
в
режиме
нагревания
активирована
функция
управления
подачей
теплого
воздуха
.
3. DIGITAL DISPLAY /
ЦИФРОВОЙ
ДИСПЛЕЙ
:
Отображает
текущую
устанавливающуюся
температуру
или
код
ошибки
,
когда
кондиционер
воздуха
находится
в
действии
.
4.
Индикатор
«OPERATION /
В
РАБОТЕ
»:
Индикатор
мигает
один
раз
в
секунду
после
включения
питания
,
и
светится
постоянно
,
когда
кондиционер
воздуха
находится
в
действии
.
5.
Индикатор
«TIMER /
ТАЙМЕР
»:
Индикатор
светится
,
когда
таймер
включен
/
выключен
(ON/OFF).
Световые
индикаторы
на
(
экранной
)
панели
(
для
серии
ACL)
1.
Индикатор
«Run/
Работа
»:
Индикатор
мигает
1
раз
в
секунду
после
включения
питания
,
и
светится
постоянно
,
когда
кондиционер
воздуха
находится
в
действии
.
2.
Индикатор
«Auto/
Автоматический
режим
»:
Данный
индикатор
светится
,
когда
кондиционер
воздуха
работает
в
автоматическом
режиме
.
3.
Индикатор
«Timer /
Таймер
»:
Индикатор
светится
,
когда
таймер
включен
/
выключен
(ON/OFF).
4.
Индикатор
«Defrost/
Размораживание
»:
(
Только
для
моделей
кондиционеров
,
которые
охлаждают
и
нагревают
)
Данный
индикатор
светится
,
когда
кондиционер
воздуха
начинает
размораживание
автоматически
,
или
когда
в
режиме
нагревания
активирована
функция
управления
подачей
теплого
воздуха
.
5. DIGITAL DISPLAY /
ЦИФРОВОЙ
ДИСПЛЕЙ
:
Отображает
текущую
устанавливающуюся
температуру
,
когда
кондиционер
воздуха
находится
в
действии
.