Кондиционеры DEXP AC-PS07MD/W - инструкция пользователя по применению, эксплуатации и установке на русском языке. Мы надеемся, она поможет вам решить возникшие у вас вопросы при эксплуатации техники.
Если остались вопросы, задайте их в комментариях после инструкции.
"Загружаем инструкцию", означает, что нужно подождать пока файл загрузится и можно будет его читать онлайн. Некоторые инструкции очень большие и время их появления зависит от вашей скорости интернета.

12
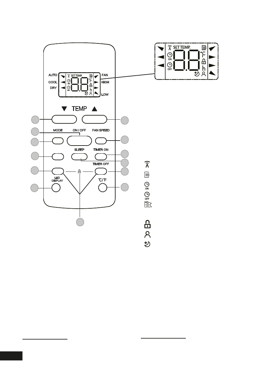
1. Кнопка уменьшения температуры.
2. Кнопка увеличения температуры.
3. ON/OFF: кнопка включения/выключения.
4. FAN SPEED: кнопка выбора скорости
вентилятора.
5. MODE: кнопка выбора режима.
6. TIMER ON: кнопка включения таймера.
7. SHORT CUT: избранные настройки.
8. SLEEP: ночной режим.
9. I SENSE: режим индивидуальной на
-
стройки.
10. TIMER OFF: кнопка выключения таймера.
11. LED DISPLAY: вкл./выкл. дисплей.
12. °C/ °F : выбор температурной шкалы.
13. Блокировка пульта
*
.
* Для блокировки пульта одновременно за
-
жмите и у удерживайте 5 секунд кнопки
«I SENSE» и «TIMER OFF».
Пульт ДУ
I SENSE
1
3
5
7
9
11
2
4
6
8
10
12
SHORT CUT
MED
13
AUTO
COOL
DRY
FAN
HIGH
MED
LOW
Обозначения на экране:
Режимы:
• AUTO – Авторежим
*
;
• COOL -Охлаждение;
• DRY – Осушение;
• FAN – Режим вентиляции.
Скорость работы вентилятора:
• HIGH – Высокая;
• MED – Средняя;
• LOW – Низкая.
Передача команд устройству;
Пульт включен;
Таймер включен;
Таймер выключен;
Температура / время работы
таймера;
Настройки заблокированы;
Активирован режим «I SENSE»;
Активирован режим «SLEEP».
* Режим AUTO недоступен для моде
-
лей AC-PS07MD/W, AC-PS09MD/W.
Характеристики
Остались вопросы?Не нашли свой ответ в руководстве или возникли другие проблемы? Задайте свой вопрос в форме ниже с подробным описанием вашей ситуации, чтобы другие люди и специалисты смогли дать на него ответ. Если вы знаете как решить проблему другого человека, пожалуйста, подскажите ему :)