Кондиционеры Ardesto ACM-09CRN7 - инструкция пользователя по применению, эксплуатации и установке на русском языке. Мы надеемся, она поможет вам решить возникшие у вас вопросы при эксплуатации техники.
Если остались вопросы, задайте их в комментариях после инструкции.
"Загружаем инструкцию", означает, что нужно подождать пока файл загрузится и можно будет его читать онлайн. Некоторые инструкции очень большие и время их появления зависит от вашей скорости интернета.

36
Preparation
8
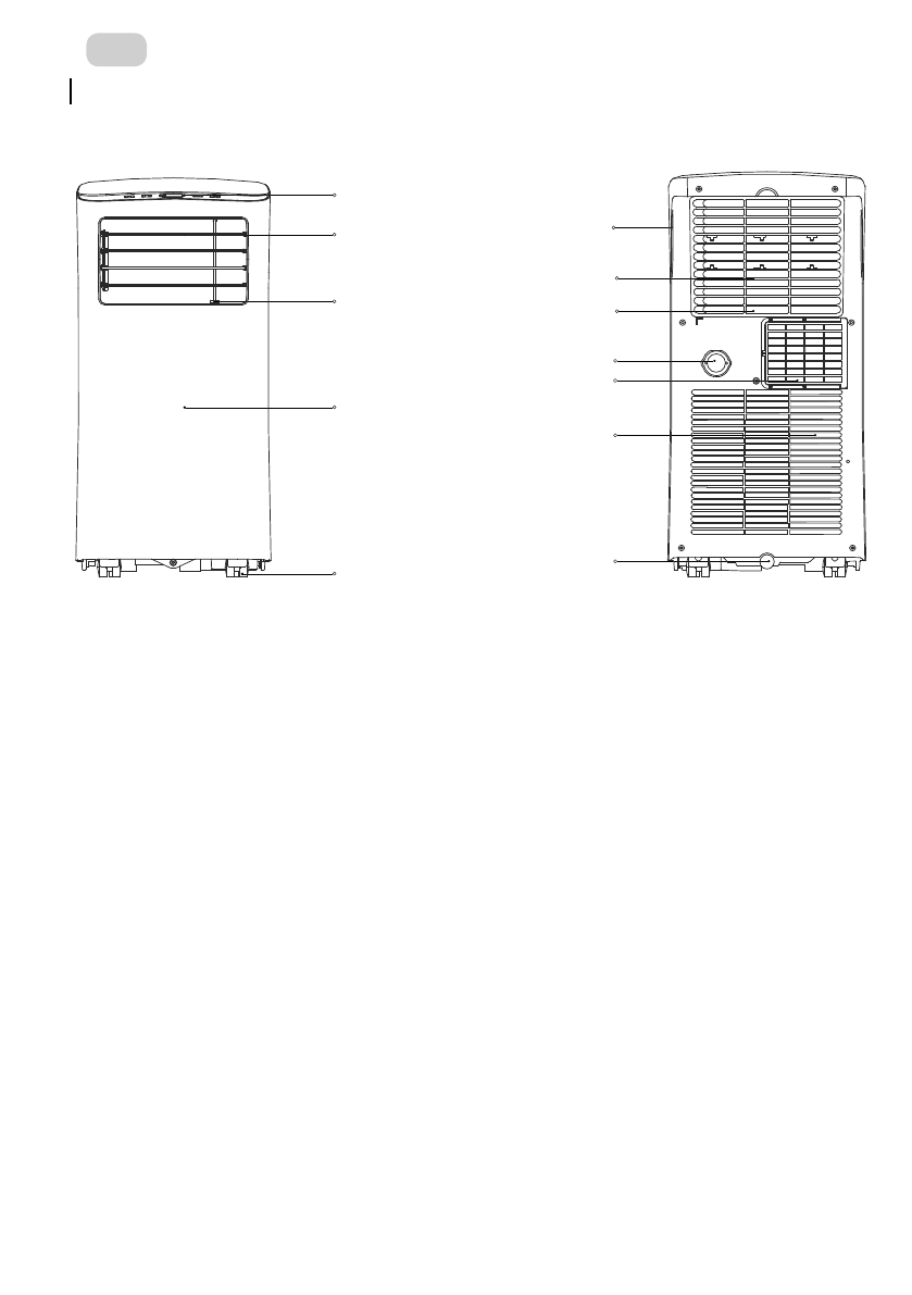
control panel
handle
(both sides)
horizontal louver control
lever(adjust manually)
vertical louver control
lever(adjust manually)
panel
Caster
bottom tray
drain outlet
air filter
(behind the grille)
upper air intake
air outlet
lower air intake
drain outlet
NOTE: PHA can not be
adjusted.
NOTE: PHA can not be
adjusted.
r e a r
f r o n t
EN
Характеристики
Остались вопросы?Не нашли свой ответ в руководстве или возникли другие проблемы? Задайте свой вопрос в форме ниже с подробным описанием вашей ситуации, чтобы другие люди и специалисты смогли дать на него ответ. Если вы знаете как решить проблему другого человека, пожалуйста, подскажите ему :)
