Кондиционеры Aeronik ASI/ASO-12IL - инструкция пользователя по применению, эксплуатации и установке на русском языке. Мы надеемся, она поможет вам решить возникшие у вас вопросы при эксплуатации техники.
Если остались вопросы, задайте их в комментариях после инструкции.
"Загружаем инструкцию", означает, что нужно подождать пока файл загрузится и можно будет его читать онлайн. Некоторые инструкции очень большие и время их появления зависит от вашей скорости интернета.

Установка снегозащитного ограждения
25
Высота фундамента с учетом снега
(более 50 см)
Высота фундамента с учетом снега
(более 50 см)
более 50 с
м
Сезонный
ветер
Сезонный
ветер
Правильно
Неправильно
Снегозащитное
ограждение
(устанавливается на
наветренной стороне)
Снегозащитное
ограждение
(обеспечить
на местах)
Наветренная сторона
более 1 м
более 20 см
более 50 см
Снегозащитное
ограждение должно
быть шире чем
кондиционер
Снегозащитное
ограждение должно
быть шире чем
кондиционер
.
Стена
Стена
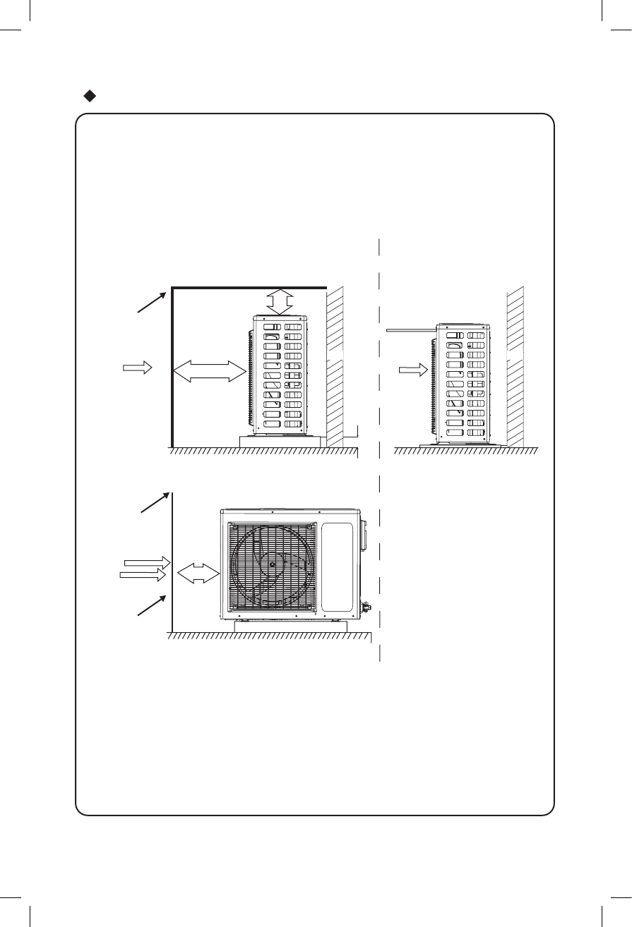
Способ установки снегозащитного ограждения с учетом присутствия снега во время
установки наружных блоков.
Примечание: Необходимо устанавливать снегозащитное ограждение и высокую подошву
фундамента, чтобы предотвратить закупоривание воздухозаборника.
 
  
  
  
  
  
  
  
  
  
  
  
  
  
  
  
  
  
  
  
  
  
  
  
  
  
  
 










