Кондиционеры HYUNDAI H-PAC07-R12E - инструкция пользователя по применению, эксплуатации и установке на русском языке. Мы надеемся, она поможет вам решить возникшие у вас вопросы при эксплуатации техники.
Если остались вопросы, задайте их в комментариях после инструкции.
"Загружаем инструкцию", означает, что нужно подождать пока файл загрузится и можно будет его читать онлайн. Некоторые инструкции очень большие и время их появления зависит от вашей скорости интернета.

IM2021
11
9.
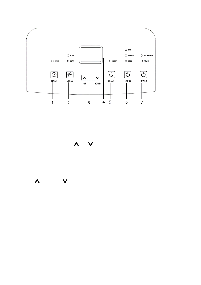
РЕЖИМЫ РАБОТЫ
Рисунок 16*
*Изображение приведено в качестве справочной информации и может отличаться от реальной панели
управления
1. Кнопка TIMER
Используется для включения программы АВТОМАТИЧЕСКОГО ВКЛЮЧЕНИЯ и АВТОМАТИЧЕСКОГО
ВЫКЛЮЧЕНИЯ, вместе с кнопками «
» и «
».
2. Кнопка SPEED
Нажмите для выбора скорости вентилятора: НИЗКАЯ, ВЫСОКАЯ. Индикатор скорости вентилятора
загорается при других настройках вентилятора за исключением скорости АВТО. При выборе
скорости вентилятора АВТО, все индикаторы вентилятора выключаются.
3. Кнопки UP «
» и DOWN «
»
Используется для регулировки температуры с шагом 1 °С в диапазоне от 16 °С до 31 °С или
настройки ТАЙМЕРА в диапазоне 0~24 часа.
4. Дисплей с индикаторами
5. Кнопка SLEEP
6. Кнопка выбора режима работы MODE.
Выбирает соответствующий режим работы. Каждый раз при нажатии кнопки выбирается режим
работы в следующей последовательности: ОХЛАЖДЕНИЕ, ОСУШЕНИЕ и ВЕНТИЛЯТОР. Индикатор
режима работы загорается при установке другого режима.
7. Кнопка POWER
Используется для включения/выключения устройства.
Содержание
- 3 Если изделие некоторое время находилось при температуре ниже 0
- 4 Не используйте принадлежности, не входящие в комплект поставки.; ПРИМЕЧАНИЕ
- 7 УСТАНОВКА ПРИБОРА
- 9 Рисунок 11 Рисунок 12
- 10 Пульт дистанционного управления*
- 11 Используется для включения/выключения устройства.
- 13 не чиститься, рекомендуется замена угольного фильтра раз в год.; Корпус
- 14 опционально, работает только в режиме осушения; Установите дренажную трубку* в сливное отверстие.; *Не входит в комплект поставки
- 15 Неисправность; Перебои в электропитании
- 16 УТИЛИЗАЦИЯ, СРОК СЛУЖБЫ, ГАРАНТИЙНЫЙ СРОК
- 17 ТРАНСПОРТИРОВКА И ХРАНЕНИЕ; Температурные требования













