Кондиционеры Daikin FLXS-B - инструкция пользователя по применению, эксплуатации и установке на русском языке. Мы надеемся, она поможет вам решить возникшие у вас вопросы при эксплуатации техники.
Если остались вопросы, задайте их в комментариях после инструкции.
"Загружаем инструкцию", означает, что нужно подождать пока файл загрузится и можно будет его читать онлайн. Некоторые инструкции очень большие и время их появления зависит от вашей скорости интернета.

■
Р
ó
сс
ê
ий
10
Работа
с
Тр
ó
бопроводом
для
Хлада
ã
ента
При
монтаже
выполняйте
работ
ó
по
инстр
óê
ции
из
р
óê
оводства
по
монтаж
ó,
поставляемо
ã
о
с
нар
ó
жным
бло
ê
ом
для
множественной
ê
онфи
ãó
рации
.
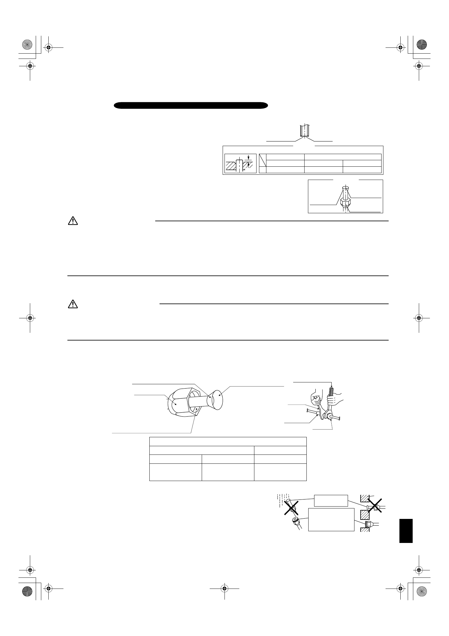
1.
Раст
pó
б
на
ê
онце
т
pó
бы
.
1)
Обрежьте
ê
онец
тр
ó
бы
тр
ó
борезальным
приспособлением
.
2)
Удалите
за
ó
сенцы
с
поверхности
резания
,
направленной
вниз
,
во
избежание
попадания
ê
рош
ê
и
от
резания
в
тр
ó
б
ó.
3)
Наденьте
на
тр
ó
б
ó ã
ай
êó
растр
ó
ба
.
4)
Выполните
растр
ó
б
.
5)
Про
ê
онтролир
ó
йте
правильность
выполнения
растр
ó
ба
.
П
p
ед
ó
п
p
еждения
1)
Не
наносите
на
растр
ó
б
минеральное
масло
.
2)
Обере
ã
айте
систем
ó
от
попадания
в
нее
минерально
ã
о
масла
,
пос
ê
оль
êó
это
приводит
ê óê
орачиванию
сро
ê
а
сл
ó
жбы
бло
ê
ов
.
3)
Ни
в
ê
оем
сл
ó
чае
не
польз
ó
йтесь
тр
ó
бопроводом
,
ранее
использованным
в
др
óã
их
ó
станов
ê
ах
.
Использ
ó
йте
толь
ê
о
ê
омпоненты
,
поставляемые
с
бло
ê
ом
.
4)
Для
обеспечения
ó
становленно
ã
о
сро
ê
а
сл
ó
жбы
бло
ê
а
R410A
ни
в
ê
оем
сл
ó
чае
не
помещайте
в
не
ã
о
с
ó
шильный
материал
.
5)
С
ó
шильный
материал
может
раствориться
и
повредить
систем
ó.
6)
Недостаточный
растр
ó
б
может
привести
ê ó
теч
ê
е
ã
азообразно
ã
о
хлада
ã
ента
.
2.
Система
т
pó
б
для
хлад
-
а
ã
ента
.
П
p
едосте
p
ежение
1)
Использ
ó
йте
ã
ай
êó
растр
ó
ба
,
при
ê
репленн
ó
ю
ê
основном
ó
бло
êó. (
Для
предотвращения
образования
трещин
вследствие
о
ê
исления
.)
2)
Для
предотвращения
ó
теч
ê
и
ã
аза
наносите
охлаждающее
масло
толь
ê
о
на
вн
ó
треннюю
поверхность
растр
ó
ба
.
(
Использ
ó
йте
охлаждающее
масло
для
R410A.)
3)
Использ
ó
йте
для
затяж
ê
и
ã
ае
ê
растр
ó
бов
динамометричес
ê
ие
ã
аечные
ê
лючи
для
предотвращения
повреждения
ã
ае
ê
и
ó
теч
ê
и
ã
аза
.
Совместите
центры
обеих
растр
ó
бов
и
затяните
ã
ай
ê
и
растр
ó
бов
,
сделав
3
или
4
оборота
р
óê
ой
.
После
это
ã
о
затяните
их
полностью
с
помощью
динамометричес
ê
их
ê
лючей
.
2-1.
Меры
предосторожности
при
работе
с
тр
ó
бами
1)
Защищайте
от
ê
рытый
ê
онец
тр
ó
бы
от
попадания
пыли
и
вла
ã
и
.
2)
Все
из
ã
ибы
тр
ó
б
должны
быть
ê
а
ê
можно
более
плавными
.
Для
из
ã
иба
польз
ó
йтесь
ã
ибочной
машиной
для
тр
ó
б
.
! " #$%
%%
&' (
%)
* + , &* - (
.
! "
#
#
$%
!& "
!""#$
"%!&'#$
! #$
(!' $)
(%'%!&%$)
(! %$)
09_RU_3P171284-2E.fm Page 10 Thursday, August 22, 2013 2:09 PM