Кондиционеры Daikin EWAD-E-SL - инструкция пользователя по применению, эксплуатации и установке на русском языке. Мы надеемся, она поможет вам решить возникшие у вас вопросы при эксплуатации техники.
Если остались вопросы, задайте их в комментариях после инструкции.
"Загружаем инструкцию", означает, что нужно подождать пока файл загрузится и можно будет его читать онлайн. Некоторые инструкции очень большие и время их появления зависит от вашей скорости интернета.

D
–EIMAC00704-14RU - 22/72
О других решениях проконсультируйтесь у технических специалистов Daikin.
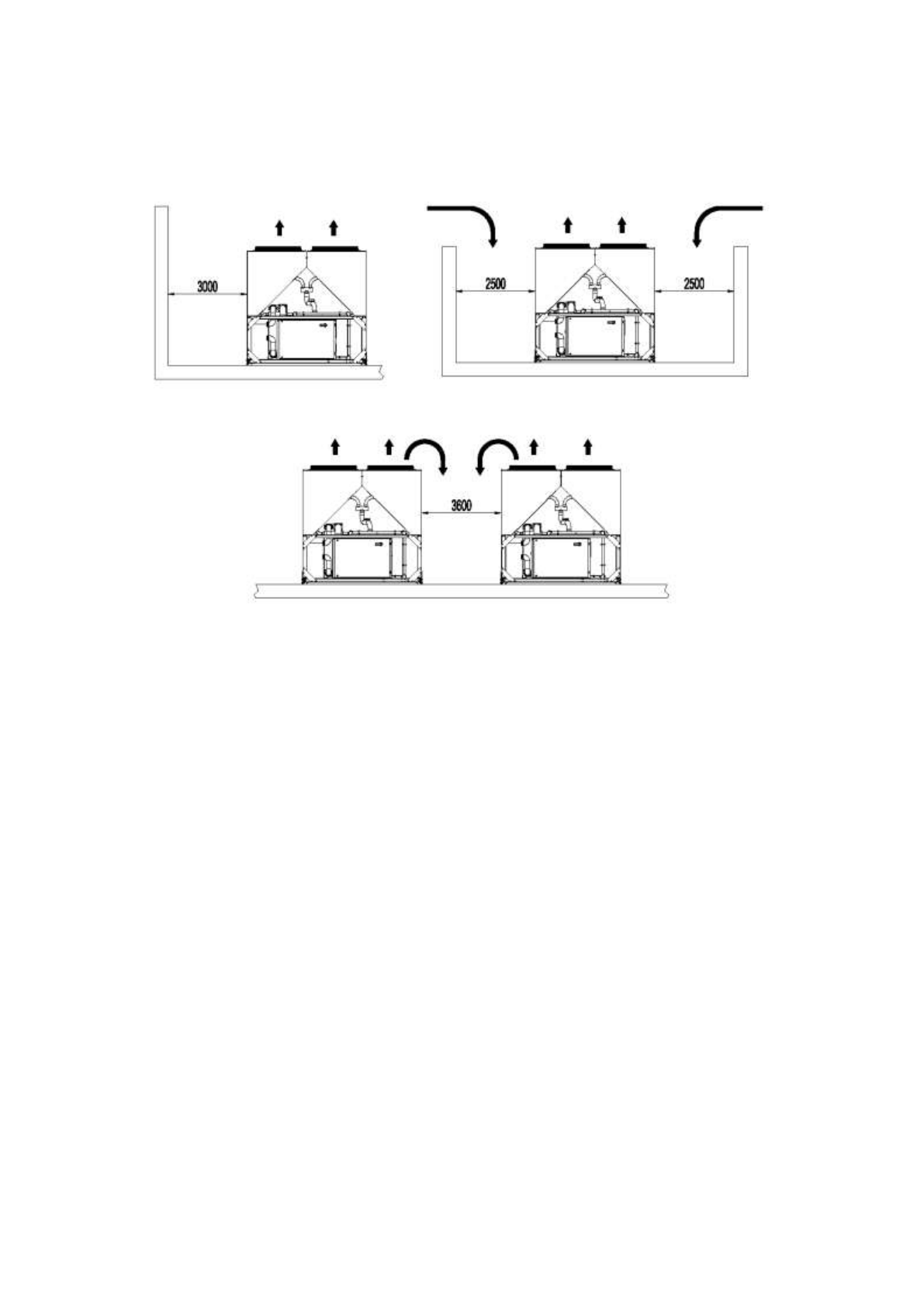
ШИРИНА АГРЕГАТОВ МОЖЕТ РАЗЛИЧАТЬСЯ, НО МИНИМАЛЬНОЕ РАССТОЯНИЕ, РЕКОМЕНДУЕМОЕ ДЛЯ
УСТАНОВКИ, ОСТАЕТСЯ ТЕМ ЖЕ.
Рис. 6 - минимальные расстояния, рекомендуемые для установки
Защита от шума
Если уровень шума требует особого контроля, необходимо с величайшей осторожностью изолировать агрегат от
основания, применив соответствующие антивибрационные устройства (поставляются отдельно). Кроме того, на
водяных соединениях необходимо установить гибкие сочленения.
Трубопровод воды
Для агрегатов, поставляемых вместе с установленным в системе испарителем (EWAD E-SS/SL) применяются
следующие инструкции; их также можно рассматривать как общие указания по трубопроводам воды,
поставляемым без испарителя (ERAD E-SS/SL), при применении в сочетании с хладагентом для испарителя
воды.
Трубопровод воды должен быть проведен с наименьшим количеством изгибов и вертикальных изменений
направления. В этом случае стоимость установки существенно снизится, а производительность системы
улучшится.
В гидравлической системе должны иметься следующие компоненты:
Антивибрационные опоры для сокращения передачи вибрации на нижние конструкции.
Разделяющие клапаны для изоляции агрегата от гидравлической системы на время технического обслуживания.
Устройство ручного или автоматического отбора воздуха в самой высокой точке системы. Устройство слива в
самой нижней точке системы. Не допускается установка испарителя и устройства теплоутилизации в самой
высокой точке системы.
Устройство, способное поддерживать гидравлическую систему под давлением (расширительный бак и др.).
Индикаторы температуры и давления воды на агрегате для облегчения ремонта и технического обслуживания .
Фильтр или устройство, способные удалять посторонние частицы из воды до того, как она поступит в насос (во
избежание кавитации обратитесь за рекомендациями по приобретению подходящего фильтра к производителю
насоса). Применение фильтра продлит срок службы насоса и поможет поддерживать гидравлическую систему в
наилучшем состоянии. Фильтр испарителя поставляется для EWAD E-SS/SL.
Еще один фильтр следует установить вблизи испарителя и блока теплоутилизации (если он установлен) на
трубе подвода воды. Фильтр не пускает твердые частицы в теплообменник, так как они могут повредить его или
уменьшить теплообмен.
Кожухотрубный теплообменник оснащен электронагревателем с термостатом, обеспечивающими защиту от
замерзания воды при температуре наружного воздуха – 25°C. Все другие гидравлические трубопроводы вне
агрегата должны быть защищены от замерзания.
Зимой из устройства теплоутилизации необходимо слить воду либо добавить в водяной контур смесь
этиленгликоля в надлежащей концентрации.
При установке нового агрегата на месте старого необходимо сначала опорожнить и очистить всю
гидравлическую систему. Перед запуском нового агрегата рекомендуется провести стандартные испытания и
надлежащую химическую обработку воды.
Содержание
- 2 Описание этикеток на электрической панели; Агрегат с 2÷4 вентиляторами
- 3 Содержание
- 6 ВНИМАНИЕ; Назначение настоящего руководства
- 7 Структура условного обозначения
- 17 Эксплуатационные ограничения; Хранение
- 19 Монтажные работы; Доставка; ПРЕДУПРЕЖДЕНИЕ
- 20 Перемещение и подъем
- 21 Минимальные требования к пространству
- 22 Защита от шума
- 23 Очистка воды
- 24 Защита испарителя и блоков теплоутилизации от замерзания
- 30 Проектирование трубопроводов хладагента
- 32 Установка датчиков жидкости в испарителе
- 33 Монтаж электрической системы; Общие характеристики
- 41 Проводка цепи управления; Электрические нагреватели; Управление водяным насосом – электропроводка
- 44 Эксплуатация; Обязанности оператора; Описание цикла охлаждения
- 50 Описание цикла охлаждения с теплоутилизацией
- 55 Процесс сжатия
- 57 Регулировка холодопроизводительности
- 58 Предпусковые проверки; Общие положения
- 59 Электропитание
- 60 Небаланс напряжения питания; Питание электрического нагревателя
- 61 Порядок запуска; Включение агрегата
- 62 Запуск после сезонного отключения
- 63 Техническое обслуживание системы
- 64 Смазка
- 65 Замена обезвоживающего фильтра
- 68 Порядок пополнения хладагента
- 70 Карта проверок; Измерения на стороне жидкости
- 71 Гарантия на обслуживание и ограниченная гарантия












