Кондиционеры Daikin EHVX-CB - инструкция пользователя по применению, эксплуатации и установке на русском языке. Мы надеемся, она поможет вам решить возникшие у вас вопросы при эксплуатации техники.
Если остались вопросы, задайте их в комментариях после инструкции.
"Загружаем инструкцию", означает, что нужно подождать пока файл загрузится и можно будет его читать онлайн. Некоторые инструкции очень большие и время их появления зависит от вашей скорости интернета.

Addendum book for optional equipment
13
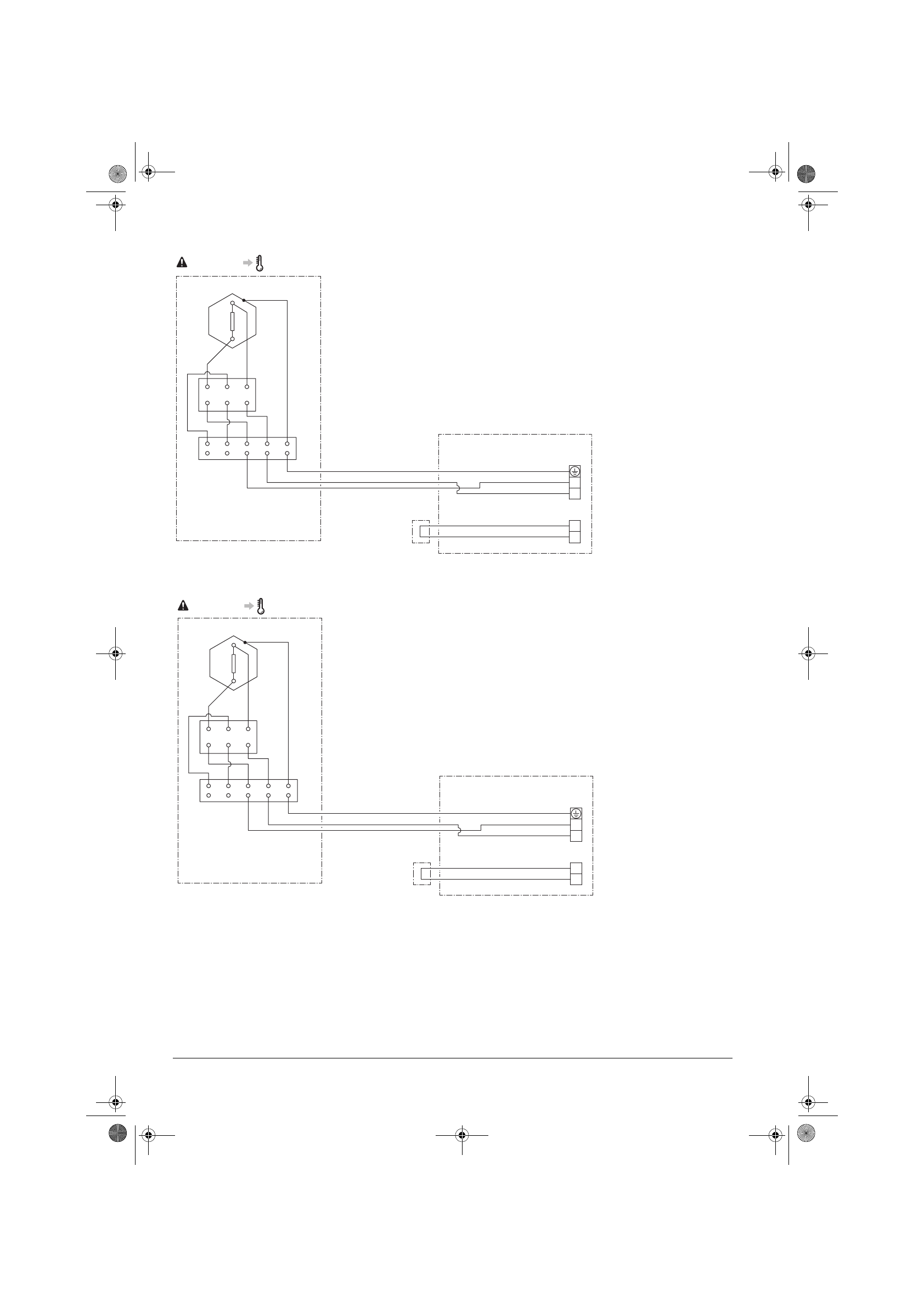
Unit + digital I/O PCB, demand PCB, wired room thermostat, wireless room thermostat, heat pump
convector, bottom plate heater, domestic hot water tank, remote indoor sensor
*HBH/X*C* + *HVH/X*C*
4P460382-1 – 2016.08
*KHWP* + *HYC*
1
2
X4M
X2M
13
14
*
KHWP
*
EKBH3S
*
HB
*
C
*
EKDVCPLT3/5H/X
K2
K1
STB
(
+
*
SRP
*
<70°C)
1
2
X4M
X2M
13
14
*
HYC
*
EHS/500/7
*
HB
*
C
*
EKDVCPLT3/5H/X
K2
K1
STB
(
+
*
RPS
*
<70°C)
4P460382-1.book Page 13 Friday, September 2, 2016 12:04 PM












