Кондиционеры Daikin BRP069A45 - инструкция пользователя по применению, эксплуатации и установке на русском языке. Мы надеемся, она поможет вам решить возникшие у вас вопросы при эксплуатации техники.
Если остались вопросы, задайте их в комментариях после инструкции.
"Загружаем инструкцию", означает, что нужно подождать пока файл загрузится и можно будет его читать онлайн. Некоторые инструкции очень большие и время их появления зависит от вашей скорости интернета.

Русский 7
Монтаж
Работы по
монтажу
1
Подготовьте кабель для соединения с внутренним
агрегатом адаптера для подключения к беспроводной
локальной сети.
■
BRP069A41
Подключение к системе HA
с помощью жгута проводов
(D) описано в руководстве по
монтажу кондиционера.
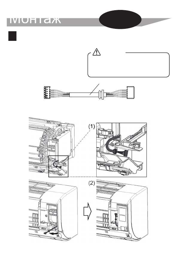
Установите жгут проводов, как показано (1), и прикрепите переднюю
решетку. Захватите и вытащите жгут проводов, затем установите
его, как показано (2), и прикрепите сервисную крышку.
Перед монтажом всегда выключайте электропитание.
(Прикосновение к электрическим компонентам может привести
к поражению электрическим током.) Главный выключатель
оборудования располагается на наружном агрегате.
Опасно!
Печатная
плата
Адаптер для
подключения к
беспроводной
локальной сети
Жгут проводов (D)
 
  
  
  
  
  
  
  
  
  
  
  
  
  
  
  
  
  
  
  
 











