Кондиционеры Ballu BSWI-24HN1 - инструкция пользователя по применению, эксплуатации и установке на русском языке. Мы надеемся, она поможет вам решить возникшие у вас вопросы при эксплуатации техники.
Если остались вопросы, задайте их в комментариях после инструкции.
"Загружаем инструкцию", означает, что нужно подождать пока файл загрузится и можно будет его читать онлайн. Некоторые инструкции очень большие и время их появления зависит от вашей скорости интернета.

9
Управление кондиционером
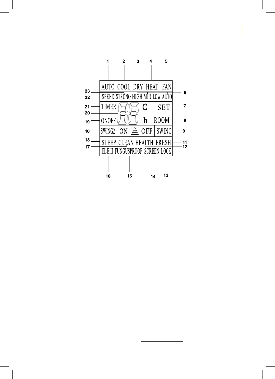
Панель индикации пульта дистанционного управления
1 AUTO – выбор Автоматического режима
работы;
2 COOL (ОХЛАЖДЕНИЕ);
3 DRY (ОСУШЕНИЕ);
4 HEAT (ОБОГРЕВ);
5 FAN (ВЕНТИЛЯЦИЯ);
6 HIGH, MID, LOW, AUTO – скорость враще-
ния вентилятора;
7 SET – заданная (установленная температу-
ра в помещении);
8 ROOM – желаемая температура в помещении
9 SWING – индикация направления воздуш-
ного потока по вертикали;
10 SWING2* – индикация направления воз-
душного потока по горизонтали;
11 FRESH – в данной серии не используется
12 HEALTH – в данной серии не используется
13 LOCK (БЛОКИРОВКА КНОПОК) – в данной
серии не используется
14 SCREEN – подсветка дисплея на внутрен-
нем блоке;
15 FUNGUSPROOF – индикация режима авто-
матической просушки внутреннего блока;
16 ELE.H – в данной серии не используется
17 CLEAN – индикатор функции самоочистки
внутреннего блока;
18 SLEEP (НОЧНОЙ РЕЖИМ) – индикатор
ночного режима работы
19 ON OFF – индикация включения/выключе-
ния кондиционера
20 Заданная температура
21 TIMER – включение таймера
22 SPEED – индикатор скорости вращения
вентилятора.
23 STRONG – индикатор интенсивного режима
работы.
* В данной серии не используется
Содержание
- 2 Гарантийный талон; RoHS
- 3 Содержание; Используемые обозначения
- 5 Устройство кондиционера; Пульт ДУ
- 6 Управление кондиционером; Панель индикации внутреннего блока
- 7 Кнопка; ПРИМЕЧАНИЕ; КНОПКА НАСТРОЙКИ ТЕМПЕРАТУРЫ
- 10 Панель индикации пульта дистанционного управления
- 11 Основные функции управления; не; Дополнительные функции управления
- 12 Замена батареек в пульте управления; • Замените батарейки, если ЖК дисплей пульта ДУ; Порядок управления
- 13 Управление кондиционером без пульта ДУ; Ес ли вы; Уход и обслуживание; Чистка передней панели
- 14 Блок внутренней установки; Технические характеристики
- 15 ОБОГРЕВ; Чрезмерный шум
- 16 Устранение неисправностей; Если; Устравнение неисправностей; Неисправность
- 17 ООО; Сертификация продукции
- 18 ГАРАНТИЙНЫЙ ТАЛОН; Вним
- 19 Настоящая гарантия не распространяется на:
- 20 Памятка по уходу за кондиционером
- 21 бл
- 22 сохраняется у клиента; УНИВЕРСАЛЬНЫЙ ОТРЫВНОЙ ТАЛОН; на гарантийное обслуживание













