Кондиционеры Ballu BSWI-09HN1_15Y - инструкция пользователя по применению, эксплуатации и установке на русском языке. Мы надеемся, она поможет вам решить возникшие у вас вопросы при эксплуатации техники.
Если остались вопросы, задайте их в комментариях после инструкции.
"Загружаем инструкцию", означает, что нужно подождать пока файл загрузится и можно будет его читать онлайн. Некоторые инструкции очень большие и время их появления зависит от вашей скорости интернета.

9
Управление кондиционером
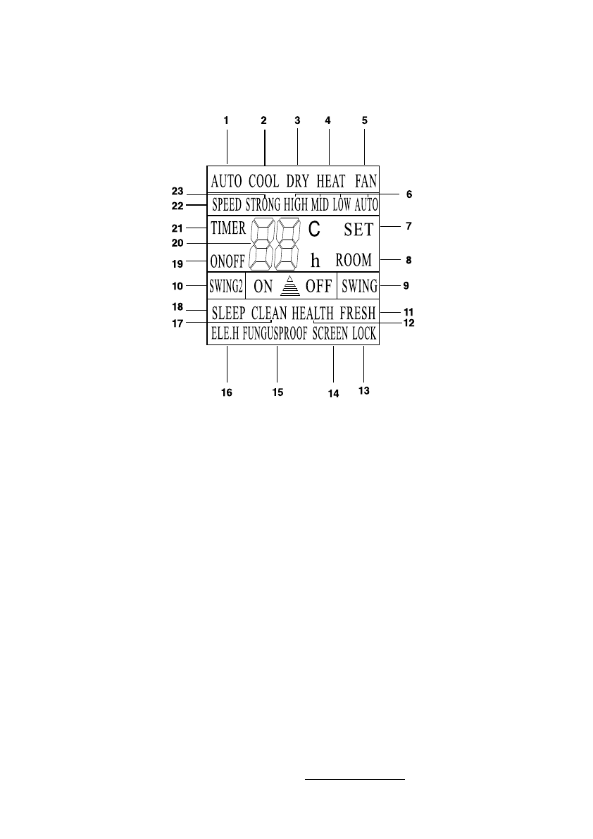
Панель индикации пульта дистанционного управления
1. AUTO – выбор автоматического режима
работы;
2. COOL(ОХЛАЖДЕНИЕ);
3. DRY(ОСУШЕНИЕ);
4. HEAT(ОБОГРЕВ);
5. FAN(ВЕНТИЛЯЦИЯ);
6. HIGH,MID,LOW,AUTO–скоростьвраще
ниявентилятора;
7. SET–заданная(установленнаятемперату
равпомещении);
8. ROOM–желаемаятемпературавпомещении;
9. SWING – индикация направления воздуш
ногопотокаповертикали;
10. SWING2* – индикация направления воз
душногопотокапогоризонтали;
11. FRESH–вданнойсериинеиспользуется;
12. HEALTH–вданнойсериинеиспользуется;
13. LOCK(БЛОКИРОВКАКНОПОК)–вданной
сериинеиспользуется;
14. SCREEN – подсветка дисплея на внутрен
немблоке;
15. FUNGUSPROOF–индикациярежимаавто
матическойпросушкивнутреннегоблока;
16. ELE.H–вданнойсериинеиспользуется;
17. CLEAN – индикатор функции самоочистки
внутреннегоблока;
18. SLEEP (НОЧНОЙ РЕЖИМ) – индикатор
ночногорежимаработы;
19. ONOFF–индикациявключения/выключе
ниякондиционера;
20. Заданнаятемпература;
21. TIMER–включениетаймера;
22. SPEED – индикатор скорости вращения
вентилятора;
23. STRONG–индикаторинтенсивногорежима
работы.
* В данной серии не используется
Содержание
- 4 Устройство кондиционера; ПультДУ
- 5 Управление кондиционером; Панель индикации внутреннего блока
- 6 Кнопка; ПРИМЕЧАНИЕ; КНОПКА НАСТРОЙКИ ТЕМПЕРАТУРЫ
- 9 Панель индикации пульта дистанционного управления
- 10 не; Дополнительные функции управления
- 11 • Замените батарейки, если ЖК дисплей пульта ДУ; Порядок управления
- 12 Управление кондиционером без пульта ДУ; Уход и обслуживание; Чистка передней панели
- 13 Технические характеристики; Блок внутренней установки; Холодопроизводительность, BTU; Техническиехарактеристики
- 14 ОБОГРЕВ; Чрезмерный шум; Предварительный нагрев.
- 15 Устранение неисправностей; Устравнениенеисправностей; Неисправность
- 16 Сертификация продукции; Товар соответствует требованиям:; Сертификацияпродукции; RoHS
- 17 Примечание; (время,число,месяцигод)
- 19 ГАРАНТИЙНЫЙ ТАЛОН; Тщательнопроверьтевнешнийвидизделияиего; ТИП; Остальныеизделия
- 22 Памятка по уходу за кондиционером
- 23 сохраняется у клиента; УНИВЕРСАЛЬНЫЙ ОТРЫВНОЙ ТАЛОН; на гарантийное обслуживание