Кондиционеры Ballu BSWI-07HN1/EP/15Y - инструкция пользователя по применению, эксплуатации и установке на русском языке. Мы надеемся, она поможет вам решить возникшие у вас вопросы при эксплуатации техники.
Если остались вопросы, задайте их в комментариях после инструкции.
"Загружаем инструкцию", означает, что нужно подождать пока файл загрузится и можно будет его читать онлайн. Некоторые инструкции очень большие и время их появления зависит от вашей скорости интернета.

Управление кондиционером
8
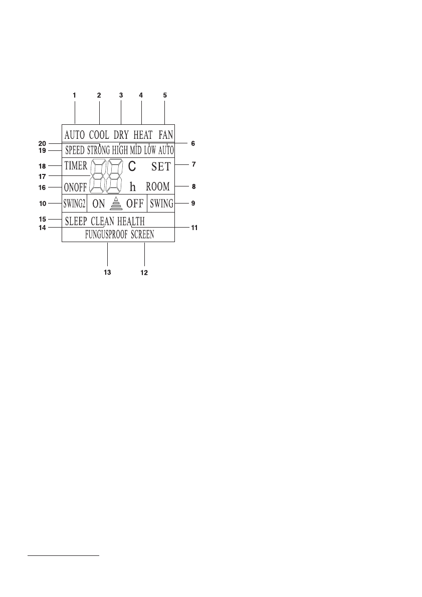
Панель индикации пульта дистанционного
управления
1. AUTO – автоматический режим работы;
2. COOL – режим охлаждения;
3. DRY – режим осушения;
4. HEAT – режим обогрева;
5. FAN – режим вентиляции;
6. HIGH, MID, LOW, AUTO – скорость враще-
ния вентилятора;
7. SET – заданная температура;
8. ROOM – температура в помещении;
9. SWING – индикация работы горизонталь-
ных жалюзи;
10. SWING2 – индикация работы вертикальных
жалюзи;
11. HEALTH – в данной серии не используется;
12. SCREEN – отображение дисплея на вну-
треннем блоке;
13. FUNGUSPROOF – индикация режима авто-
матической просушки внутреннего блока;
14. CLEAN – индикатор функции самоочистки
внутреннего блока;
15. SLEEP – индикатор ночного режима работы;
16. ON OFF – индикация включения/выключе-
ния кондиционера;
17. Заданная температура или температура в
помещении;
18. TIMER – индикатор работы таймера;
19. SPEED – индикатор скорости вращения
вентилятора;
20. STRONG – индикатор интенсивного режима
работы.
Порядок работы кондиционера в различ-
ных режимах
• В режиме охлаждения или нагрева кондици-
онер поддерживает заданную температуру
с точностью ±1 °С.
Если заданная температура в режиме ох-
лаждения выше температуры окружающего
воздуха более чем на 1 °С – кондиционер бу-
дет работать в режиме вентиляции.
• Если заданная температура в режиме на-
грева ниже температуры окружающего воз-
духа более чем на 1 °С – кондиционер будет
работать в режиме вентиляции.
В режиме AUTO температура не регулиру-
ется вручную, кондиционер автоматически
поддерживает комфортную температуру
25±2 °С. Если температура плюс 20 °С кон-
диционер автоматически начнет работу в
режиме нагрева. При температуре плюс
26 °С кондиционер включится в режим ох-
лаждения.
• В режиме осушения (DRY) кондиционер
поддерживает заданную температуру с точ-
ностью ±2 °С. Если при включении кондици-
онера температура в помещении выше за-
данной более чем на 2 °С, то кондиционер
будет работать в режиме охлаждения.
• При достижении температуры ниже задан-
ной более чем на 2 °С компрессор и венти-
лятор наружного блока прекращают работу,
вентилятор внутреннего блока вращается с
низкой скоростью.
• В режиме SLEEP* при работе на охлаждение
после первого часа работы заданная темпе-
ратура автоматически повышается на 1 °С,
после второго – еще на 1 °С.
Далее заданная температура остается без
изменения.
• В режиме SLEEP* при работе на нагрев по-
сле первого часа работы заданная темпе-
ратура автоматически понижается на 2 °С,
после второго – еще на 2 °С.
Далее заданная температура остается без
изменения.
Основные функции управления
• Для включения/выключения прибора на-
жмите кнопку ON/OFF.
* Через 7 часов с момента активации функции SLEEP конди-
ционер автоматически отключается
Содержание
- 2 Используемые обозначения; ПРИ МЕ ЧА НИЕ; Содержание
- 4 Устройство кондиционера; – Горизонтальные жалюзи.
- 5 ПРИМЕЧАНИЕ; Кнопка; Управление кондиционером; Панель индикации внутреннего блока
- 6 SPEED (ВЫБОР СКОРОСТИ ВРАЩЕНИЯ; SCREEN (ПОДСВЕТКА ДИСПЛЕЯ НА
- 10 Управление кондиционером без пульта ДУ; Уход и обслуживание; Чистка передней панели
- 11 Технические характеристики; Блок внутренней
- 12 Устранение неисправностей; Неисправность; Эффекты, не связанные с нарушением
- 14 ОБОГРЕВ; Чрезмерный шум; Предварительный нагрев.
- 15 Сертификация продукции; Товар сертифицирован на территории; RoHS; Импортер в РФ и уполномоченная; Приборы и аксессуары можно приобрести
- 16 Примечание; (время, число, месяц и год); к тестовому запуску; исправной. Устройства защиты срабатывают своевременно.; ФИО монтажника /подпись/; Работы принял. Претензий не имею; ФИО заказчика /подпись/
- 18 ГАРАНТИЙНЫЙ ТАЛОН; ТИП
- 22 сохраняется у клиента; на гарантийное обслуживание