Кондиционеры Ballu BPM99-12HN - инструкция пользователя по применению, эксплуатации и установке на русском языке. Мы надеемся, она поможет вам решить возникшие у вас вопросы при эксплуатации техники.
Если остались вопросы, задайте их в комментариях после инструкции.
"Загружаем инструкцию", означает, что нужно подождать пока файл загрузится и можно будет его читать онлайн. Некоторые инструкции очень большие и время их появления зависит от вашей скорости интернета.

10
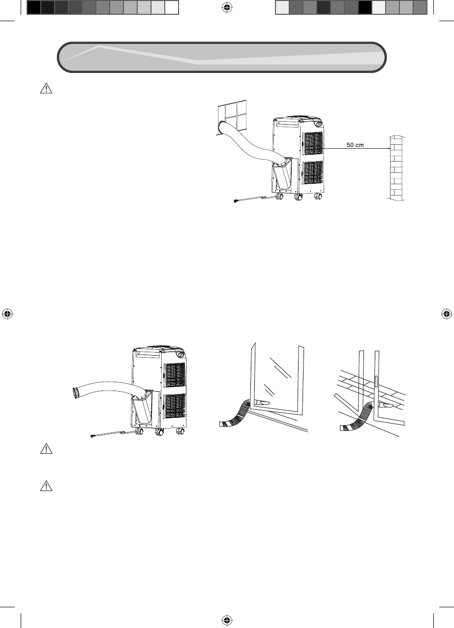
МОНТАЖ
ВНИМАНИЕ!
Для установки кондиционера выбе-
рите ровное и просторное место.
Убедитесь, что обеспечивается сво-
бодный доступ воздуха к агрегату.
Расстояние от кондиционера до стен
и других предметов должно быть не
менее 50 см. Запрещается исполь-
зовать кондиционер в помещениях
с высокой влажностью (прачечных,
ванных комнатах и т.п.). При уста-
новке прибора обеспечьте свободный доступ к розетке сети электропитания.
Электромонтаж кондиционера следует выполнять в соответствии с Правилами уст-
ройства электроустановок (ПУЭ) и местными нормативными документами.
МОНТАЖ ШЛАНГА ВЫБРОСНОГО ВОЗДУХА
1.
Присоедините один конец шланга к отверстию для выброса воздуха и закрепите
сначала левую, а затем правую сторону раструба. Нажмите на раструб и убедитесь,
что шланг закреплен надежно.
2.
Установите патрубок в ближайшем окне.
ВНИМАНИЕ!
Не допускайте слишком сильного изгиба шланга.
ВНИМАНИЕ!
1.
Прежде чем приступить к чистке кондиционера, выньте вилку из розетки.
2.
При чистке кондиционера не пользуйтесь бензином, растворителями и другими хи-
мически активными средствами.
3.
Во избежание поражения электрическим током и повреждения электрических ком-
понентов не лейте на кондиционер воду из крана или шланга.
4.
Не эксплуатируйте кондиционер при поврежденном кабеле электропитания. По воп-
росу замены поврежденного кабеля обращайтесь в сервисный центр.