Компрессоры Бежецк АСО К-22 2552 - инструкция пользователя по применению, эксплуатации и установке на русском языке. Мы надеемся, она поможет вам решить возникшие у вас вопросы при эксплуатации техники.
Если остались вопросы, задайте их в комментариях после инструкции.
"Загружаем инструкцию", означает, что нужно подождать пока файл загрузится и можно будет его читать онлайн. Некоторые инструкции очень большие и время их появления зависит от вашей скорости интернета.

22.
СВЕДЕНИЯ
О
ДРАГОЦЕННЫХ
МАТЕРИАЛАХ
И
ЦВЕТНЫХ
МЕТАЛЛАХ
22.1
Содержание
драгоценных
материалов
и
цветных
металлов
представлено
в
таблице
13.
Таблица
13
Наименование
материала
Модель
установки
Алюми
-
ний
и
его
сплавы
,
кг
Медь
,
кг
Латунь
,
кг
Брон
-
за
,
кг
Сереб
-
ро
,
кг
К
-2,
КВ
-15
6,82
4,12
0,037
0,033
0,009
К
-22
7,8
4,94
0,037
0,033
0,009
К
-20
15,45
9,76
0,037
0,033
0,018
К
-30
13,49
8,54
0,037
0,033
0,018
К
-6,
К
-31
14,66
6,19
0,037
0,033
0,009
К
-3
28,85
6,64
0,037
0,033
0,018
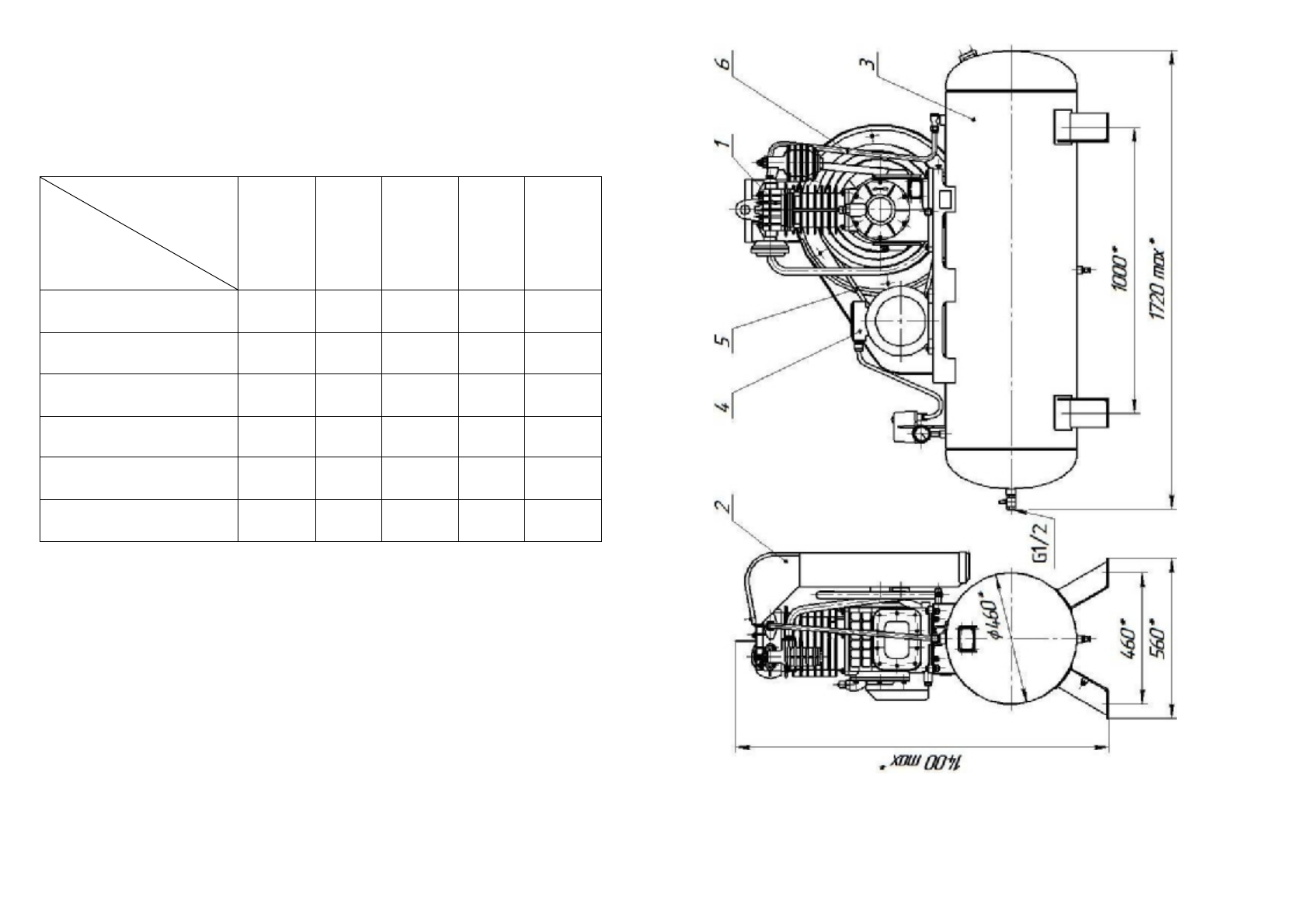
38
43
Р
ис
. 5
Ус
та
н
ов
ка
к
ом
пр
есс
орн
ая
,
мо
де
ль
К
-22
:
1
-
голо
вка
ко
м
пр
есс
ор
ная
; 2
-
огр
ажд
ение
; 3
-
ре
си
вер
; 4
-
дв
иг
ат
ель
; 5
-
рем
ни
пр
ив
од
ные
;
6
-
трубо
про
вод
.











