Компрессоры ABAC MICRON 1113-500 - инструкция пользователя по применению, эксплуатации и установке на русском языке. Мы надеемся, она поможет вам решить возникшие у вас вопросы при эксплуатации техники.
Если остались вопросы, задайте их в комментариях после инструкции.
"Загружаем инструкцию", означает, что нужно подождать пока файл загрузится и можно будет его читать онлайн. Некоторые инструкции очень большие и время их появления зависит от вашей скорости интернета.

34 -
Издание
08/2011
Код
. 2200780040 00 -
26.1
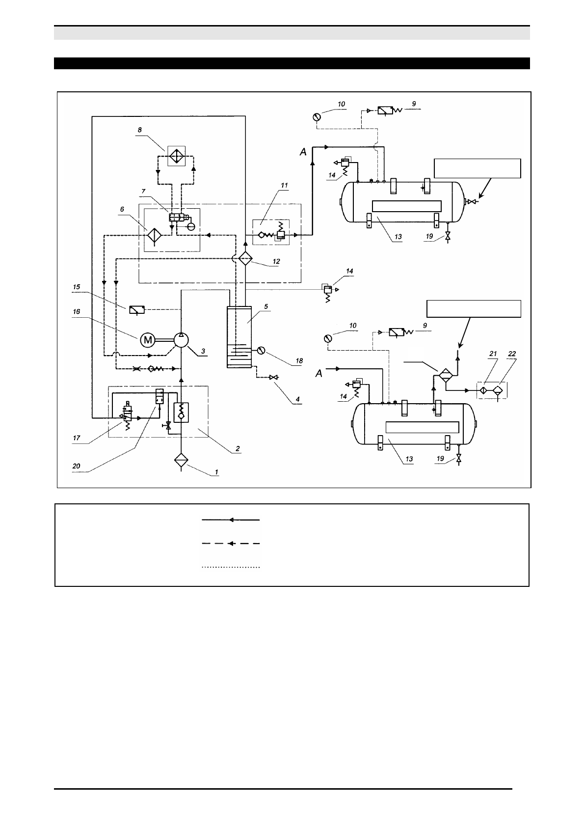
СХЕМА
ПОТОКОВ
МАСЛА
И
ВОЗДУХА
(
Л
.
С
.
10-15-20 /
кВт
7,5-11-15)
1
ВСАСЫВАЮЩИЙ
ВОЗДУШНЫЙ
ФИЛЬТР
13
ВОЗДУШНЫЙ
РЕСИВЕР
2
РЕГУЛЯТОР
ВСАСЫВАНИЯ
14
ПРЕДОХРАНИТЕЛЬНЫЙ
КЛАПАН
3
ВИНТОВОЙ
КОМПРЕССОР
15
БЕЗОПАСНАЯ
ТЕМПЕРАТУРА
МАСЛА
4
КЛАПАН
ВЫПУСКА
МАСЛА
16
ЭЛЕКТРОДВИГАТЕЛЬ
5
МАСЛЯНЫЙ
КОЛЛЕКТОР
17
ЭЛЕКТРОМАГНИТНЫЙ
КЛАПАН
РАБОТЫ
БЕЗ
НАГРУЗКИ
6
МАСЛЯНЫЙ
ФИЛЬТР
18
УРОВЕНЬ
МАСЛА
7
ТЕРМОСТАТИЧЕСКИЙ
КЛАПАН
19
КЛАПАН
СБРОСА
КОНДЕНСАТА
8
ВОЗДУШНО
-
МАСЛЯНЫЙ
ОХЛАДИТЕЛЬ
20
ВЫПУСКНОЙ
ЭЛЕКТРОМАГНИТНЫЙ
КЛАПАН
9
РЕЛЕ
ДАВЛЕНИЯ
ВОЗДУХА
21
ОТДЕЛИТЕЛЬ
ПРИМЕСЕЙ
10
ВОЗДУШНЫЙ
МАНОМЕТР
22
ЭЛЕКТРОМАГНИТНЫЙ
КЛАПАН
СБРОСА
КОНДЕНСАТА
11
КЛАПАН
МИНИМАЛЬНОГО
ДАВЛЕНИЯ
23
ОСУШИТЕЛЕМ
12
ВОЗДУШНО
-
МАСЛЯНЫЙ
СЕПАРАТОР
ВОЗДУШНЫЙ
КОНТУР
МАСЛЯНЫЙ
КОНТУР
КОНТУР
УПРАВЛЕНИЯ
БЕЗ
ОСУШИТЕЛЯ
С
ОСУШИТЕЛЕМ
СТАНДАРТНАЯ
ПРОИЗВОДИТЕЛЬНОСТЬ
СТАНДАРТНАЯ
ПРОИЗВОДИТЕЛЬНОСТЬ
23













