Кофеварка Polaris PCM 1522E Adore Cappuccino - инструкция пользователя по применению, эксплуатации и установке на русском языке. Мы надеемся, она поможет вам решить возникшие у вас вопросы при эксплуатации техники.
Если остались вопросы, задайте их в комментариях после инструкции.
"Загружаем инструкцию", означает, что нужно подождать пока файл загрузится и можно будет его читать онлайн. Некоторые инструкции очень большие и время их появления зависит от вашей скорости интернета.

10
11
заполняйте резервуар для воды другими жидкостями, не насыпайте в резервуар кофе.
•
Не используйте кофеварку для приготовления напитков из чая или цикория.
•
Во избежание засорения фильтра никогда не добавляйте к молотому кофе другие продукты,
например, сахар.
•
Для приготовления напитка из молотого кофе не допускается использование кофе самого
мелкого помола «extra fine» для заваривания в турке. Это может привести к засорению
фильтра. Очистка или замена засоренного фильтра не входит в гарантийное обслуживание
прибора.
•
В случае засорения фильтра запрещается прочищать его отверстия острыми металлическими
предметами.
•
Не заполняйте резервуар для воды выше отметки max и следите, чтобы уровень воды не
опускался ниже отметки min.
•
Никогда не заполняйте водой резервуар, установленный в кофеварку, для заполнения
резервуара вынимайте его наружу.
•
Никогда не включайте прибор без воды.
•
Не открывайте крышку резервуара для воды, не вынимайте резервуар и держатель фильтра
из корпуса во время работы кофеварки. Это может привести к ожогам.
•
Никогда не оставляйте кофеварку без внимания во время работы.
•
Ставьте прибор на ровную устойчивую поверхность как можно дальше от края стола/
рабочей поверхности.
•
Не оставляйте прибор при температуре окружающей среды менее 0 °С.
4. СФ Е РА И С П ОЛ Ь З О В А Н И Я
Прибор предназначен для бытового и аналогичного применения при температуре и влажности
бытового помещения в соответствии с данным руководством:
- в пунктах питания сотрудников магазинов, офисов, фермерских хозяйств и других
подразделений;
- потребителями гостиниц, отелей и других мест, предназначенных для проживания;
- в местах, предназначенных для ночлега и завтрака.
Прибор не предназначен для промышленного и коммерческого использования, а также для
обработки непищевых продуктов.
Производитель не несет ответственности за ущерб, возникший в результате неправильного или
непредусмотренного настоящим руководством использования.
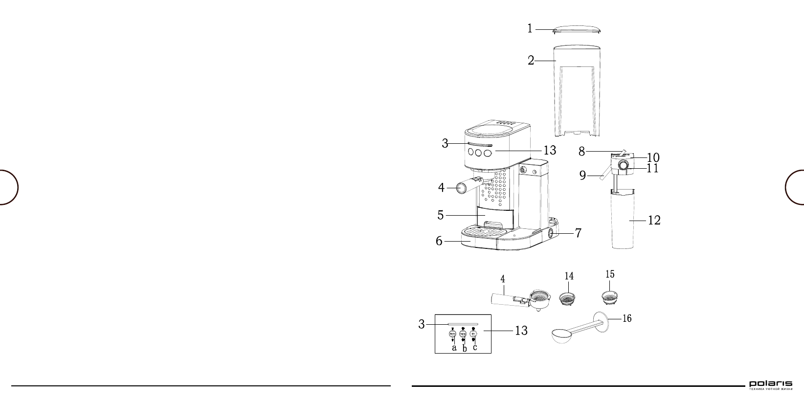
5. О П И СА Н И Е П Р И Б О РА
Кофеварка PCM 1522E Adore Cappuccino предназначена для приготовления кофе из
предварительно размолотых зёрен путём прохождения под давлением нагретой питьевой воды
через слой молотого кофе, находящегося в фильтре.
1. Крышка резервуара для воды
2. Съемный резервуар для воды
3. Синий индикатор
4. Держатель фильтра
5. Регулируемая платформа
6. Поддон для сбора капель
7. Кнопка включения/
выключения
8. Ручка парового рукава
9. Сопло парового рукава
10. Крышка резервуара для
молока
11. Регулятор молочной пены
12. Съемный резервуар для
молока
13. Панель управления
a. Кнопка «Espresso»
b. Кнопка «Cappuccino» /
Молоко
c. Кнопка «Latte» / Очистка
14. Съемный фильтр для молотого
кофе (одна порция)
15. Съемный фильтр для молотого
кофе (двойная порция)
16. Мерная ложка и уплотнитель
кофе