Кофемашина Saeco Aulika Phedra EVO - инструкция пользователя по применению, эксплуатации и установке на русском языке. Мы надеемся, она поможет вам решить возникшие у вас вопросы при эксплуатации техники.
Если остались вопросы, задайте их в комментариях после инструкции.
"Загружаем инструкцию", означает, что нужно подождать пока файл загрузится и можно будет его читать онлайн. Некоторые инструкции очень большие и время их появления зависит от вашей скорости интернета.

11
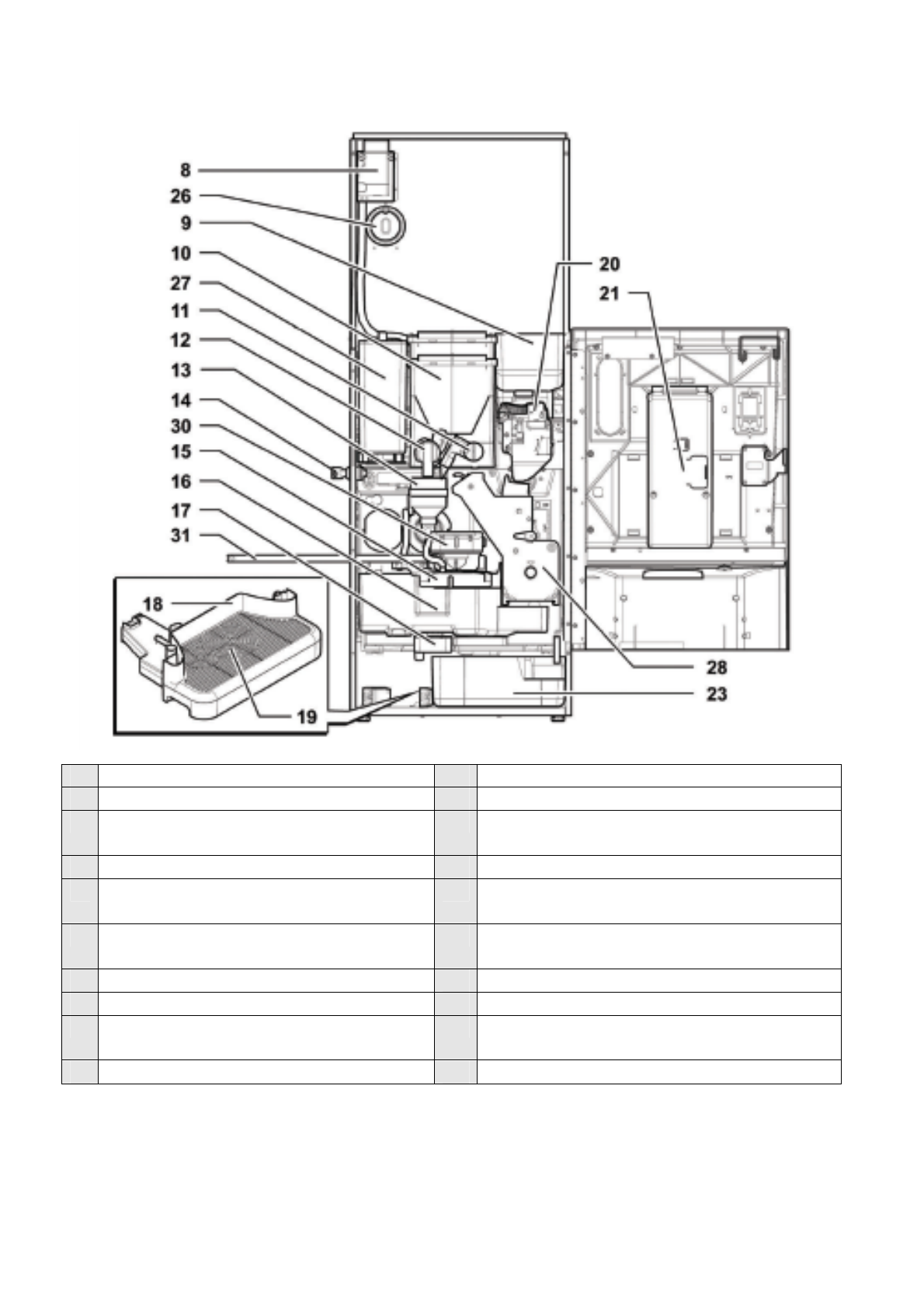
8 Выключатель безопасности
18 Поддон для сбора капель
9 Контейнер для кофейных зерен
19 Решетка
10 Контейнер 2/3 (растворимые
продукты)
20 Кофемолка
11 Регулятор помола
21 Плата Центрального Процессора
12 Диспенсер контейнера
растворимых продуктов
23 Контейнер для отходов
13 Миксер
26 Крышка воронки резервуара для
воды
14 Замок дверцы
27 Резервуар для воды
15 Рука выдачи
28 Кофейная группа Gusto
16 Выдвижной контейнер для
отработанного кофе
30 Капучинатор (устройство для
приготовления пенки)
17 Дренажное устройство
31 Трубка капучинатора
Характеристики
Остались вопросы?Не нашли свой ответ в руководстве или возникли другие проблемы? Задайте свой вопрос в форме ниже с подробным описанием вашей ситуации, чтобы другие люди и специалисты смогли дать на него ответ. Если вы знаете как решить проблему другого человека, пожалуйста, подскажите ему :)