Кофемашина Saeco Aulika Phedra EVO Espresso - инструкция пользователя по применению, эксплуатации и установке на русском языке. Мы надеемся, она поможет вам решить возникшие у вас вопросы при эксплуатации техники.
Если остались вопросы, задайте их в комментариях после инструкции.
"Загружаем инструкцию", означает, что нужно подождать пока файл загрузится и можно будет его читать онлайн. Некоторые инструкции очень большие и время их появления зависит от вашей скорости интернета.

3
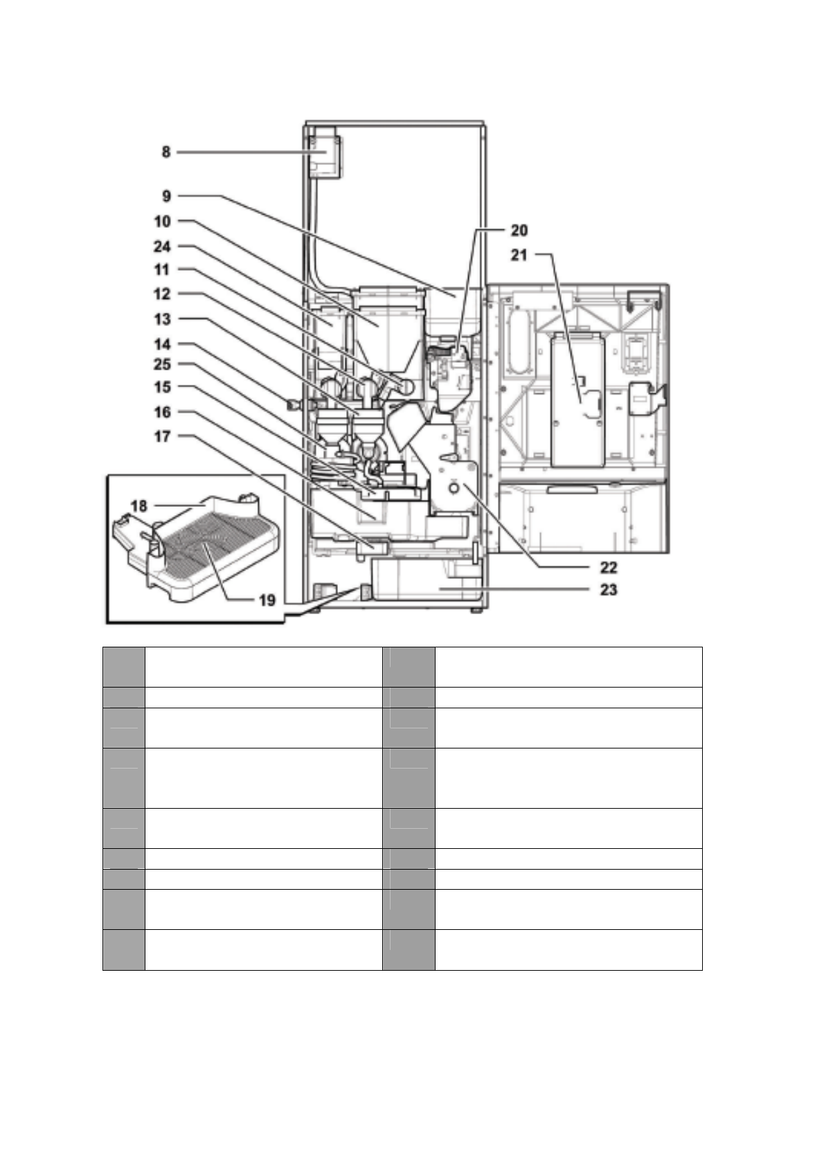
8
Выключатель
безопасности
17
Диспенсер
9
Контейнер для зерен кофе 18
Поддон для сбора капель
10
Контейнер 2/3
(растворимые продукты)
19
Решетка
11
Регулируемый диспенсер
для порошкообразных
продуктов
20
Кофемолка
12
Отверстие для
растворимых продуктов
21
Плата Центрального
Процессора
13
Миксер
22
Кофейная группа
14
Замок дверцы
23
Контейнер для отходов
15
Рука выдачи
24
Контейнер I (растворимые
продукты)
16
Выдвижной контейнер для
отработанного кофе
25
Спиральный миксер
Характеристики
Остались вопросы?Не нашли свой ответ в руководстве или возникли другие проблемы? Задайте свой вопрос в форме ниже с подробным описанием вашей ситуации, чтобы другие люди и специалисты смогли дать на него ответ. Если вы знаете как решить проблему другого человека, пожалуйста, подскажите ему :)