Кофемашина Philips Saeco Lirika - инструкция пользователя по применению, эксплуатации и установке на русском языке. Мы надеемся, она поможет вам решить возникшие у вас вопросы при эксплуатации техники.
Если остались вопросы, задайте их в комментариях после инструкции.
"Загружаем инструкцию", означает, что нужно подождать пока файл загрузится и можно будет его читать онлайн. Некоторые инструкции очень большие и время их появления зависит от вашей скорости интернета.

• 32 •
Установка машины – Инструкция наладчика
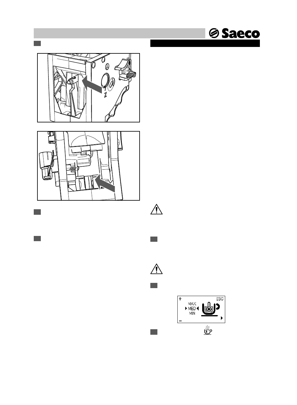
2
Смажьте также ось.
3
Установите заново блок приготовления кофе в специаль-
ное отделение до достижения соединения БЕЗ нажатия на
кнопку «PUSH».
4
Вставьте контейнер для сбора отходов и контейнер для
сбора капель. Закройте дверцу для обслуживания.
10.3 Удаление
накипи
Накипь находится в воде, используемой в ходе работы ма-
шины. Ее необходимо регулярно удалять, так как она может
засорять водяной контур и контур кофе вашего прибора.
Совершенная электроника выводит на дисплей машины (с
помощью понятных символов) информацию о необходимо-
сти удаления накипи. Достаточно следовать описанным ниже
указаниям.
Выполните эту операцию до того, как ваш прибор переста-
нет работать из-за несоблюдения требований технического
обслуживания.
Пользуйтесь только средством для удаления накипи Saeco.
Это средство было разработано специально для обеспечения
высокой эффективности и функциональных возможностей
машины в течение всего срока ее работы, а также во избе-
жание отклонений от заданных свойств приготовленного
напитка, если машина используется надлежащим образом.
Средство для удаления накипи и комплект «Maintenance Kit»
можно приобрести у вашего местного продавца или в авто-
ризованных сервисных центрах.
Внимание! Запрещается пить раствор для уда-
ления накипи и продукты, подаваемые маши-
ной до завершения цикла. Запрещается использовать
уксус в качестве средства для удаления накипи.
1
Включите машину с помощью кнопки ON/OFF. Подожди-
те, пока машина завершит процесс ополаскивания и подо-
грева.
Внимание! Снимите фильтр «Intenza» перед
вливанием раствора для удаления накипи.
2
Войдите в режим программирования машины, как опи-
сано в разделе 9.1.
ЖЕ
ЛТЫЙ
3
Нажимайте кнопку (20) «
», пока не появится следу-
ющее меню:
Характеристики
Остались вопросы?Не нашли свой ответ в руководстве или возникли другие проблемы? Задайте свой вопрос в форме ниже с подробным описанием вашей ситуации, чтобы другие люди и специалисты смогли дать на него ответ. Если вы знаете как решить проблему другого человека, пожалуйста, подскажите ему :)











