Кофемашина DeLonghi ECAM46.860.B - инструкция пользователя по применению, эксплуатации и установке на русском языке. Мы надеемся, она поможет вам решить возникшие у вас вопросы при эксплуатации техники.
Если остались вопросы, задайте их в комментариях после инструкции.
"Загружаем инструкцию", означает, что нужно подождать пока файл загрузится и можно будет его читать онлайн. Некоторые инструкции очень большие и время их появления зависит от вашей скорости интернета.

48
• Prima
(B11). No visor (B1) é exibido o valor atual-
mente configurado e pisca o valor “Novo”;
• Selecione o novo valor que deseja configurar com as setas
de deslocamento
(B3) ou
(B10);
• Após ter selecionado o valor desejado (15 min., 30 min., 1
hora, 2 ou 3 horas) prima
.
O aparelho volta à página anterior.
Poupança de energia:
Para desativar ou reativar o modo “Poupança de energia”, proce-
da da seguinte maneira:
• Prima
(B11). No visor (D5) é exibido quer o esta-
do atual (“Ativo” ou “Não ativo”), quer a operação que
será efetuada confirmando com
(“Desativar?” ou
“Ativar?”);
• Prima
para desativar ou ativar a função.
O aparelho volta à página anterior.
Nota:
• quando a função está ativa, no visor aparece o símbolo
“ECO”.
• No modo de poupança de energia a máquina requer alguns
segundos de espera antes de tirar o primeiro café ou a pri-
meira bebida com leite, porque se deve pré-aquecer.
• Se o recipiente de leite (D) estiver inserido, a função “pou-
pança de energia” não é eficaz.
Aviso acústico:
Com esta função ativa-se ou desativa-se o aviso acústico. Proce-
da da seguinte maneira:
• Prima
(B11). No visor (D5) é exibido quer o esta-
do atual (“Ativo” ou “Não ativo”), quer a operação que
será efetuada confirmando com
(“Desativar?” ou
“Ativar?”);
• Prima
para desativar ou ativar a função.
O aparelho volta à página anterior.
Bebidas de fábrica
Com esta função é possível repor as configurações de fábrica
para todas as bebidas ou para as bebidas individuais que foram
personalizadas.
• Prima
(B11). O visor (D5) exibe as bebidas que
foram personalizadas e o item “Todas”;
• Selecione “Todas” se desejar voltar à configuração de
aroma e quantidade conforme o padrão de fábrica de todas
as bebidas ou selecione a bebida desejada e, em seguida,
prima
;
• Para regressar aos valores de fábrica, prima
.
• O aparelho confirma a reposição e volta à página anterior.
Proceda à reposição de uma outra bebida ou prima
(B2)
para sair do menu.
Valores de 0fábrica:
Com esta função são repostas todas as configurações do apare-
lho e das bebidas (exceto o idioma que continua a ser o selecio-
nado ao ligar pela primeira vez).
4. Prima
(B11);
5. Prima
para repor todas as definições;
6. O aparelho confirma a reposição e volta à página anterior.
Prima
(B2) para sair do menu.
6.5 Estatísticas
Com esta função, são visualizados os dados estatísticos da má-
quina. Para os visualizar, proceda da seguinte maneira:
1. Prima
(B2) para entrar no menu;
2. Prima as setas de deslocamento
(B3) ou
(B10)até visualizar o item "Estatísticas";
3. Prima
(B11): o visor (D5) exibe os dados estatísticos
da máquina: percorra os itens com as setas de deslocamen-
to
ou
;
4. Prima assim
para sair.
Para voltar à página principal, prima novamente
.
7. PREPARAÇÃO DO CAFÉ
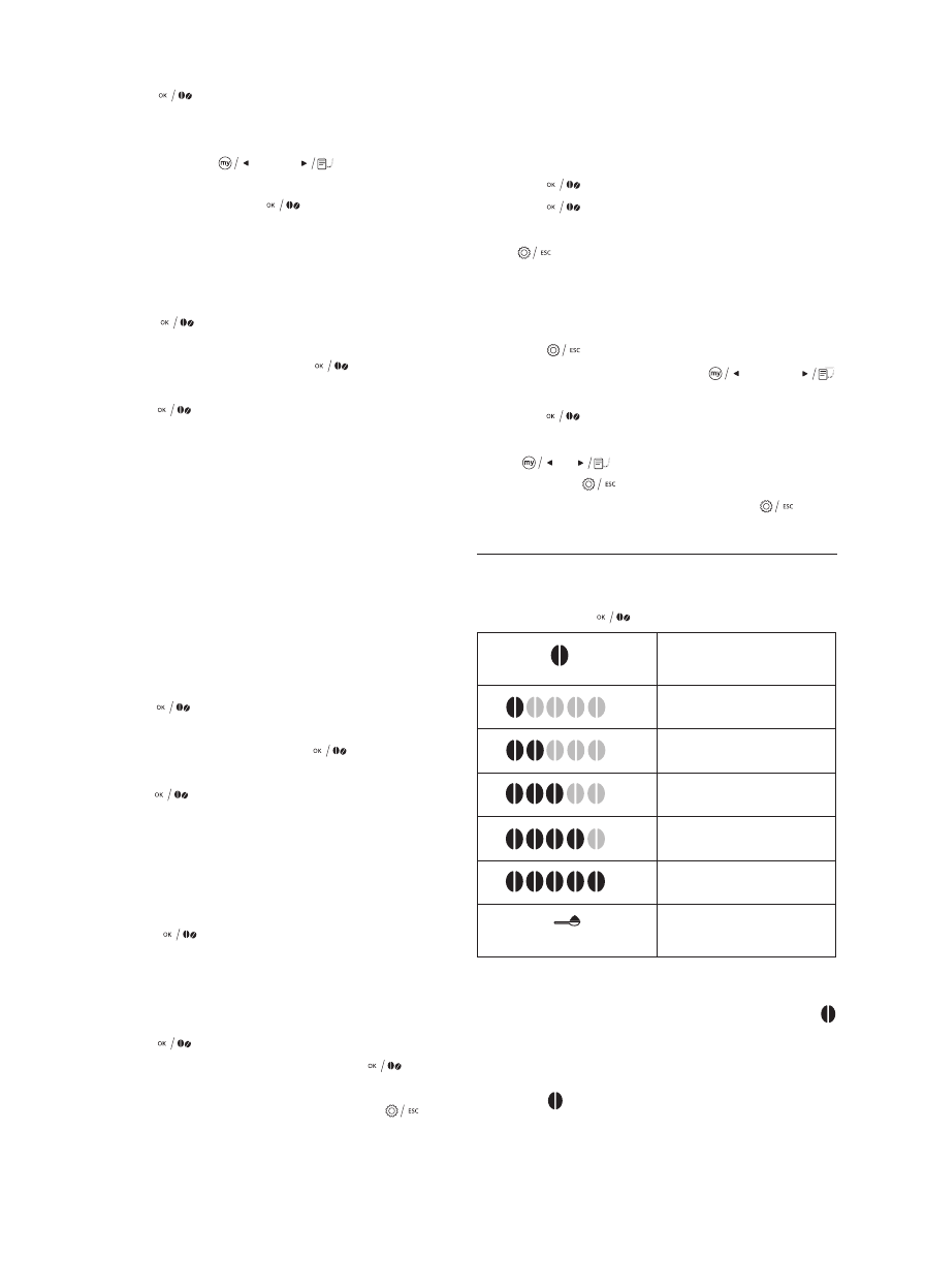
7.1 Variação temporária do aroma do café
Para personalizar temporariamente o aroma do café das receitas
automáticas, prima
(B11):
+
my
Pessoal (se programado) /
Padrão
+
EXTRA-SUAVE
+
SUAVE
+
MÉDIO
+
FORTE
+
EXTRA-FORTE
(veja "7.3 Preparação do café uti-
lizando o café pré-moído")
Nota:
• A variação de sabor não é guardada e na próxima tiragem
automática o aparelho seleciona o valor predefinido (
+
my).
• Se a tiragem não ocorrer após alguns segundos da perso-
nalização temporária do aroma, este volta ao valor prede-
finido (
+
my).
Характеристики
Остались вопросы?Не нашли свой ответ в руководстве или возникли другие проблемы? Задайте свой вопрос в форме ниже с подробным описанием вашей ситуации, чтобы другие люди и специалисты смогли дать на него ответ. Если вы знаете как решить проблему другого человека, пожалуйста, подскажите ему :)













