Калькуляторы Citizen SRP-325G - инструкция пользователя по применению, эксплуатации и установке на русском языке. Мы надеемся, она поможет вам решить возникшие у вас вопросы при эксплуатации техники.
Если остались вопросы, задайте их в комментариях после инструкции.
"Загружаем инструкцию", означает, что нужно подождать пока файл загрузится и можно будет его читать онлайн. Некоторые инструкции очень большие и время их появления зависит от вашей скорости интернета.

Ex – 31
File name : SG1-Example-13L.doc
vision : 03/10/19
使用圖上定位點的功能標示
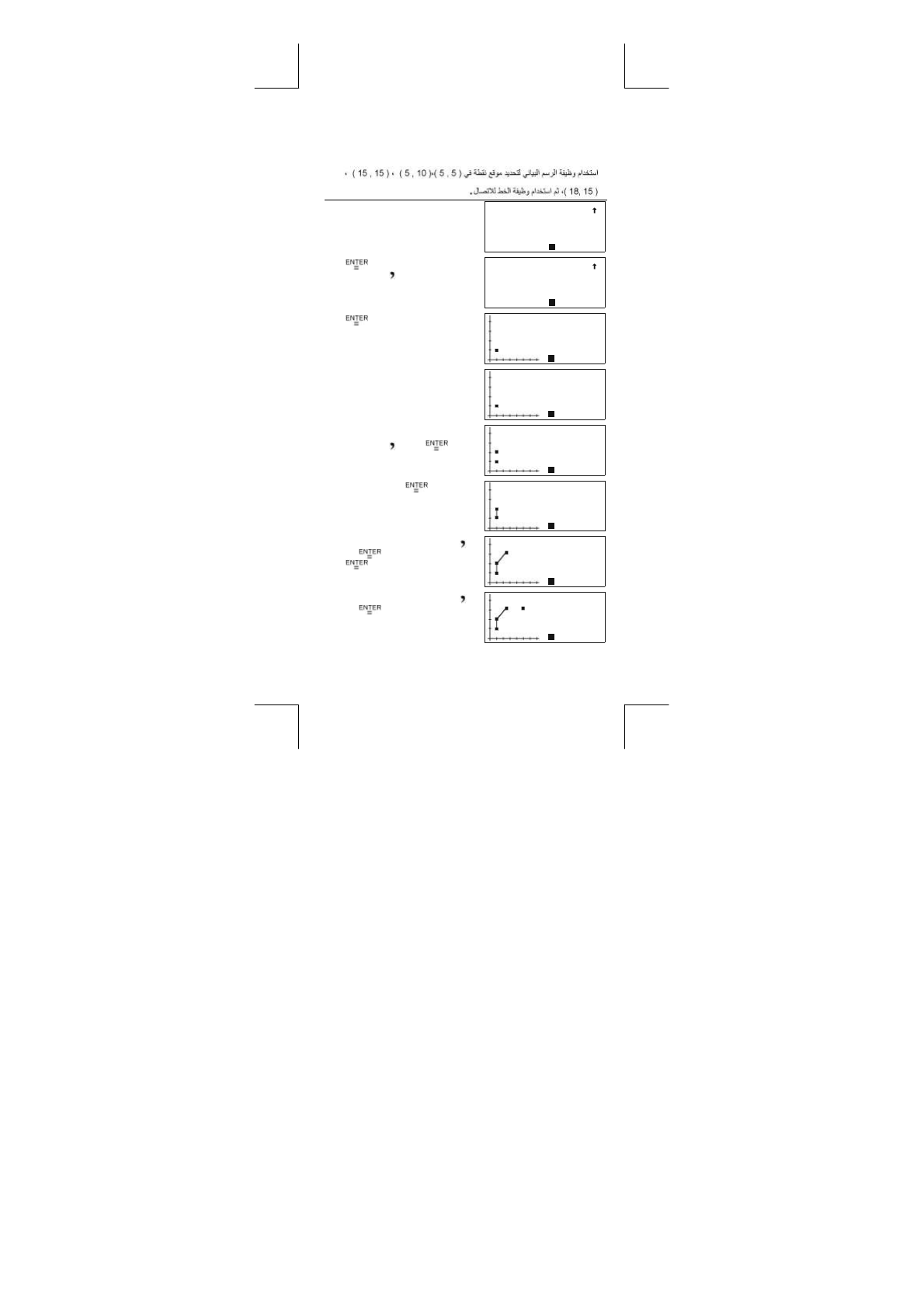
( 5 , 5 ), ( 5 , 10 ), ( 15 , 15 ), ( 18, 15 )
各點,並使用畫線功能連接
Gunakan fungsi Plot untuk mementukan kedudukan titik-titik pada
( 5 , 5 ), ( 5 , 10 ), ( 15 , 15 ), ( 18, 15 ), dan kemudian gunakan
fungsi Line untuk menghubungkan titik-titik itu.
[ Range ] 0 [ ] 35 [ ] 5 [ ] 0
[ ] 23 [ ] 5
Y s c l = 5
D
D
[
] [ 2nd ] [ Plot ] 5
[ ALPHA ] [ ] 5
P L O T ( 5
,
5
D
D
[
]
X =
5 . 1 4 7 0 5 8 8 2 4
D
D
[ 2nd ] [ X Y ]
Y =
5 . 2 2 7 2 7 2 7 2 7
D
D
[ 2nd ] [ X Y ] [ 2nd ] [ Plot ] 5
[ ALPHA ] [ ] 10 [
]
D
D
X =
5 . 1 4 7 0 5 8 8 2 4
[ 2nd ] [ Line ] [
]
D
D
[ 2nd ] [ Plot ] 15 [ ALPHA ] [ ]
15 [
] [ 2nd ] [ Line ]
[
]
D
D
[ 2nd ] [ Plot ] 18 [ ALPHA ] [ ]
15 [
] [ ] [ ] [ ] [ ]
[ ] [ ] [ ] [ ]
X =
2 5 . 7 3 5 2 9 4 1 2
D
D