Калькуляторы Citizen SRP-145N - инструкция пользователя по применению, эксплуатации и установке на русском языке. Мы надеемся, она поможет вам решить возникшие у вас вопросы при эксплуатации техники.
Если остались вопросы, задайте их в комментариях после инструкции.
"Загружаем инструкцию", означает, что нужно подождать пока файл загрузится и можно будет его читать онлайн. Некоторые инструкции очень большие и время их появления зависит от вашей скорости интернета.

SRP-145N_German_SR135A_090330.doc SIZE: 140x75mm
SCALE 1:1 2009/3/30
-G12-
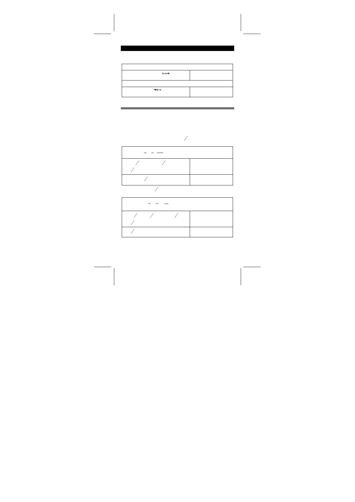
FUNKTIONSBERECHNUNGEN
Dezimal
↔
Sexagesimalberechnungen
(Beispiel) : 12
∘
45’
30” = 12.75833333
12 [
‧
] 4530 [ 2ndF ] [
]
DEG
12.75833333
(Beispiel) : 2.12345 = 2
∘
7’ 24.42”
2.12345 [ 2ndF ] [
]
DEG
2.072442
Bevor Sie die folgenden Rechenoperationen durchführen, sollten Sie
sicherstellen, dass sich der Taschenrechner auf die Bildschirmanzeige
mit 2 Dezimalstellen eingestellt ist.
Berechnung von Brüchen
•
Das Drücken der Tasten [ 2ndF ] [
e
d
→
],verwandelt den
angezeigten Wert in einen inkorrekten Bruch.
(Beispiel) :
15
124
5
3
7
3
2
=
+
2 [
c
b
a
] 3 [ + ] 7 [
c
b
a
] 3
[
c
b
a
] 5 [ = ]
DEG
8
∪
4
┘
15
[ 2ndF ] [
e
d
→
]
DEG
124
┘
15
•
Wird die Taste [
c
b
a
] nach der Taste [ = ] oder einem Bruch als
Dezimalzahl gedrückt, so ist das Ergebnis auch eine Dezimalzahl.
(Beispiel) :
9.19
16
7
9
4
3
3
9
4
5
=
=
+
5 [
c
b
a
] 4 [
c
b
a
] 9 [ + ] 3 [
c
b
a
] 3
[
c
b
a
] 4 [ = ]
DEG
9
∪
7
┘
36
[
c
b
a
]
DEG
9.19