Калькуляторы Citizen SR-260N - инструкция пользователя по применению, эксплуатации и установке на русском языке. Мы надеемся, она поможет вам решить возникшие у вас вопросы при эксплуатации техники.
Если остались вопросы, задайте их в комментариях после инструкции.
"Загружаем инструкцию", означает, что нужно подождать пока файл загрузится и можно будет его читать онлайн. Некоторые инструкции очень большие и время их появления зависит от вашей скорости интернета.

SR-260N_Russian_090325.rtf SIZE: 135x75mm / SCALE 2:1 / 2009/3/25
R13
/
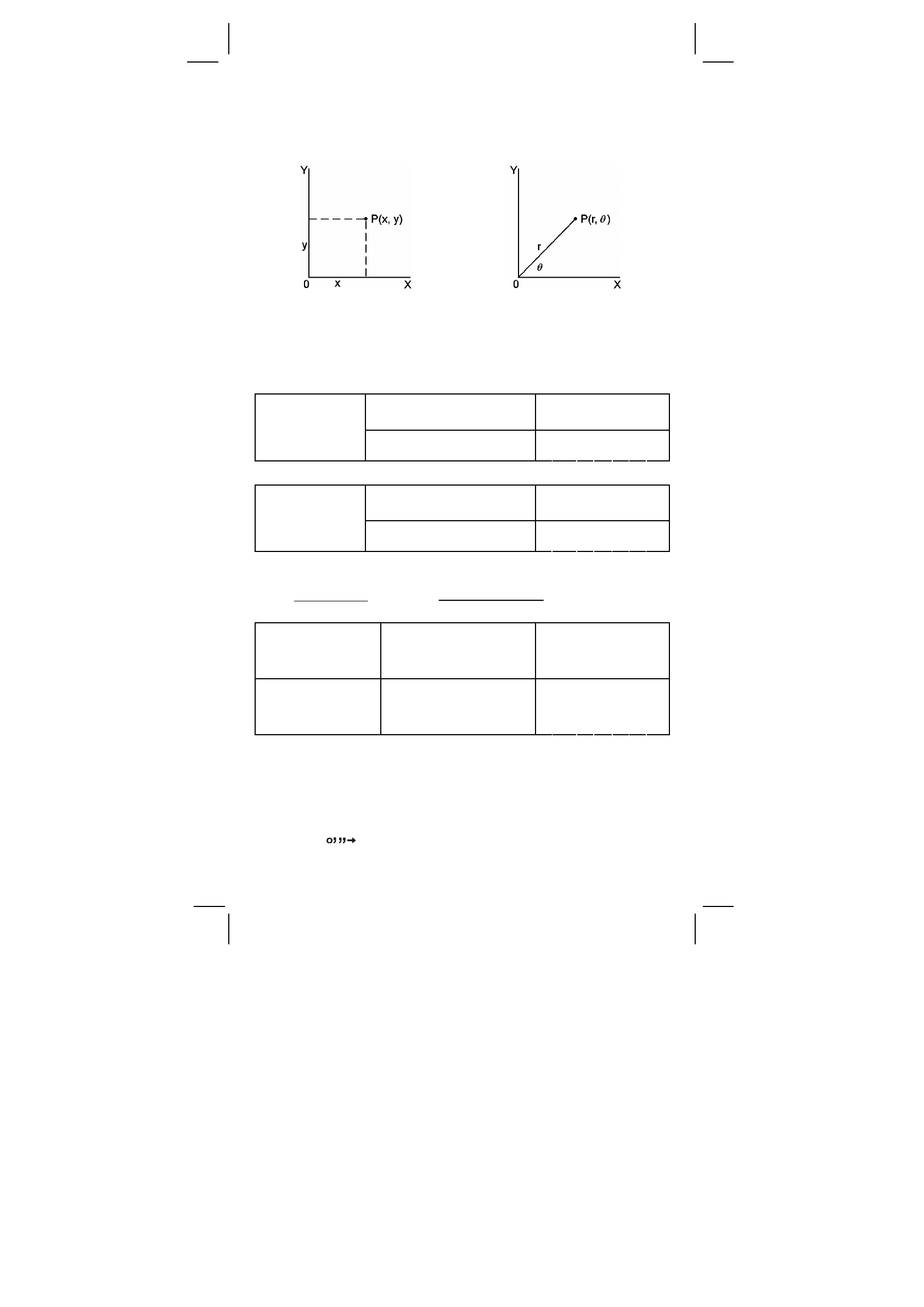
a + b i = r (cos
θ
+ i sin
θ
)
(
):
,
,
,
.
DEG
5 [ a ] 6 [ b ] [ 2ndF ]
[R
å
P]
7. 8 1
DEG
a =5 b
= 6,
r
θ
?
[ b ]
5 0. 1 9
DEG
25 [ a ] 56 [ b ] [ 2ndF ]
[P
å
R]
1 3. 9 8
DEG
r = 25
θ
= 56°,
a b?
[ b ]
2 0. 7 3
,
nPr =
!
)
(
!
r
n
n
−
nCr =
!
)
(
!
!
r
n
r
n
−
DEG
4
7
?
7 [ 2ndF ] [ nPr ] 4 [ = ]
8 4 0. 0 0
DEG
4
7
?
7 [ 2ndF ] [ nCr ] 4 [ = ]
3 5. 0 0
(
,
)
[
]