Измерительные приборы RGK CM-12 - инструкция пользователя по применению, эксплуатации и установке на русском языке. Мы надеемся, она поможет вам решить возникшие у вас вопросы при эксплуатации техники.
Если остались вопросы, задайте их в комментариях после инструкции.
"Загружаем инструкцию", означает, что нужно подождать пока файл загрузится и можно будет его читать онлайн. Некоторые инструкции очень большие и время их появления зависит от вашей скорости интернета.

9
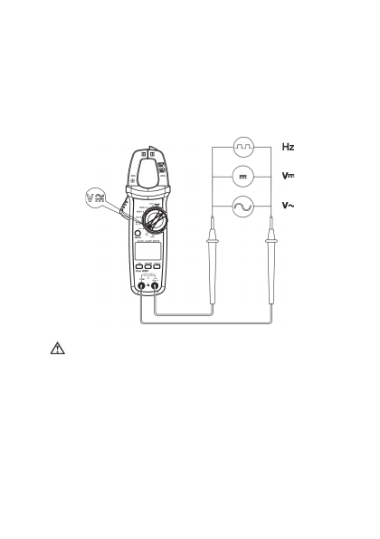
7.2. Измерение напряжения и частоты переменного/постоянного
тока
(см. рис. 3)
1) Выберите соответствующий режим измерения
2) Вставьте красный измерительный провод в гнездо «+», а чёрный в
гнездо «COM».
3) Подсоедините щупы измерительных проводов к тестируемому источ-
нику напряжения.
4) На дисплее отобразится измеренное значение.
Рис 3. Измерение напряжения и частоты тока
• Не измеряйте напряжение, превышающее 600 В. Это может привести
к повреждению прибора или поражению током.
• Соблюдайте технику безопасности, берегитесь поражения электриче-
ским током при измерении высокого напряжения.
• Следует учитывать, что входной импеданс прибора составляет около
10 МОм, поэтому нагрузка в цепях с высоким импедансом может
внести ошибку в результат измерения. В большинстве случаев этой
ошибкой можно пренебречь (0,1% или меньше), если импеданс цепи
не превышает 10 кОм.
• После завершения измерений отсоедините щуп от исследуемой цепи.
• Перед проведением измерений рекомендуется проверить работу
прибора, измерив уже известное напряжение.
Красный
Черный
Характеристики
Остались вопросы?Не нашли свой ответ в руководстве или возникли другие проблемы? Задайте свой вопрос в форме ниже с подробным описанием вашей ситуации, чтобы другие люди и специалисты смогли дать на него ответ. Если вы знаете как решить проблему другого человека, пожалуйста, подскажите ему :)













