Измерительные приборы Fluke 1735 - инструкция пользователя по применению, эксплуатации и установке на русском языке. Мы надеемся, она поможет вам решить возникшие у вас вопросы при эксплуатации техники.
Если остались вопросы, задайте их в комментариях после инструкции.
"Загружаем инструкцию", означает, что нужно подождать пока файл загрузится и можно будет его читать онлайн. Некоторые инструкции очень большие и время их появления зависит от вашей скорости интернета.

Power Logger
Ознакомление
с
прибором
13
Краткий
обзор
меню
Регистрация
Датчики тока
Трансформаторы напряжения
Подсветка
Версия и калибровка
Тип питания
Год
Английский
Немецкий
Французский
Португальский
Китайский
Месяц
День
Час
Минуты
Номинальное напряжение
Частота
Дата/Время
Язык
Электросеть
Установка
инструмента
Контрастность экрана
Просмотр
автоматически
созданных
снимков экрана
Просмотр и удаление
снимков экрана
Расположение памяти 10.10
Расположение памяти 01..06
Расположение памяти 11.20
Расположение памяти 21.30
Расположение памяти 31.40
Расположение памяти 41.50
Порог события
Среднее время
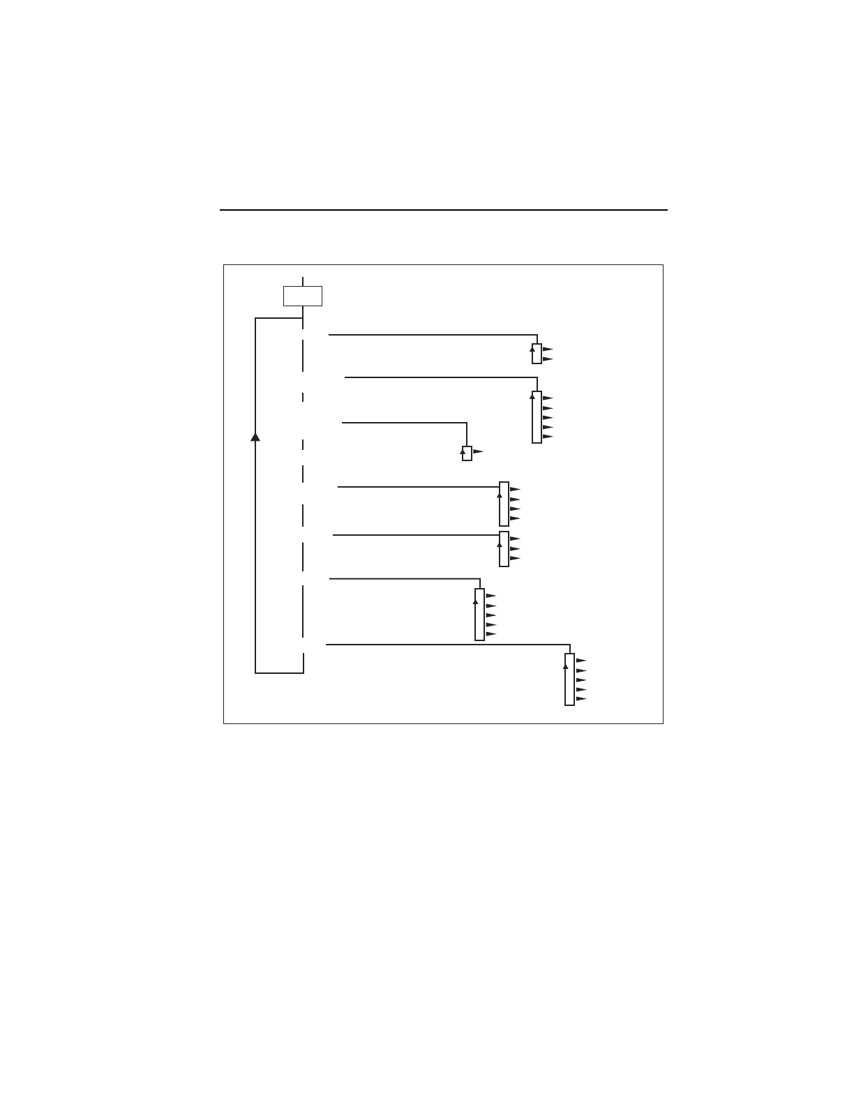
МЕНЮ
fgk007.eps
Рисунок
4.
Обзор
меню
Содержание
- 3 Содержание; Название
- 4 ii
- 5 продолжение; iii
- 7 Таблица
- 9 vii; Список; Рисунок
- 11 Введение; Контактная
- 12 Символы; CAT III
- 13 Инструкции; XW; Предупреждения
- 15 Стандартные
- 17 Датчики; Органы
- 18 Экранные
- 19 Описание
- 20 Использование
- 21 Соединения; Интерфейс; Установка; USB Driver Installation
- 22 Основные; Структура
- 23 Краткий
- 24 Зарядка
- 25 Конфигурация; Меню; Averaging
- 27 Просмотр; ENTER
- 32 Электросеть
- 33 Измерительные; Обзор
- 34 События; Подключение; Предупреждение; flexi
- 35 Зажимы
- 38 Сеть
- 39 Измерение
- 42 Вольты
- 43 Регистрация; Fluke Power Log
- 44 Esc
- 45 Мощность
- 46 Power Factor
- 47 RUN; Теория
- 48 Сохранить
- 49 Функция; View Auto Screenshots
- 52 Гармоники
- 53 Кнопка
- 55 Осциллограф
- 56 Программа; Запуск
- 57 Основная
- 59 Запись
- 62 Устройство
- 63 Battery Pack
- 64 Техническое; Чистка
- 65 Форма; arctan; Измерения
- 67 THD; factor; Технические
- 68 Электромагнитная; Безопасность
- 71 Точность
- 72 Разбалансировка; Одножильный; Замок
- 73 Приложение; Значения; Записанные